任何电子设备都离不开电子元器件的安装。对于初学者来说,掌握电子元器件的安装方法有着重要的意义。本文主要介绍安装电子元器件时需注意的事项。
1.电子元器件在安装前应将引脚擦除干净,最好用细砂布擦光,去除表面的氧化层,以便焊接时容易上锡。但引脚已有镀层的,视情况可以不擦。
2.根据元器件本身的安装方式,可采用立式或卧式安装,见图1。对于两种安装方式都可以采用的元器件,当工作频率不太多时,两种安装方式都可以采用;工作频率较高时,元器件最好采用卧式安装,并且引线尽可能短一些,以防产生高频寄生电容影响电路。

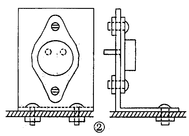
3.在安装较大、较重的元器件时,除可以焊接在电路板上外,最好再采用支架固定,这样才能更加牢固可靠。图2为较重元器件安装支架固定法示意图。图中把一大功率三极管用螺钉固定在角形的铝板上,然后再固定在安装板上。这样一是稳固,二是铝片能起到散热的作用。

4.安装各种电子元器件时,应将标注元器件型号和数值的一面朝上或朝外,以利于焊接和检修时查看元器件型号数据,这样能一目了然,见图3。

5.需要保留较长的元器件引线时,必须套上绝缘导管,以防元器件引脚相碰短路。
6.元器件的安装要美观。立式安装时,元器件要与电路板垂直,卧式安装时,要与电路板平行或贴服在电路板上。(贺哲荣)