利用光敏电阻受到光照时阻值变小使双稳态电路触发翻转的特性,可制成汽车前灯自动转换控制器。在夜间会车时,使远近射车灯自动转换,消除因对面车灯太亮引起的眩目感,防止发生事故,保证行车安全。

工作原理:图1中虚线框内部分为双稳态电路。RA、RB两只光敏电阻构成触发电路。当其中之一受到光照时,电阻值骤减,形成一个触发脉冲,使双稳态电路发生翻转。例如R\(_{A}\)受到光照时,VT1截止,其集电极电位升高,经直接耦合,使复合管VT4、VT6基极电位随之升高而饱和导通使VT8的UBE值减小,VT8由饱和导通变为截止。于是远射灯HL2熄灭。同时VT2饱和,使复合管VT3、VT5基极电位降低而截止,使VT7由截止变为导通,近射灯HL1亮。两车交错行驶时,装在车前左侧的光敏电阻R\(_{B}\)受到对方近灯光照,触发电路翻转,近射灯灭,恢复远射照明,从而实现自动控制。
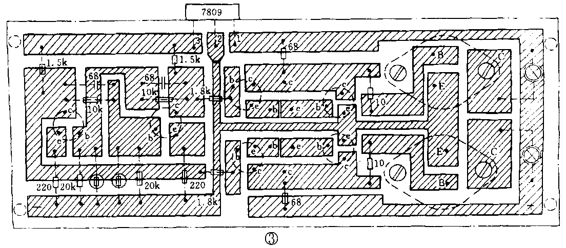
元器件选择与装调:电路中的双稳电路部分元器件无特殊要求。复合晶体管β≥40, BV\(_{CEO}\)>20V。必要时可加装一级。VT7、VT8应选饱和压降小的大功率管,BVCEO>20V,P\(_{CM}\)>50W,ICM>5A。光敏电阻焊在一小块敷铜板上,用螺丝固定在车前端和左前侧易受对方车灯照射的适当位置(见图2)。为了保证双稳态电路的状态稳定,可加装稳压电路,即加装一只7809三端稳压器。光敏电阻加装聚光罩以提高受光灵敏度。调整电路中电阻R5和R6使VT7、VT8的基极电流合适,使HL1、HL2正常发光及熄灭。减小R5和R6值或更换β较大的管子,使VT7、VT8正常工作于开关状态。整个电路的印制电路板见图3。 (李兴爽)

