本文介绍一种不用导线连接的门铃——遥控音乐门铃。
该门铃采用先进的脉冲码调制发射及石英晶振稳频技术,使其具有遥控距离远(达30m),工作性能稳定,静态功耗低等优点。
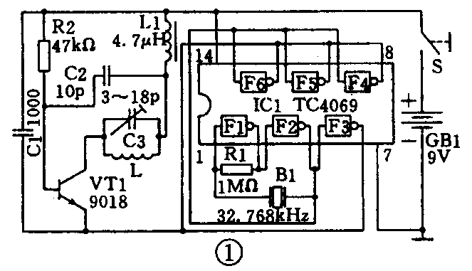
(1)发射原理:发射电路原理图如图1所示。它由多谐振荡器和高频振荡器组成,F1、F2两个非门与R1、B1构成多谐振荡器,振荡器输出的方波信号经F3~F6整形后送入由VT1、C1等构成的高频振荡器,并对250MHz的射频进行脉冲调制后,经过印制电路板的环形无线L向外辐射。印制电路板见图2。调节C3使发射电路与接收电路的频率相近。


(2)接收原理:接收电路原理图如图3所示,它由接收解调、放大整形、声响电路组成。VT3、C6及印制电路板的微带天线L'等组成超高频接收解调电路,印制电路板见图4。其解调脉冲信号经C7耦合进入由F6、F5、F1构成的三级高增益放大器,放大后的信号通过石英晶体B2稳频,VT2放大后加到F2的输入端,再经非门F3变成高电平触发音乐芯片,使扬声器发出音乐声。


(3)元件选择:C3(或C6)选用高频陶瓷微调电容器,C1、C2、C4、C5、C6选用高频瓷片电容器,L1、L2选用1~15μH的色码电感均可,但发射与接收电路中的电感量应一致,B1、B2采用电子表中的石英晶振,其振荡频率为32.768kHz,IC1、IC2选用CD4069或TC4069。在调试前应仔细检查元器件参数选择是否正确,安装是否无误,检查完毕后即可进行调试工作。
(4)发射调整:装上9V电池,用万用表测发射电流(电流表跨接在S两端),应在3~8mA,若用手触摸C3两端时,电流应大幅度升高,说明已起振;也可以借助电视机来进行调整,方法是:打开一台电视机,将频道开关置于UHF段的低端13~15频道外,接通发射机的电源开关S,用无感起子调节C3直到使电视屏幕上出现黑白相间的细横条纹即可。
(5)接收调整:装上两节5号电池,测量接收机整机电流小于1mA,按下发射机开关S不放,将发射机放在待调的接收机附近,用无感起子微调C6(换成微调),如果调到某一点,门铃发出声音,那就说明接收机和发射机的频率大致相同;在用万用表测F2的输入端(CD4069的第三脚),微调C6使此点的电压最高;最后进行拉距离调试,将发射机逐渐离开接收机,不断按动发射机开关S,并微调C3(发射机)或C6(接收机)直到距离最远为止。如果调试工作出现问题,请仔细检查元器件(如三极管的极性、集成块的缺口方向、音乐片的焊接点等)的参数是否弄错装错,检查有无虚、假、错焊,检查电路板上有无拖锡造成短路而出现故障。
(6)知识扩展:业余爱好者可将发射电路增加磁控开关或震动传感器,可作防盗报警用。例如,将发射机安装在楼下贮藏室,接收机放在楼上,即组成贮藏室报警器,以此类推,根据此原理还可以控制其它电器。
本文介绍的遥控音乐门铃的套件供应可见本期广告1999-3-5页第4个广告。