开关型霍尔传感器
开关型霍尔传感器是一种集成传感器,它内部含有霍尔元件、放大器、稳压电源、带一定滞后特性的比较器及集电极开路输出部分等,如图1(a)所示,外形如图1(b)所示。

开关到霍尔传感器的工作特性如图2所示。当外加的磁感应强度超过动作点B\(_{op}\)时,传感器输出低电平,但磁感应强度降到动作点Bop以下时,传感器输出电平不变,一直要降到释放点B\(_{RE}\)时,传感器才由低电平跃变为高电平。Bop与B\(_{RE}\)之间的滞后(或称为回差)使开关动作更为可靠。

由于传感器内部为集电极开路输出,所以需外接一个上拉电阻,其阻值与电源电压大小有关,一般取1~2kΩ,如图3所示。

另外还有一种“锁键型”(或称锁存型)开关型霍尔传感器,其特性如图4所示。当磁感应强度超过动点B\(_{op}\)时,传感器输出由高电平跃变为低电平,而在外磁场撤消后,其输出状态保持不变(即锁存状态),必须施加反向磁感应强度达到BRE时,才能使电平产生变化。

这里介绍SS100系列及SS40两种典型产品。这两种产品都是Honey well公司的产品。
1.SS100系列
SS100系列是贴片式器件,SOT-89封装[如图1(b)所示]。它的特点是工作电压范围较宽(3.8~24V);工作电流小(最大为10mA);其输出级集电极最大电流可达20mA;工作温度范围较宽(-40~+125℃);有单极、双极及锁存型,可供用户选择。参数性能见附表(仅选择该系列部分产品)。

2.SS40(双极型)
SS40为TO-92封装,其外形及管脚见图1(b)。该器件工作速度可达100kHz;工作温度范围可达-55~150℃;工作电压范围4.5~24V;工作电流最大值为8.7mA(典型值为4mA),输出低电平时典型值为0.15V(最大值为0.4V);上升时间0.2μs(典型值),下降时间0.5μs(典型植);在25℃时的动作点最大值为4.0mT,最小释放点为-4.0mT,最小回差为8.0mT。
典型应用电路
开关型霍尔传感器尺寸小、工作电压范围宽,工作可靠,价格便宜,因此获得极为广泛的应用。它只要配合一块小永久磁铁就很容易做成车门是否关好的指示器(如公共汽车的三个门必须关闭,司机才可开车;电梯门关好,电梯才能升降)和防盗报警器(当门或窗被非法撬开时,开关型霍尔元件可输出报警信号,如图3所示)。
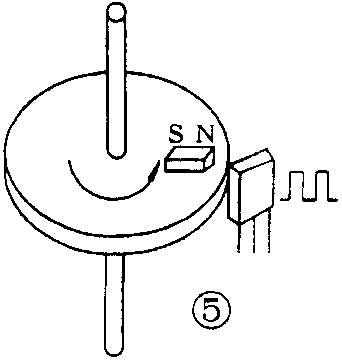
另外一类是以利用它做成测量转速(转数)等,如图5所示。

几种典型的连接负载电路如图6所示。图6(a)为与继电器连接,图6(b)为与晶闸管连接。 (方佩敏)
