大家好,曙光就在前方了,在今天的讨论中,我们从检查故障的方法开始,解决最后的一些问题。
检查故障的方法是很重要的,就好像医生对病人利用诸如中医的望、闻、问、切,西医的化验、透视、CT等有效手段一样,好的方法能有效快速地查出电路问题的所在,让机器尽快地恢复健康,正常工作。
●“观察法”。很多问题可以用肉眼观察出来,像假焊、电线脱落、元件漏装、三极管焊反了等等。简单吧,不过随着你水平的不断提高,这种方法会渐渐不管用——只能查出低级错误。
●“信号注入法”。在检查放大器时可以利用这种方法。考究点的做一个信号发生器,简单点的,人体本身就是一个信号源(因为周围的220V电网会使人体感应出50Hz的工频信号),拿把镊子之类的导体当探针,和信号发生器一样注入(要注意安全,电子管电路中慎用,另外感应信号较弱)。检查无声或声小的机子时把信号先从最后一级电路送入,听听有无反应,如果没有,那么最后一级肯定有故障,如果有了声音,那么把信号送入到前一级,再试试有无动静,如果没有,说明这级有故障……依次类推,如图1所示。

●“电阻检查法”。这种方法可以有效地检查短路、开路。另外,在检查立体声设备时,如果一个声道是好的,另一个声道有故障,那么可以比较两个声道电路对应点的电阻(对地,对电源都可以),往往能很快查出问题。
●“电压检查法”。对于工作不正常的机子,先查查供电电压。三极管的各极电压可以作为判断电路工作状态的依据,工作在放大状态的硅三极管V\(_{B}\)比VE高(NPN)或低(PNP)0.7V,小于0.7V的管子是截止的,大于0.7V的管子则是BE结开路了。
●“电流检查法”。可以用来检查各级电路的工作电流或整机电流,看看是否符合图纸要求。在调整工作电流时,因为电流检查法要将表串入电路,比较麻烦,通常用电压法,即测量发射极电阻上的压降,然后将电。压值除以发射极电阻阻值,即为I\(_{c}\)(Ic≈I\(_{e}\))。
有了以上这些基本的检查方法就能够通过测量分析查出故障所在了,当然,有的故障是比较明显的,可以通过经验来判别,就像下面列举的这些。
●“一开机烧保险、电池发烫”。遇到这种故障说明电路中有比较严重的短路,在没有找到故障之前,不要马上再次通电,这样很容易损坏电源或使电池过放电,扩大故障范围。比较好的方法是将电路划分成几块,然后分块查找短路点或故障点,像电路板上挂锡碰线,电容耐压不够击穿,二极管接反了等等都会导致这种情况发生。
●“自激”。自激故障是比较常见的,比如在装置放大电路时,没有加输入信号(输入端短路),可是有输出信号。有的输出是听得见的,像“噗、噗……”(不是连续的,而是间断的)的汽船声,这叫低频自激,通常是由于电源退耦不够引起的,检查一下电源滤波退耦电容是不是有假焊或容量与标称不符;有的输出听不见,但电路工作一段时间后,输出级的元件会很烫手(像输出三极管,集成电路),这时发生的是“高频自激”,因为频率较高,所以我们的耳朵无法察觉。这种情况往往是由于电路输出端的消振网络不正常所致,如图2所示。在装置外差式收音机时发生的“啸叫”多半也是由于自激造成的,可能是各级电路中的旁路、中和电容失效,或某级高、中放电路增益过高,不妨检查一下。

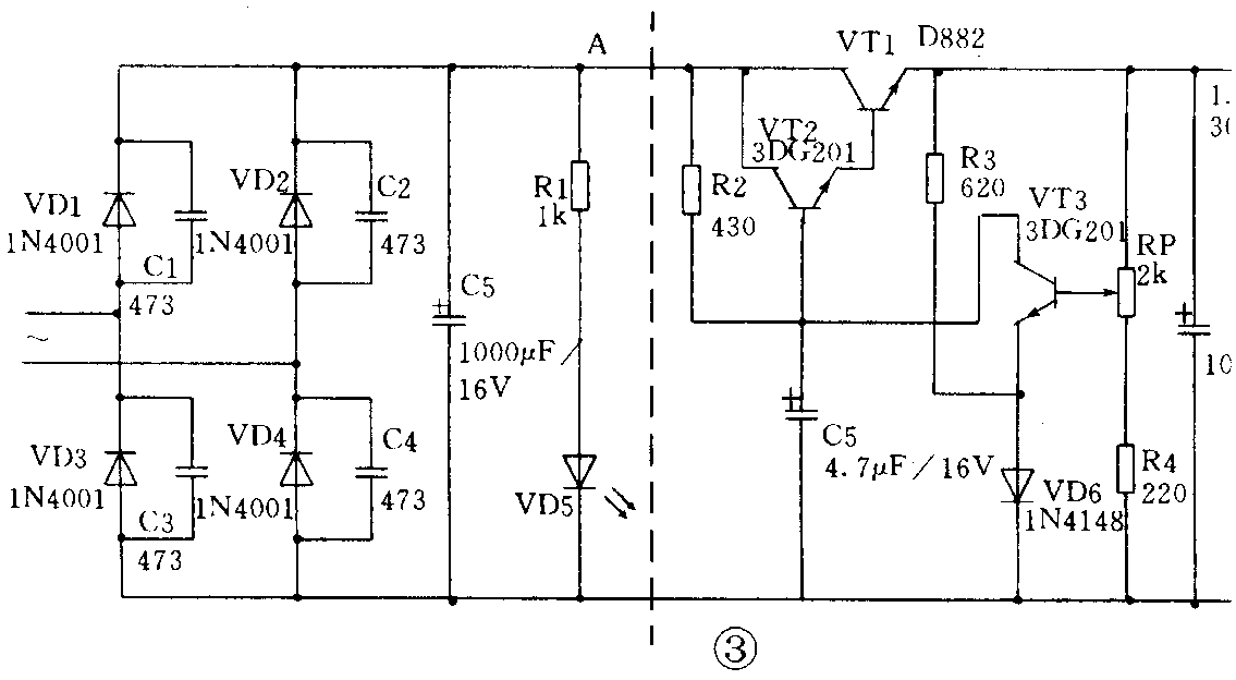
最后,以一个稳压电源的装置过程为例,介绍一下装调电路的全过程,电路如图3所示。

在这个电路中,VD1~VD4组成桥式整流电路,VT1、VT2构成复合调整管,VT3是比较放大管,VD6提供VF3基准电压,R2、R3提供偏置,C5、C7是滤波电容。
稳压过程其实是一个电压负反馈过程。在本电路中,当负载变轻,输出电压有增大的趋势时,在VT13基极上分得的电压变大,由于VT3的发射极电位是恒定的,所以V\(_{be3}\)变大,就使VT3的Ic增大,于是VT2的B极电位下降,输出电压也随之变小。负载变重的情况大家可同理分析。
装置的时候先从整流滤波电路开始,即图3中虚线左面部分,把这部分电路装好后,仔细检查两遍,确定没有问题,通电。用万用表检查A点电压,应为12V左右,此时VD5发光。如果电压不正常,那么马上断电检查。电压为0,可能是什么地方线没有接好,如电源插头;电压小,那么检查一下滤波电容C5;如果电压极性反了,查查二极管有没有装错。
第一步完成后,把余下部分的电路装完。检查后通电,先测VT3的E极有无0.7V的电压,若没有,则查R3(VD6偏置)、R2、VT1、VT2是否连接正确。这个电压正常后,再测VT3的B极电位能否随RP的转动而变化,若能,那么这个电路基本就装出来了,这时测输出电压,应该随RP的转动在1.5V~6V间变化;如果不是,那么检查RP、R4、VT3、R2,可以根据电路工作过程分析故障的所在。
这个例子中,再三强调了检查的重要性,大家在开始的时候装的电路大都比较简单,只要细心一点,就不会有什么大问题。怎么样?不太难吧。
好了,给你十二万分的勇气和信心,把你扶上了马,下面就看你的了。Good luck!
后记
和大家唠叨了这么长时间,为的是想尽自己的能力帮助大家快些入门,本人水平有限,也不知能不能如愿。目前,我国在电子领域相对世界先进水平还有较大的差距,而缩小这个差距的重任正落在我们的肩上,“路漫漫其修远兮,吾将上下而求索”,希望现在初学电子技术的朋友们,通过自身不懈的努力,在不久的将来成为提高祖国电信水平的一支生力军,大家共同为把祖国建设成21世纪的世界强国而奋斗,这也正是本文写作的初衷。
如果大家还有什么问题,可以给我写Email:dicksun@kali.com.cn,欢迎指教探讨。(孙斌)