计数器实际上是一个记忆装置,它能记住有多少个时钟脉冲送到输入端,并由输出端的不同状态来表示。计数器的应用十分广泛,它不仅可以计数,还可以用作数字系统中的定时电路和执行数字运算等,因此,我们在每一种数字设备中,几乎都要遇到计数器。在数字电路中,计数器属时序电路的一种。
在CMOS电路系列品种中,集成化的计数器是用量较大、品种较多的中规模产品,它可以有多种分类方法。
按操作码制分类:可分为二进制码、DCD码以及八进制或十进制的约翰逊码计数器三种。
按进位方式分类:可分为异步计数器和同步计数器两类。
按数码的增减分类:可分为加计数器、减计数器和加/减计数器。
附表为CMOS计数器品种一览表。
CMOS计数器品种一览表
型号 名称
C186 二—十六任意进制计数器
C180 BCD同步加计数器
CC4518(双)
C183 4位二进制同步加计数器
CC4520(双)
C182 可预置BCD同步I/N计数器
CC14522
C185 可预置4位二进制同步I/N计数器
CC14526
C188 可预置BCD加/减计数器(单时钟)
CC451O
C189 可预置4位二进制加/减计数器(单时钟)
CC4516
C181 可预置BCD加/减计数器(双时钟)
CC40192
C184 可预置4位二进制加/减计数器(双时钟)
CC40193
CC4024 7位二进制串行计数器/分频器
CC4040 10位二进制串行计数器/分频器
CC4060 14位二进制串行计数器/分频器
CC40161 同步可编程4位计数器(二种非同步清零)
CC40162 同频可编程4位计数器(十种同步清零)
CC4O163 同步可编程4位计数器(二进同步清零)
CC4022 8进制计数器(脉冲分配器)
CC4017 10进制计数器(脉冲分配器)
CC4018 可预置数I/N计数器
CC4029 二进制/二~十进制可预置数加减计数器
在实际使用电路中,CC4017十进制计数器/脉冲分配器集成电路应用较多。下面我们介绍它的特性和应用。CC4017主要由计数器和译码器两部分组成。图1、图2是CC4017的引脚排列图和波形图,从图中可见,它有3个输入端:一个是清零端Cr,当在Cr端上加高电平或正脉冲时,计数器中各计数单元输出为“0”,只有Yo输出为“1”。另外两个是时钟输入端CP和EN-端,如果信号由CP端输入,则上升沿计数,如果信号由EN-端输入,则下降沿计数。

CC4017有10个译码输出端,每个输出端的状态与输入计数器的时钟脉冲的个数相对应,电路还设有一个进位输出端Qco,每输入10个时钟脉冲,就可得到一个进位输出脉冲,进位输出信号还可作为下一级计数器的时钟信号。从波形图中可以看出CC4017计数器的逻辑功能。
1.十路彩灯
利用CC4017的逻辑功能,在脉冲输入端CP处加脉冲信号,每一输出端加发光二极管,就成为十路彩灯电路。整机电路见图3,它由振荡器、循环计数器等组成,振荡器用两只非门组成,振荡频率由R、C决定,调节RP可改变振荡频率,产生的一系列脉冲信号送至计数器脉冲输入端CP。当振荡器输出正沿触发脉冲时,计数器计数,输出端由0~9位依次输出高电位信号,由这些信号来驱动彩灯。


本机可按图4制作印制板。使用时,接通电源,彩灯便会依次闪烁。将这些彩灯按照自己所需位置编排,能够编成一个任意的闪烁群,按照顺序编排,就能像流水一样,闪烁移动。
2.100路彩灯
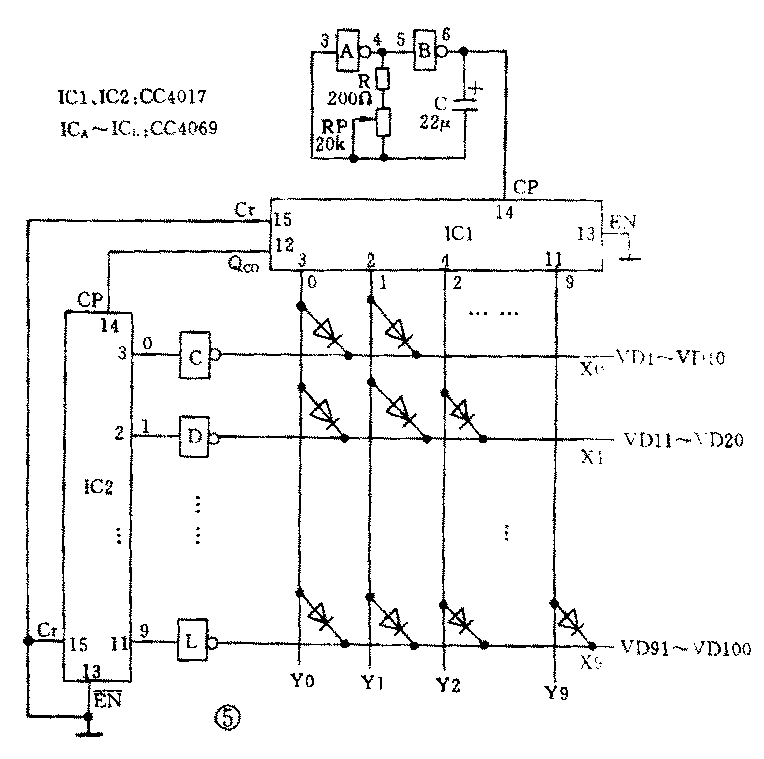
整机线路如图5所示,主要由脉冲信号发生器,十进制计数器等组成。

门A、门B和阻容元件组成多谐振荡器,输出脉冲信号,输至计数器的CP脉冲端。
控制发光器主要由IC1、IC2两块十进制计数器组成,IC1控制Y轴,IC2控制X轴。CP脉冲信号输入到IC1的CP端时,Y0~Y9顺序输出高电平,这时IC2的3脚输出高电平,经门C反相器反相后输出低电平,在X0上的显示器依次发光,当第10只发光管亮后IC1计数器重新计数。而IC1计数器每逢计数到10,就送出一个进位(Qco脚)作为IC2的CP时钟,使IC2计数器第2脚输出高电平,其余引脚输出低电平,X1轴上的显示器依次发光,直至再次进位……。
IC1、IC2选用两块CC4001十进制计数器集成块,门A~门L选用两块CC4069六反相器集成块,VD1~VD100可用φ5或φ3的发光二极管。

本电路安装在图6所示的印制电路板上,焊接后检查无误即可通电调试,发光管应依次闪动,改变RP可改变闪动频率。如果有故障,可检查,方法是先断开IC2的电源,将X0线接电源负极,这时VD1~VD10应依次发光。将万用表置电压挡接IC1的Qco端(12脚)和电源负极,在VD10亮至VD1时,表针若从低电位指向高电位,则说明IC1计数器正常。连上IC2电源,将万用表置电压挡,负极接电源负极,正极依次检查IC2的0~9输出端,其中必有一脚输出高电平,经反相器反相输出低电平,那么该路发光二极管应发光。如果没有一路输出高电平,或多路输出高电平,说明IC2集成块有问题,需调换。
显示器可组成多种图案,但X轴引线和Y轴引线千万不要弄错。(程国阳)