一、活动简介
温度控制电路在工农业生产中有着广泛的应用。在我们的日常生活中也可以见到,如电冰箱的自动制冷,空调器的自动控制及电饭锅的自动控制等。本活动通过制作一个简单的温度报警器,来演示自动控制电路的工作原理。
二、活动目的
1.了解热敏电阻器的性能。
2.了解继电器的工作原理。
3.掌握温度报警器的调节方法。
4.设想温度报警器的应用。
5.初步了解自动控制原理。
三、活动准备
1.实验套件:印制电路板一块(60mm×30mm); MF型1kΩ热敏电阻器一只;继电器一只;1MΩ(色环为棕、黑、绿)、13kΩ(色环为棕、橙、橙)电阻器各一只,6.8kΩ(色环为蓝、灰、红)电阻器两只;4.7kΩ电位器一只;1N4148二极管一只;NPN型三极管(9014)两只,PNP型三极管(9015)一只,小型蜂鸣器一只,导线若干。
2.工具仪表:万用电表、尖嘴钳、斜口钳、20W内热式电烙铁及烙铁支架。
3.焊锡及松香。
4.四节5号电池组。
四、活动过程
1.做好焊接前的准备工作

(1)熟悉一下热敏电阻器,图1是它的电路符号和实物图。用万用电表的欧姆挡测量热敏电阻器,同时用手捏住热敏电阻器给它加温,看看电阻值是怎样在变化(手捏热敏电阻2秒,阻值可减小50Ω~100Ω)。
(2)检查一下继电器。首先用万用电表的欧姆挡测量一下继电器的常闭触点,接触应良好;常开触点应断开。然后给继电器的线圈接通6V电源,再检查继电器的常闭触点,应该断开,而常开触点应该连通。
(3)将所用的元器件引线处理干净,并用电烙铁粘着松香将引线镀上一层锡。这是焊接前的一项重要准备工作,不可忽视。
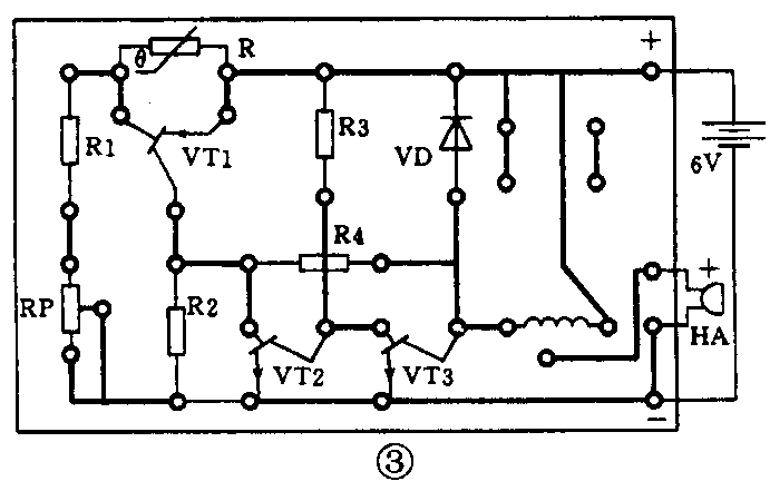
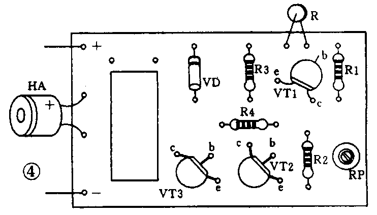
(1)根据图3所示的电路板安装图,参照图4所示的实物图。将四只电阻器及热敏电阻器、三只三极管、一只二极管按顺序依次安装在电路板上进行焊接。注意二极管、三极管的管脚极性。
(2)将继电器和小型蜂鸣器装在电路板上,注意蜂鸣器的正负极性。用导线将电位器连接在电路板上。
(3)每装一个元器件,剪去过长的引线后,就可进行焊接。注意用锡要适当,不要太多。如果不好焊,可用电烙铁沾一点松香。
(4)将电池夹的两根电源线焊在电路板上,注意正负极。
(5)检查一下电路是否连接正确,没有问题后,装上四节电池进行试验。
(6)调节电位器使它的阻值由大到小逐渐变化,当继电器刚好不吸合时(即小型蜂鸣器不响时)为止。此时用手捏住热敏电阻器,几秒钟后能听到继电器吸合时发出的声响,随即蜂鸣器开始鸣叫。松开热敏电阻器让它自然冷却,一会儿继电器又会自动释放。
(7)调节电位器的阻值,可以改变继电器吸合时所需要的温度。
3.指导学生调节温度报警器电路的控制温度。
4.启发学生思考温度报警器电路的其它应用。
5.指导学生评价及活动小结
(1)检查学生通过活动是否了解热敏电阻器的特性。
(2)是否能照图安装和焊接温度报警器电路。
(3)是否能理解自动控制电路的工作原理。
五、活动指导
1.温度报警器电路的工作原理

图2是温度报警器的电原理图。这是由三只三极管组成的一个直接耦合电路。当环境温度在设定温度以下时,三极管VT1、VT2导通,VT2的集电极电压在0.3V以下。此时三极管VT3截止,继电器不工作。如果环境温度上升,热敏电阻器的阻值就要减小,三极管VT1的基极电压就会升高,由于VT1是PNP型三极管,所以三极管VT1截止。三极管VT2的基极得不到工作电流也截止。它的集电极电压升高,使三极管VT3饱和导通,这时继电器工作。
电路中的电阻器R4是一个重要元件,它起到了正反馈的作用。如果没有电阻器R4,当三极管VT2由导通逐渐过渡到截止时,它的基极电压也是在逐渐下降。这时三极管VT3的集电极电流也在慢慢增加,只有当VT3的集电极电流达到一定程度时继电器才能吸合。在这过渡期间三极管VT3的耗散功率较大。增加了电阻器R4后,如果三极管VT2的基极电压开始下降,那么三极管VT3的集电极电压也开始下降。通过电阻器R4的正反馈作用,使三极管VT2的基极电压更快地下降,加速了三极管VT2和VT3的转变过程,使它们工作在开关状态,电路工作稳定可靠。
电阻器R4的加入也增加了电路的回差。所谓“回差”就是指三极管VT2由导通变为截止时的温度与由截止变为导通时的温度有一点差异。这种回差以损失电路的灵敏度换来了电路工作的稳定,是十分必要的。
由于继电器的线圈是一个感性负载,所以为了保护驱动三极管VT3,电路中增加了一只二极管VD。
2.电路的变化
图2所示的电路是一种高温报警器,如果要把它改为低温报警器,可以将蜂鸣器接在继电器的常闭触点上。但是这种接法由于继电器长期吸合,工作耗电较大,很不经济。为此可以把热敏电阻器与电阻器R1和电位器RP调换一下位置,热敏电阻器接在三极管VT1的基极与电源负极之间。当然电阻器R1和电位器RP,的阻值也要相应调整。
3.电路的自动控制原理
高温报警器可以用来作电冰箱的温度控制器,当冰箱内的温度高时,启动制冷器工作,降低冰箱内的温度;当温度达到要求时能自动停机。低温报警器可作一些加热器的控制电路,如热带鱼水箱的水温加热,当水温较低时,电路打开,加热器增温;温度合适时,加热器停止工作。此外烘箱的控制、温室的温度控制等都是这样。从以上这些例子中可以体会到自动控制电路的工作原理。
六、注意事项
如果用这个电路控制交流220V的电器,需要修改电路板上继电器触点的连接方式。在使用时一定要注意安全用电。
七、有关知识
1.温度传感器
常用的温度传感器有:热敏电阻器、热电偶、双金属片、半导体温度集成器件等。
(1)双金属片温度传感器是由两种不同材料的金属压接而成的。一种金属片的温度膨胀系数较大,而另一种金属片的温度膨胀系数较小。当它受热后,双金属片发生变形弯曲与固定触点片相接。双金属片的精度较差,一般用在对温度精度要求不是很高的地方,如可调温的电熨斗、电饭堡中。
(2)半导体温度集成器件有许多不同的型号,它们的特点是,有很高的精度,有良好的线性范围和互换性,常用于温度的计量等要求较高的场合。
(3)热敏电阻器价格便宜,应用广泛。MF型是一种常用的负温度系数热敏电阻器。即当温度升高时,热敏电阻器的阻值减小。这种热敏电阻器以锰、钴、镍、铜、铝等金属氧化物为主要原料,这些金属氧化物材料具有半导体性质,温度升高时材料中的载流子数量增多,导电性能好,所以电阻值减小。热敏电阻器的标称值是指在25℃基准温度下的电阻值。
2.继电器

图5是继电器的结构示意图和电路符号。继电器主要是由线圈、铁芯、衔铁、支架、弹簧及接触片等组成。在静止状态时,继电器线圈中没有电流流过,衔铁不动作,活动触点与常闭触点连接,而不与常开触点接触;当给继电器的线圈加上直流电,线圈中通过一定强度的电流时,电磁铁产生吸力,使衔铁向铁芯运动,活动触点随之动作,结果活动触点与常开触点相连接,而与常闭触点断开。当断开加到继电器线圈上的电压后,线圈中的电流消失,由于铁芯是软磁材料,所以磁力也消失,在弹簧的作用下(小型继电器中没有弹簧,衔铁与支架是由弹性簧片连接的,弹性簧片起到弹簧的作用),衔铁复原,活动触点也恢复到静止状态。
继电器的种类很多,广泛应用于自动控制设备中。小型继电器用在各种电子设备中;大型断电器用在电力设备上。但是它们的结构都很相似。本文介绍的继电器只有一组接触点,而实际使用的继电器可以有一至六组接触点甚至更多。继电器还分交流继电器和直流继电器,这是指继电器的线圈所加的电压是交流还是直流。继电器的型号不同,技术参数也不同,使用中要注意。继电器的一些主要技术参数有:额定电压;直流电阻;吸合电压(或吸合电流);释放电压(或释放电流);触点负载(即触点电压和触点电流);触点寿命(可靠动作多少次)等。
在选用继电器时,首先要考虑继电器触点负载的电压和电流情况,即继电器所带动的电器是多少功率。其次还要考虑继电器线圈的工作电压是否与控制电路的电压相符合。
在使用继电器的时候要注意它的吸合电压和释放电压这两个参数。吸合电压要比额定电压小一些,只要继电器线圈上的电压达到吸合电压的数值,继电器就可以工作。而当继电器吸合后,再慢慢减小线圈两端的电压时,继电器的衔铁不会立刻释放。只有当线圈两端的电压下降到一定程度时,衔铁才能复原,而这个释放电压又比吸合电压小很多。
此外还有步进继电器、时间继电器、固体继电器等,这几类继电器与传统的继电器差异较大。 (周海)

