家用摄像机可以通过电子寻像器观察到拍摄和重放时的黑白图像信号,但大部分摄像机却无法随机监听到音频信号,这就给拍摄和重放时对音频信号监视带来不便。本文向大家介绍在NV-M7摄像机内加装随机音频监听扬声器电路的制作方法。
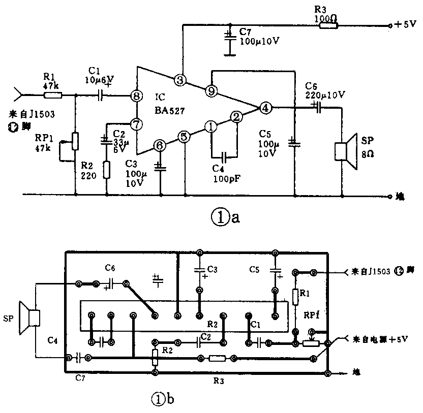
NV-M7摄像机在拍摄或重放状态下,其音频信号处理电路IC4002脚均有音频信号输出,此信号经接插件J1503后通过14芯电缆送到交流适配器,然后分为两路,一路直接通过AUDIO OUT插孔输出,另一路经射频调制器后从RF插口输出。为了实现对音频信号随机监听,必须加装一只功放电路来推动扬声器发声。加装电路如图1a所示。音频信号从接插件J1503脚(AUDIO OUT)取出,经功放后直接带动扬声器。

由于NV-M7摄像机内部空间小,加装电路应尽量做到小巧。音频功放选用BA527集成块(也可选用BA516、BA526和BA546直接代替)。BA527采用9脚单列直插塑封结构,输出功率800mW,外接元件少,安装调试方便。电源电压在3~9V范围内均能正常工作。扬声器选用红声无线电厂生产的OSD-902型耳机代替,该耳机阻坑为8Ω,具有体积小而薄和音质优美之特点,安装时将耳机从塑料固定板上取出。
安装方法:将图1a电路元件安装在一块自制的印制板上(见图1b),装好后拆下摄像机右边外壳,将扬声器安装在摄像操作键盘附近半圆槽内,安装前先用φ1毫米钻头钻6个发音通孔,见图2,然后安放好扬声器,再用聚氯乙烯胶水或环氧树脂固定好扬声器,待扬声器固定牢固后(约一昼夜)将自制印制板安装在电池盒附近的空间位置内,再按图1b所示的引线去向焊到音频信号处理电路相应的焊点上即可,最后插入带盒重放,调节音量控制微调电阻RP1,直至音量大小满意为止。

NV-M8000摄像机也可参照上述方法加装随机音频监听电路。(黄福森)