中放电路是超外差式电视接收机信号通道的重要组成部分,其性能优劣对整机的重要指标——灵敏度、选择性、通频带等起关键的作用。它除了放大38MHz的中频信号外,还要放大33.57MHz的副载波色度中频信号,并提供AFT控制电压。因而它的部分元件性能如果变差,可直接导致图像、伴音的效果变差。除此还可能造成一些极易混淆思路的故障,现将笔者碰到的几例故障列出,与大家共鉴。
1.机型:快乐牌HC-206彩电
故障现象:开机无声、无图、无光,电源指示灯亮,频道指示有显示。
此故障与“三无”类似。笔者通电试机,发现机内有高压,说明本机电源、行扫部分基本正常,经检测,各路电压正常。去掉天线,发现噪声和雪花点出现,但再次插上天线试看故障又出现。初步判断为机内接触不良,经反复检测,发现故障与信号的有无有关系。至此可判断故障主要在通道部分。测量TA7680AP的第、(见图1)电压偏离正常值7.8V很多,调整中频变压器T102磁芯无效,更换此中频变压器,出现声图,仔细调整磁芯至声图俱佳。

由于机内各路电压正常,不用天线即无输入信号时有噪声,说明电路的静态工作正常;而有信号时(即插上天线)出现“三无”,是因中放电路失谐严重,中频点偏离38MHz较多,从而导致视放级和伴者通路处于比较严重的饱和状态,而导致“三无”故障。
2.机型:康佳T953PⅢ
故障现象:自动搜索不能储存,手动搜索正常。
此故障与CPU有关电路故障现象相同。本机存储IC块为N602(M58655SP),测其工作电压+5V、-30V均正常,更换N602仍无效。再仔细推敲,由于手动搜索正常,说明CPU的损坏可能性不大。经仔细测量,在自动搜索时,CPU的第上电压为1.5V,低于正常值2.35V。再顺藤摸瓜,查到N101(TA7680AP)的第脚电压为2.3V(正常值为6.4V),偏低。
该机要想正常搜索并锁定信号记忆,查有关资料知,除N601(CPU)和N602正常外,CPU的第还必须有足够幅度的AFT电压,要有正常的复合同步脉冲信号(SYSC),见图1。至此,问题已很清楚,由于N601没有正常的AFT电压,CPU始终误认为接收的信号太弱,不能正常锁定记忆。仔细调节AFT回路T104磁芯,使脚电压升至正常值,手动、自动搜索皆正常。若调节无效,可能磁芯损坏,更换中频变压器(型号为703025)即可。
3.机型:康佳T953PⅢ
故障现象:开机一段时间后,彩色图像不稳,渐渐转为黑白图像而稳定;有时,转换频道,也可出现彩色图像,但稳定时间不长。
此现象与色度通道故障类似。经查N301(TA7698AP)有关脚的外围元件,均无损。更换N301,无明显效果,可断定N301部分(即色通道)无故障。
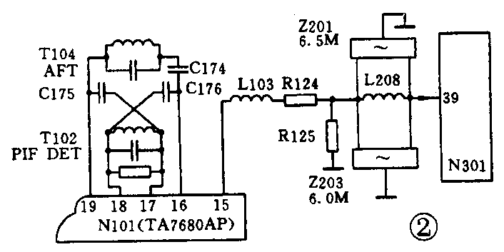
全电视信号经声表面滤波器滤波,再经TA7680AP处理后,视频信号由脚输出经陷波后送至N301的,见图2。由于要对2.07MHz的声色干扰加以衰减,因而中放要对33.57MHz的色度副载波进行衰减。因此,若声表面滤波器损坏或中频变压器失谐,皆会对色度信号产生明显影响而使视频信号中的色度成分过弱,达不到N301的⑦脚要求(⑦脚为消色输出控制端)而使消色器工作,这样使图像失去彩色。经查声表面滤波器无损,故怀疑中放调谐回路(中频变压器)T102失谐引起中频特性曲线变坏,使色度成分衰减。仔细调节N101的中频变压器T102后彩色图像正常。

以上三例说明,中频电路中的中频变压器若出现故障,会出现很多不易直接判断的故障。希望同行们在修理较旧的或长期在潮湿环境下工作的电视机时,应多关注中频失谐问题,会有所帮助。(秦忠基)