用两块集成门电路IC1、IC2、一块集成电路触发器IC3,可以制作一台交流稳压器,当电源电压在170V~240V之间波动时,能将输出电压始终稳定在正常工作范围内,并且在发生断电后重新通电时有延时功能。
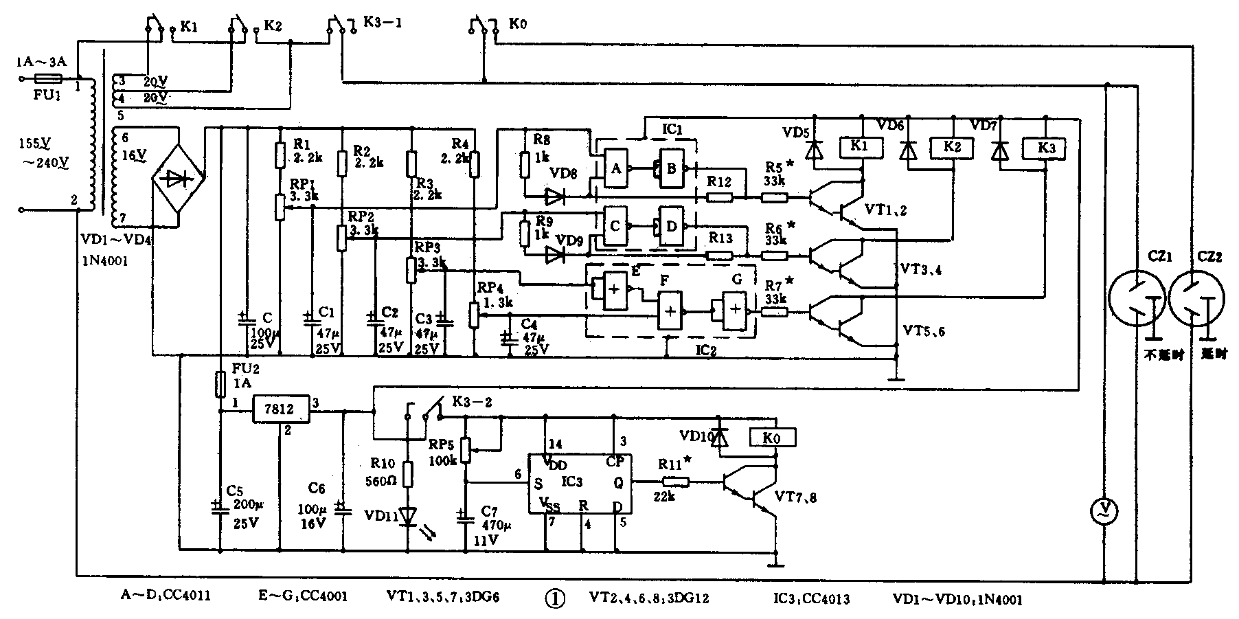
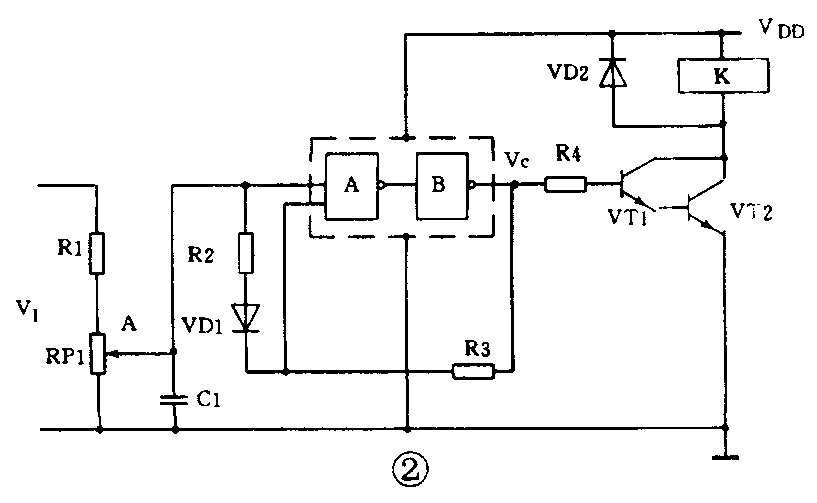
电路见图1。整个电路可分为电源补偿、控制、延时和直流稳压电路4个部分。交流稳压器主要采用欠压电压补偿的方法进行稳压,这里采用了两级补偿的控制方法。电路中采用门电路制成施密特触发器(图2)。R1、RP1、C1组成了分压式取样电路,输入电压为V\(_{I}\)时,在A点得到电压VA,当V\(_{I}\)=0时,门A关闭、门B导通,输出为低电平“0”,三极管VT1、VT2截止,继电器K释放;当VI从零上升至V\(_{T}\)时,由于VA仍低于V\(_{T}\),因而门A仍不导通,继电器K仍不能吸合;当VI升高到使V\(_{A}\)=VT时,门A开始导通,并引起正反馈过程,电路迅速翻转,门B输出高电平“1”,三极管VT1、VT2饱和导通,继电器K吸合。以后,不管V\(_{I}\)怎样变化,因为VI已由VC维持高电平,所以,只要V\(_{I}\)>VT,电路状态就不会改变;只有当V\(_{I}\)下降到VT以下时,门A才开始截止,并产生正反馈过程,使VC输出低电平“0”,继电器K释放。V\(_{I}\)与VC的波形图见图3。图2中R2、R3为分压电阻,VD1为电平二极管。



图1中R3、RP3是欠压取样电路,R4、RP4是过压取样电路。通过或非门电路组成欠压、过压控制,当电源电压小于155,或非门E输入端为低电平“0”,输出端为高电平“1”,门F输出端为“0”,门G输出端为“1”,三极管VT5、VT6饱和导通,继电器K3吸合,常闭触点K3-1断开,切断输出电源;当电源电压高于240,门F输入端为高电平“1”,输出端为低电平“0”,门G输出端为高电平“1”,三极管VT5、VT6饱和导通,继电器K3吸合,常闭触点K3-1断开,切断输出电源。
在图1中,继电器K1、K2起电源电压补偿作用,当电源电压在170V1<185,电流流经电源变压器1端——K1(不吸合)——电源变压器次级3端——4端——5端——K3-1,投入两组补偿电压,输出端电压接近正常;当电源电压在185VI<210,电流流经1端——K1(吸合)——K2(不吸合)——4端——5端——K3-1,投入一组补偿电压,输出端得到20V补偿;当电源电压在210V1<240,电流流经1端——K1(吸合)——K2(吸合)——K3-1(不吸合),输出电压不补偿,输出端恒等于电源电压。
延时器由D触发器(IC3)组成,当接通电源时,Q端输出为低电平“0”,三极管VT7、VT8截止,继电器KO不吸合,电压经RP5对电容器C7充电,待电压上升超过S置位端阈值电压时,Q端由“0”变“1”,三极管VT7、VT8饱和导通,KO吸合,常开触点KO闭合,接通延时器插座CZ2。
电源部分是本机较重要的部分,它采用三端集成稳压电路7812,要求交流电源电压在155V\(_{I}\)≤240围时,它的输出电压始终稳定在12V。
IC1选用CC4011二输入端四与非门,IC2选用CC4001二输入端四或非门,IC3选用CC4013双D触发器,它们的引脚排列见图4。继电器K0~K3采用JQX-4F,变压器T可自制,铁心采用31×19(mm)硅钢片,初级用φ0.24~0.29mm漆包线,绕2100圈,次级3、4、5端用φ0.67mm漆包线绕190圈×2,产生二组20V交流补偿电压,6、7端次级用φ0.41mm漆包线绕152圈,产生16V左右交流电压。电阻选用1/16~1/8W的碳膜电阻,其余元件值都已标在图中。

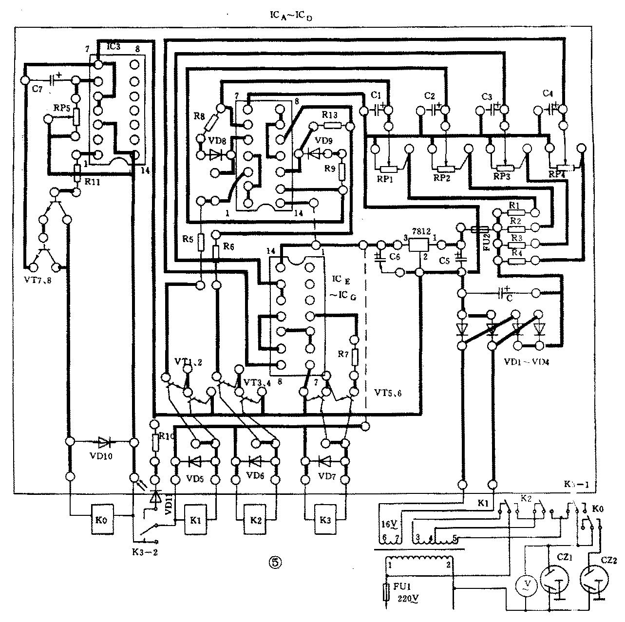
印制电路板可按图5制作,所有元件都可装在板上。调试时,输入端采用调压变压器作输入电压,同时,观察交流电压表,先将调压器旋在交流155调可变电阻RP3,使继电器K3正好吸合,常闭触点K3- 1断开,输出端为零;大于155K3应释放,输出端有电源电压输出约l90将调压器旋到195调可变电阻RP1,使继电器K1正好吸合,在180V处K1正好释放,输出电压约220V左右;将调压器旋到215V,调可变电阻RP2,使继电器K2正好吸合,200V正好释放,输出电压约220V;将调压器旋到240V时,调可变电阻RP4,使继电器K3正好吸合,这时,常闹触点K3-1断开,输出电压为零,旋至235V时,K3释放,输出电压保持正常值。

当电源控制部分调试完后,即可调试延时器部分,在CZ2处接只灯泡,通电后,观察延时时间应大于5分钟后继电器吸合即为正常,调节可变电阻RP5阻值,可改变延时时间。断电后重新启动,待延时时间一到,继电器K0即吸合,接通常开触点K0,CZ2上的电灯点亮。
最后进行统调,当调压器旋到各调试电压值时,一切工作应正常,输出电压为220V左右。输入电压大于240V或小于155V时,K3应同时断开输出电源线和延时器工作电压线;输入电压恢复正常值后,K3恢复常态,延时器重新工作。调试完毕后即可使用,使用前需空载通电一段时间,确认正常后再接上负载。
图中发光二极管VD11为过压、欠压指示器,当VD11亮时,说明电源电压大于240V或小于155V;FU1为超载保险丝,当负载过大时,保险丝熔断,起到超载保护作用。 (程国阳)