问:最近我从邮购目录上发现调谐电容有多种规格:270p双连、223p双连、243四连等。我想知道它们的最大容量和最小容量。(四川 余菁)
答:调谐电容器的产品有多种规格,它们都是国产的薄膜介质可变电容器,现把常用的几种规格列于下表。(沈长生)

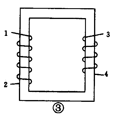
问:绕制图1所示的磁性天线时,带圆点的引出线1、3为同名端,如果按图2方法绕制1、3两端即为同名端;那如果在环形磁芯上按图3方法绕制1、3是不是同名端?(浙江 陆帅)


答:用棍形磁芯绕制磁性天线很容易分出同名端,即两个线圈绕线方向一致时,起始头(1、3)和结尾头(2、4)都互为同名端。绕制环形磁芯时(实际上是绕制高频变压器),绕制方向相同时,起始失,或结尾头之间互为同名端,图3中1、3即为同名端(2、4也为同名端),只不过绕线方向不太容易分辨,尤其是浸过蜡或漆的高频变压器,绕线方向更不易判断。下面介绍一种简单的判断同名端的方法:如图4所示,在1、2两个线头间采用点触接电法,电池可用6V左右的,在3、4端接一个灵敏电流表或用万用表的电流档。当1、2瞬间接通电池时(注意不能长时间接通,马上观察电流表指针的方向,如果指针正摆则电流表正极或万用表红表笔所接的就和线圈1端(接电池正极的一头)是同名端,如表针反摆则相反。


注意在选择电流表(或万用表的电流挡)时,如果线圈电感量较大(圈数多),应选灵敏度低的电流表;如线圈电感量较小(圈数少),应选灵敏度高的电流表。
实验时表针摆动一次若看不清楚可以反复作几次,直到看清为止。(沈长生)
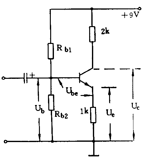
问:三极管的起始电压锗管约为0.2伏、硅管约为0.6伏,请问这个电压是对参考点而言还是对电源电压而言?而三极管的基极电压、发射极电压、集电极电压呢?(贵州 潘友章)
答:如附图所示:三极管的起始电压指的是基极与发射极之间的电压U\(_{Be}\),而三极管的基极电压Ub、放射极电压U\(_{e}\)、集电极电压Uc都指与参考点(┴)之间的电压。(沈长生)

问:我想制作一台小型调频收音机,但电路上的两个1μH的小电感在市面上不好买,请问可以用脱脂线圈代替吗,应该如何制作? (广东 刘锦宇)
答:小电感可自己制作,可根据公式N=0.4\(\sqrt{L}\)/D1/2g来决定需绕的圈数。式中:L为所需电感量,D为线圈的平均直径(单位cm)。L用绝对单位制厘米,它与工程单位制换算为1μH=10\(^{3}\)cm。N是圈数。举例说明:现在需要绕制1μH的电感器,用圆珠笔芯(直径3.5mm)作骨架或脱脂(如脱脂绕制,线径最好在0.3mm以上)。根据公式算出圈数N=0.4L/D=0.4\(\sqrt{1}\)000/0.35≈21圈。按你所说。的用在小型调频收音机上,绕制线圈的导线线径在0.2mm左右就可以了。(沈长生)
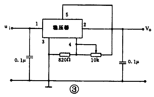
问:我有一只四端可调稳压器,是金属封装的,电流为5A,输出电压4V~16V可调,外型如图1,请问怎样应用。(厦门 杜财大)

答:你所说的四端可调稳压器,实际上是五端可调稳压器,金属外壳也是一极,其功能引出脚如图2所示。1脚为输入端,2脚为检测端,3脚接地,4脚为基准端,5脚为输出端。其典型应用电路如图3所示。(沈长生)

