在上一讲里我们介绍了R-S触发器、D型触发器的基本特性和简单应用,这一次我们介绍锁存D型触发器。
D型触发器的特点是:仅仅在时钟脉冲到来的触发时刻,输入数据才从D端传输至Q端;D型触发器具有锁存数据的功能,当CP=“0”电平时,D型触发器输出状态不再随输入状态而变化,即锁存了前一次的数据。
CMOS锁存D型触发器是由基本的D型触发器改进而成,它增加了数据选通或输入极性选择,高阻抗输出等功能。锁存D型触发器只适用于数据锁存。图1是CC4042四锁存D型触发器集成电路的引脚图和真值表,它的主要特点是时钟脉冲CP的有效触发极性可以选择。POL为极性选择端,它的电平状态决定时钟脉冲有效触发极性是上升沿触发还是下降沿触发,在POL为“0”电平时,CP端上升沿使数据D被锁存;在POL为“1”电平时,CP端下降沿使数据D被锁存。文末的附表为D型锁存触发器品种一览表。下面结合两个应用实例介绍D型锁存触发器的原理和应用。

一、四路智力竞赛抢答器
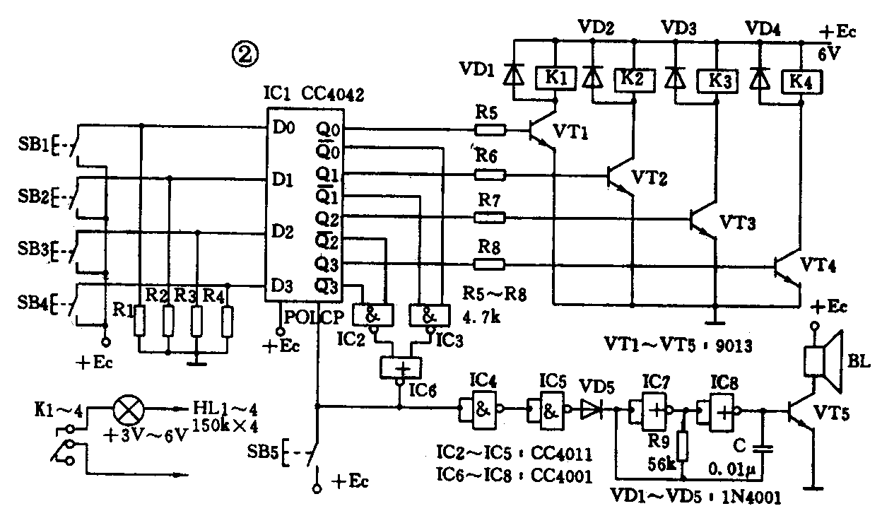
电路如图2所示,该电路主要由按钮控制器、锁定触发器、驱动器、灯光显示器以及音响指示器等部分组成,SB1~SB4与电阻R1~R4组成按钮控制器,IC1为锁定触发器,平时,IC1的输入端D0~D3通过电阻R1~R4接低电平“0”,其输出端Q0~Q3为“0000”,Q0-~Q3-为“1111”,使得IC2、IC3输出为“00”,IC6输出为“1”。由于IC1的极性端POL接高电平,使IC1处于接收状态,当任一按钮开关按下使其输入端接高电平时,假如SB1按下,Q0~Q3为“1000”,Q0-~Q3-为“0111”,IC2、IC3输出为“01”,IC6输出为“0”,CP端从高电平立即变为低电平,锁存输入数据,而对随后来的其它数据信号不再转送,只有按复位开关SB5才能使其复位。

三极管VT1~VT4,继电器K1~K4,显示器HL1~HL4等组成驱动器和灯光显示器,IC7、IC8和VT5、R9、C组成音响指示器,当IC1集成块的输出端Q0~Q3为“0000”时,三极管VT1~VT4截止,继电器K1~K4释放,显示器不亮;同时,IC1的Q0-~Q3-输出为“1111”,使IC2、IC3输出为“00”,IC6输出为“1”,IC5输出为“1”,音频振荡器停振,扬声器无声。
当IC1集成块的输出端Q0~Q3为“1000”时(假设SB1按下),即Q0输出为“1”,VT1饱和导通,继电器K1吸合,显示器HL1亮,同时,Q0-~Q3-输出为“0111”,即Q0输出为“0”,使IC2、IC3输出为“01”、IC6输出为“0”,IC5输出为“0”,音频振荡器起振,扬声器发音。
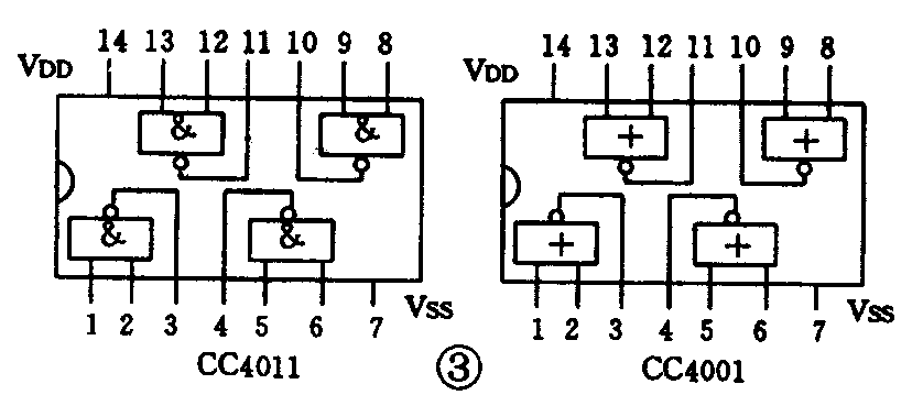
IC1为CC4042四锁存D型触发器,前面已经介绍过,IC2~IC5为四2输入与非门CC4011,IC6~IC8为四2输入或非门CC4001,图3为集成电路引脚图。

继电器K1~K4采用4098小型继电器,电压为4.5V~6V,SB1~SB5可选市售任何一种2×1按钮开关。HL1~HL4选2.5V或6V的小电珠。
按图4制作印制电路板,调试时,先按复位开关SB5,使小电珠不亮,扬声器无声。当抢答按钮开关按动后,相对应小电珠亮。音频振荡器起振,扬声器发声,按其它抢答按钮应无用,结束后按复位按钮SB5使其复位,然后进行下一轮抢答。

二、三路循环彩灯
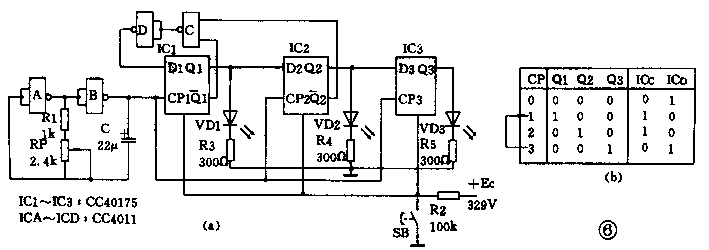
用D型触发器可组成环形计数器电路,如图5a所示。工作过程是:先将计数器清零(R置1),此时,Q1=Q2=Q3=“0”电平,Q3-=“1”电平,第1级D1端也为“1”电平,以后,当时钟脉冲来到时,第1级触发器Q1为“1”电平,其余各级触发器输出均为“0”,如为三级触发器,输出状态将为“100’,在第二个时钟脉冲的作用下,输出状态变成“ 110”,直至第三个CP脉冲到来后,使Q3-转为“0”电平,第四个CP脉冲到来时,使Q1为“0”电平。依次类推,环形计数。图5b为环形计数器的真值表。

循环彩灯的线路图见图6a,它由振荡器,环形计数器等组成。振荡器由门A、门B两只非门组成,振荡频率由R1、RP、C决定,调节RP能改变振荡频率,所产生的一系列脉冲信号送至环形计数器脉冲输入端CP,环形计数器由D触发器组成,门C、门D组成反馈逻辑电路,反馈逻辑为D1=Q1-·Q2-,可见,只有当Q1、Q2都为0,即Q1-、Q2-都为1时,反馈逻辑电路才使D1为“1”电平,而其它时候D1为“0”电平,图6b为逻辑表。

电路中IC1~IC3采用CC40175四D触发器,门A~门D采用CC4O11四2输入端与非门。在振荡器部分,需将二只与非门的输入端并接,使它成为非门逻辑,图7为集成块引脚图,VT1~VT3采用φ3mm或φ5mm的发光二极端,SB为小型按钮开关。

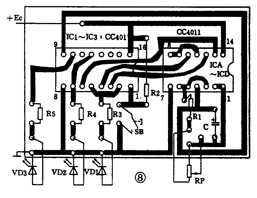
整机安装在图8所示的印制电路板上,一般通电后发光二极管可循环闪烁,可按SB按钮计数器回零,然后VD1~VD3应循环发亮,调节RP可改变闪烁频率。 (程国阳)

