利用专用数字钟集成电路LM8560或TMS3450NL及四位LED显示屏组装成的数字钟具有电路简单、体积小、计时准确、显示清晰等优点,广泛用于家庭计时、装饰、自动控制及专用的仪器设备上。本文介绍的时间控制器除具有以上优点外。同时采用大触点电流的继电器,控制的电器功率可达2500W(220V),足够一般家庭及工业控制上使用。它的体积小,可以随便安装在组合音响、家电、农村自动广播设备上。本组件已配带上按钮及开关,只需接上一个双6V交流的小变压器(2W~3W)即可正常使用。
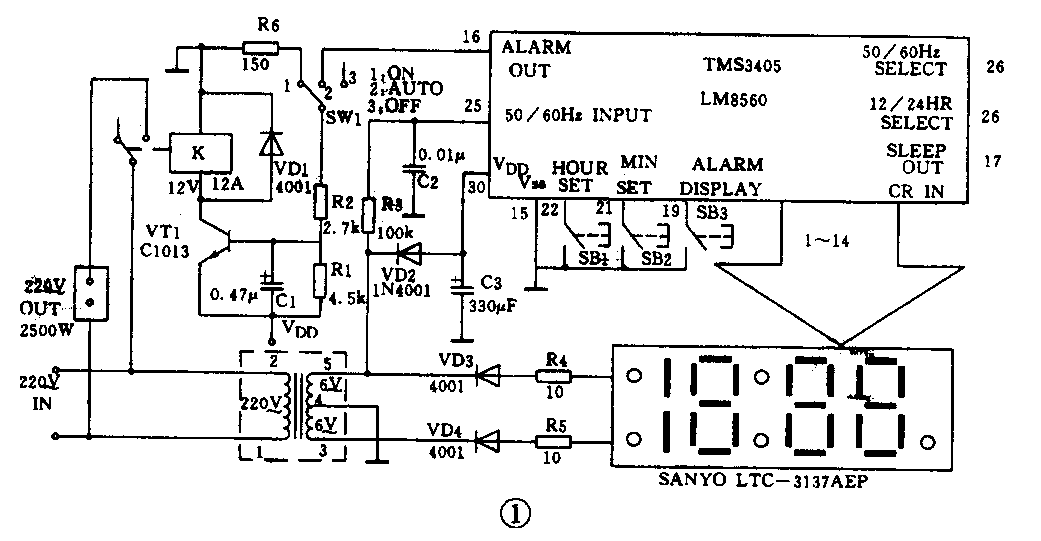
电路工作原理见图1。其中主要的部件是一块双列直插28脚的大规模集成电路,它内部集成了数字钟所需的振荡器、分频器、计数器、比较器、输出驱动电路等,仅需输入50Hz或60Hz工频时基信号即可工作。输出采用扫描方式,可配合双阴极LED显示屏。本组件所用的显示屏为日本三洋公司的超小型双阴极显示屏,显示屏的有效发光面仅36mm×10mm,非常适合安装在各种需要控制的电器上。由于所用的显示屏为双阴极形式,两个共阴极轮流导通,故需要两组极性相反的电流。本组件采用一个双6V变压器,利用两端极性相反的原理,供给显示屏使用。由于LED只能使用直流电,故采用VD3、VD4整流,R4、R5作限流。VD2半波整流再经C3滤波后的直流电供IC使用,而R3降压后的50Hz交流电用以提供IC作计数脉冲用。SW1为功能开关,置1为开继电器,置2为定时开继电器,置3为停用继电器。三个按钮是用于校时校闹的:SB1校时,SB2校分,SB3为校闹(即定时开启的时间),一天24小时内可任意设定。校闹的方法是:按下SB3,显示屏显示闹时时间,不要放开SB3,此时按下SB1或SB2,即可调校闹时。如果SB3松开,则所校的时间是标准时间,这点应注意。面板上的发光二极管是用于工作指示的。图1中虚线框为3W左右、输出为双6V的小变压器,考虑到邮寄的重量或工作方式的不同,原组件内没有配备变压器,对于大量用于产品中的用户,可在设计原产品时多留一组2×6V绕组即可。

图2A、2B为本组件实物图及面板布置图,尺寸已标于图2中。图2B中有四块金属插片,其中中间2块为220V输入,侧边两块为220输出,则继电器便可以控制输出电压的开关。

广州通途电子有限公司供时控器组件每个25元,邮费5元/个,百个起15元。空调、仪器、全新家庭影院及其它产品彩照数百种。电括020-83592575。地址:广州市麓景西路狮带岗中7号101,邮编:510091。 (李隆)