一、活动简介
延时电路构成的节能开关可以解决楼梯和楼道中的“长明灯”问题。光控电路则可以根据光线的强弱自动开关某些电器。有些城市中路灯的开启和关闭是由人工操作的,如果采用光控电路实现自动控制,可以减轻工人的劳动强度,更有效地节约能源。本活动所介绍的光控灯电路也是一个示意性电路,从中可以了解光控电路的工作原理。
二、活动目的
1.了解光敏电阻器的特性。
2.了解光控灯的工作原理。
3.掌握光控灯的调节方法。
4.思考光控电路的其它应用。
三、活动准备
1.实验套件:插接电路面包板;红色发光二极管一只;硫化镉光敏电阻器一只;680Ω(色环为蓝、灰、棕)、100kΩ(色环为棕、黑、黄)电阻器各一只;470kΩ微调电阻器一只;蜂鸣器一个;NPN型(9014)三极管两只;插接用短导线一根。
2.工具仪表:万用电表、尖嘴钳。
3.四节5号电池。
四、活动过程
1.通过实验了解光敏电阻器的特性
按照图1所示的电路,将一只发光二极管和一只光敏电阻器(光敏电阻器的外形如图2所示)串联起来接在6V电源上。当光敏电阻器处在亮光下时,它的阻值较小。所以发光二极管较亮。当用东西遮住光敏电阻器,使它处在较暗的环境下时,它的阻值较大,发光二极管几乎不亮。


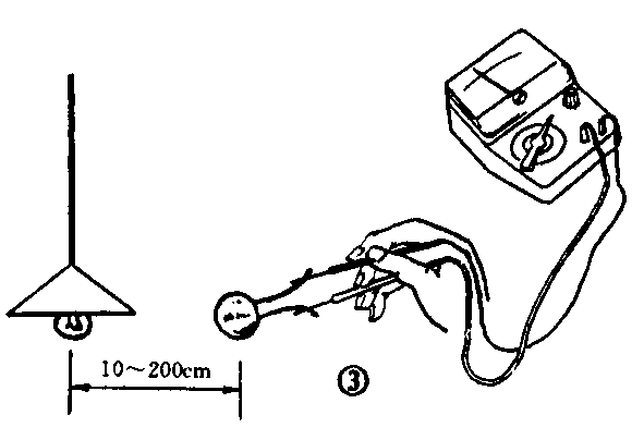
2.用万用电表测量光敏电阻器的阻值
在一个光线较暗的室内,点一盏60W的白炽灯。用万用电表测量光敏电阻器的阻值(图3)记录下光敏电阻器距白炽灯不同距离时的阻值,记录在附表中。由于硫化镉光敏电阻器的离散性较大,所以测量的阻值会各不相同。

附表
与灯泡的距离 10cm 50cm 100cm 200cm 完全遮光时
光敏电阻值
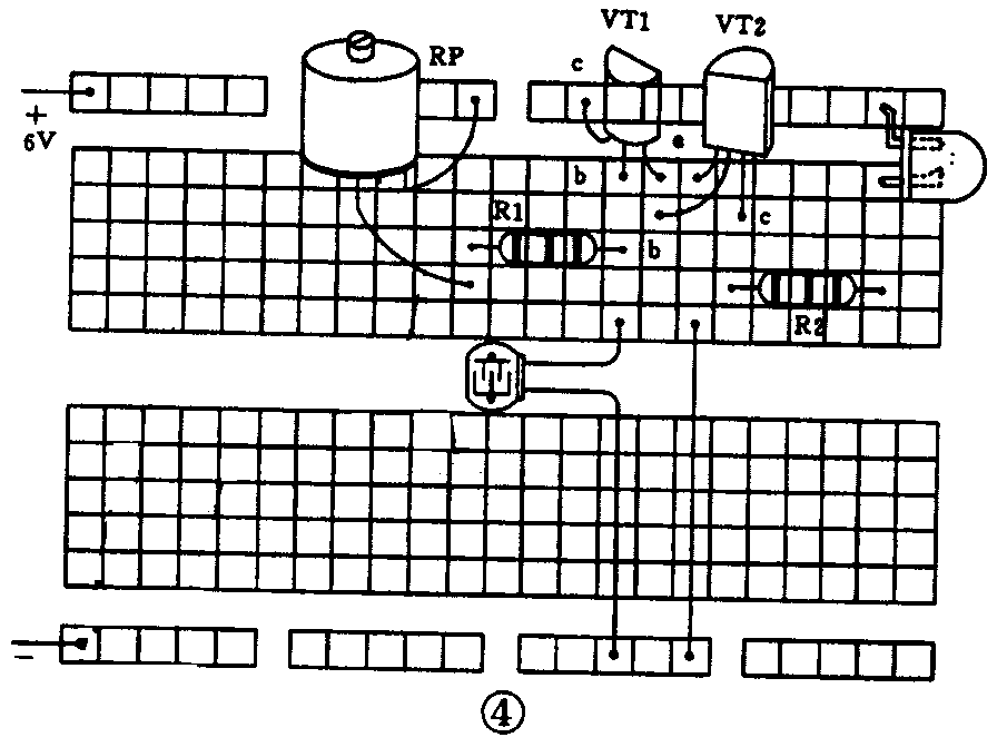
3.制作光控灯电路
图4是延时灯电路的电路板插接实物图。按图4准备好电路插接面包板。

(1)将一根短导线按图插到电路插接面包板上。
(2)把两只电阻器插到电路板上。
(3)把发光二极管插到电路插接面包板上,正极在上,负极在下方。
(4)把两只三极管VT1(9014)插到电路插接面包板上,注意三极管的管脚极性。
(5)把光敏电阻器插到电路插接面包板上。
(6)把微调电阻器插到电路插接面包板上,注意微调电阻器旁边的一个脚不用。
(7)检查一下电路是否连接正确,接通电池正负极(正极在上边,负极在下边)。
(8)调整微调电阻器(阻值由小到大),使发光二极管刚好不亮。
(9)用手遮住光敏电阻器,发光二极管应能亮。
4.指导学生调节光控电路。
5.启发学生思考光控电路的其它应用。
6.指导学生评价及活动小结。
(1)检查学生通过活动是否了解光敏电阻器的特性。
(2)是否会组装和调试光控灯电路。
五、活动指导
1.光控灯电路的工作原理
图5是光控灯电路的电原理图。当光线较亮时,光敏电阻器的阻值较小,调整微调电阻器RP使三极管VT1基极的电压较低,三极管VT1和VT2不能导通,发光二极管不亮。如果环境光线变暗,光敏电阻器的阻值变大,三极管VT1基极的电压升高,三极管VT1和VT2同时导通,发光二极管亮。调整微调电阻器RP可以改变点亮发光二极管时的照度,微调电阻器RP的阻值越小,点亮发光二极管时的照亮要求就越高。

2.学生看书学习都需要一定的光照,光线太弱或光线过强,都对眼睛不利。为了保护视力可以做一个光控报警器,来监视阅读环境的亮度。图6就是一个光控报警器,它是将图4中的发光二极管和680Ω电阻器换成一个蜂鸣器而演变成的。当光线较暗时蜂鸣器会发出鸣叫,提醒人们开灯照明。

3.将图6的电路再改变一下,如图7所示。这个光控报警器就成了一个亮光报警器,当光线达到一定亮度时蜂鸣器才会发出鸣叫。

六、注意事项
在实验中要注意,由于硫化镉光敏电阻器的离散性较大,所以电路的调整是必不可少的。
七、有关知识
1.硫化镉光敏电阻器
目前最常见的光敏电阻器是硫化镉(Cds)光敏电阻器。光敏电阻器是利用半导体光敏导电的原理制造的。这种光敏电阻器的基座是陶瓷片,上面涂有硫化镉多晶体,再经烧结制成。光敏电阻器的表面还涂有防潮树脂。
光敏电阻器的光谱特性曲线与人眼对可见光的响应曲线比较接近。光敏电阻器的电阻值随光照强度而变化。在黑暗条件下它的电阻值可达10MΩ,在强光下它的电阻值仅为数百欧姆或数千欧姆。光敏电阻器的光照特性在多数情况下是非线形的,只有在微小区域内呈线形。光敏电阻器的电阻值有较大的离散性。
光敏电阻器的灵敏度是指光敏电阻器不受光照时的电阻值(暗阻)和受光照时的电阻值(亮阻)的相对变化值。在一般情况下,照度越低,单位照度改变时的电阻值变化越大。即在低照度下光敏电阻器的灵敏度较高。
2.其它的光电器件
除了硫化镉光敏电阻器外,还有一些经常使用的光电器件。如2CR系列硅光电池,它不仅可以作电源,而且也可以作光敏器件使用。如一块5×10mm\(^{2}\)的硅光电池在一定的光照下,开路电压可达0.5V,输出电流可达10mA左右。虽然硅光电池是一种理想的光电转换器,但是由于它的价格较贵,所以还没有大量推广使用。
光电二极管(如2CU型硅光电二极管)也是一种常用的光电器件,在暗光下它的反向电流极小,在光照下它的反向电流明显增大。遥控电视机中接收红外信号的光电器件就是光电二极管。还有一种光电三极管(如3DU型硅光电三极管),它是光电二极管与三极管的组合,它的灵敏度要比光电二极管高得多。由于管子中的三极管基极是与光电二极管相接的,所以光电三极管的外观只有两个电极,与光电二极管相似。
3.光控电路的应用
在养鸡场为了提高母鸡的产蛋率,除了供给必须的饲料外,充足的光照也是一个重要条件。在鸡舍中安置一套灯光自动控制系统,不仅可以减轻饲养员的劳动强度,而且可以提高鸡的产蛋率。在阴雨天鸡舍自然光照不足时,灯光自动控制系统可以自动开灯照明。(周海)