SFG-15N1A是霍尼韦尔(Honeywell)公司生产的力传感器,是一种硅压阻式力传感器。它是利用微细加工工艺技术在一小块硅片上加工成硅膜片,并在膜片上用离子注入工艺做了四个电阻并连接成电桥。当力作用在硅膜片上时,膜片产生变形,电桥中两个桥臂电阻的阻值增大;另外两个桥臂电阻的阻值减小,电桥失去平衡,输出与作用力成比例的电压信号,如图1所示。

该力传感器的特点是:结构简单、内部无放大电路及温度补偿电路、功能低、有较好的线性度及重复性、较高的灵敏度(0.24mV/g,典型值),最大可测力1500g、最大的过载力可达5500g、工作温度范围宽(-40℃~+85℃)等。其缺点是没有温度补偿,在较大的温度范围使用时有一定的温度误差。
该传感器应用范围较广,其典型应用如医疗注入泵、肾透析仪、机械手(感觉触力)、张力控制器、负载或压缩力的测量、接触力的测量等。
主要技术参数
FSG-15N1A的主要技术参数如附表所示。

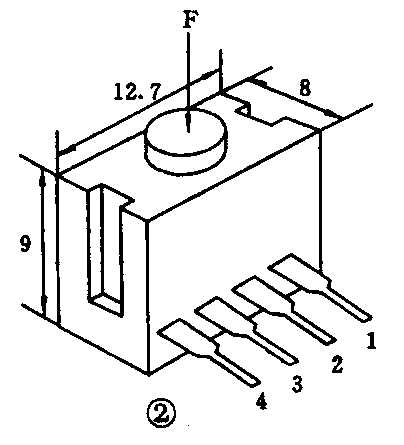
外形及安装
FSG-15N1A的外形如图2所示,其引脚1~4与图1中相对应,即①脚接电源正,③脚接电源负,②、④两脚为电桥输出。

该传感器安装方向可任意,不会因安装方向而引起性能变化。要注意的是不要堵住壳体底部的排气孔,若错误地堵住排气孔则将引起输出不稳定。
安装可采用专用的支架,如图3所示。

应用电路
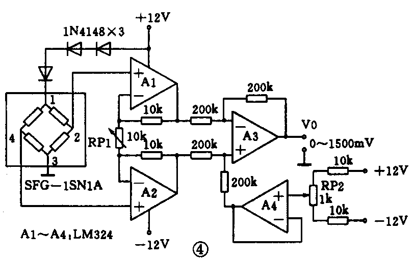
图4是一种测量电路,当作用力为0~1500g时,V\(_{0}\)输出0~1500mV(灵敏度1mV/g)。电源由±12V供电,力传感器由12V经三个二极管降压后(约10V)供电。A1~A3组成仪器放大器,其差动输入端直接与力传感器2脚、4脚连接。A4接成跟随器,输入电位器RP2的电压,其作用是消除零点输出,即作用力为零时,若电桥有不平衡输出或放大器有失调电压时,可以调整RP2,使输出V0=0V。调整RP1(调放大倍数)可以在满量程1500g作用力时,使V\(_{0}\)=1500mV。

为保证仪器放大器的精度,电阻应采用金属膜电阻,A1~A3中的电阻精度为1%或经过配对为好。(方佩敏)