例1.故障现象:插入带盒拍摄,几分钟后倒回原处重放,电子寻像器内黑白图像正常。取出带盒拿到正常的录像机上重放,监视器上有正常的伴音信号,但图像无彩色。
分析与检修:拍摄后将磁带倒回原处重放,监视器上有正常的伴音信号和黑白图像,说明该机亮度信号处理电路和伺服控制电路工作基本正常。为了迅速确定故障存在的部位,将交流适配器上的多芯插头与摄像机连接好,然后将视频/音频信号接到监视器输入插座,打开电源开关,将摄像机镜头对准景物,监视器上彩色图像显示正常,说明摄像头视频信号输出正常,故障在录/放色度信号处理电路中。取一彩色节目内容完好的录像带插入摄像机内重放,监视器屏幕上显示的图像仍无彩色,用麂皮包头棒擦洗视频磁头后重放故障仍然存在,说明该机记录和重放状态图像均无彩色,故障在录/放色度信号处理公共电路中,该电路如图1所示。用示波器观察色度信号处理集成块IC8001①脚(重放降频色度信号输入)正常。将示波器探头移到脚观察重放色度信号正常,说明主、副变换器工作也正常。观察IC8001发现色度输出信号丢失。用万用表检查IC8001对地电压,电压为0V,正常值应为2.6V,说明IC8001内部消色电路已关闭。切断电源开关,用500型万用表检查IC8001各脚在路对地电阻,没有发现明显问题,故障可能在IC8001脚至电路之间。重新接通电源开关,按下重放键,用示波器观察IC8001无重放色度信号输入,将示波器探头移到录/放色度信号放大晶体管QR8004/XN4512B管集电极观察色度信号正常。用一只0.01μF电容直接将QR8004B管集电极输出的重放色度信号接入IC8001,监示器上立即出现彩色图像,拆下该电容图像彩色便消失。检查在路耦合电容C8018/0.01μF正常,用万用表R×1Ω量程挡检查电容C8018(靠IC8001一端)至IC8001之间电阻值为∞,正常值应通路,说明这段印制板线条存在断裂开路故障,因此造成录/放色度信号中断,于是出现上述故障现象。排除方法:NV-M7摄像机色度信号处理电路安装在双面印制板上,电路体积小,线条既密又细,检修时很难从印制板上找出断线部位,遇到这种情况,可将电容C8018(靠集成块IC8001一端)与IC8001之间用胶质导线接通焊好,机器工作就能恢复正常。

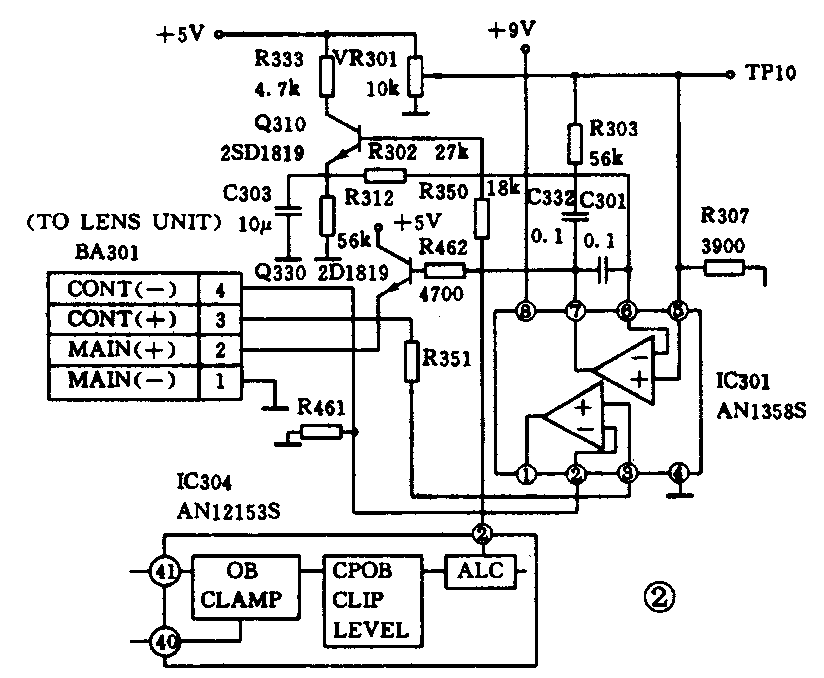
例2.故障现象:接通电源开关,取下镜头盖,电子寻像器内E……F电力显示正常,将摄像头对准拍摄景物,寻像器内无图像。
分析与检修:接通电源开关,电子寻像器内E……F电力显示正常,说明该机开关电源工作基本正常,插入带盒重放,寻像器内有正常的黑白图像,说明寻像器本身也是好的。弹出带盒注意观察,发现寻像器内聚焦区域框不停地闪亮,说明景物照度过低,用一只1000W新闻灯作光源,增大景物照度后寻像器内仍无图像,初步判断故障在摄像头或自动光圈控制电路中。拆开左右两边机壳,卸下摄像头中的方形屏幕罩,观察安装在摄像头中部的光圈组件和驱动电机接插件连接正常,但从光圈组件顶部开缝处看不到瓣状金属片,说明光圈已处于关闭状态。用手握住镊子拨动光圈组件底部光圈开启/关闭移动杆,光圈开启后寻像器内立即显示正常的黑白图像,松开手图像便消失,估计故障存在自动光圈控制电路中。该电路如图2所示(该电路固定安装在摄像头右侧VEP23063B双面印制板上)。用万用表检查接插件BA301各脚对地电压,发现②脚(光圈电机驱动电压)为0V,正常值应为1.2~4.8V。检查集成块IC301各脚对地电压,测得⑤、⑥脚均为1.1V,⑦脚为0V,正常值⑤脚电压为1.2V,⑥脚电压在1.2~1.25V之间变化,⑥脚电压为1.2V时⑦脚输出高电平7V,光圈开启最大。⑥脚为1.25V时⑦脚输出低电平1.8V,光圈关闭最小。用万用表监测IC301⑤脚(同相输入端门限电平)电压,调节光圈调整电位器VR301,⑤脚电压不变化,检查VR301滑动臂电压能在0~4.8V之间变化,因此故障存在VR301滑动臂至IC301⑤脚这条线路中。用放大镜观察发现电阻R306/82kΩ存在虚焊,重新焊好后机器工作恢复正常。(黄福森)
