编者按:
本刊与北京音乐台、北京恒声机电有限责任公司联合举办的DIY德国VISATON Hi-Fi音箱国际大奖赛即将开始(见广告页),相信乐于此道的音响爱好者一定会涌跃参加。为了让大家更好地掌握制作音箱有关知识,特邀耿纯同志根据他的经验撰写此文,仅供参考。
要想坐在家里欣赏优美的音乐,就要具备最基本的音响器材。例如有一台卡式录音座或是CD唱机作为信号源,有一台音频功率放大器和一对音箱以及音频信号线、音箱线,就可以组成最基本的音响器材。在音响器材中,有结构复杂的CD机和功放,也有结构并不复杂的音箱。但在音响器材之中,最具有个性,对重播音乐影响最大的,恰恰就是看似简单的音箱。所以对音箱的重播音色而言,也就有了所谓的“英国声”、“美国声”、“德国声”、“日本声”之说,也就有了动辄数千元、上万元,乃至百万元一对的音箱。
对于经济并不宽裕的音乐爱好者和想从自己动手中获得乐趣与真知的音响爱好者来说,最便于自制的音响器材莫过于音箱了。只要你知道一些音箱设计制作中的规律性的东西,亲手制作出一对令自己满意的音箱还是可以办到的。
在音箱制作与调试的过程中,有如下的问题需要注意。
一、选好扬声器单元
扬声器单元,俗称喇叭,是音箱能够发出声音的关键部分。人们只有借助于扬声器单元,才能将CD机、功放传出的音频电信号转换成听得见的声音信号。
扬声器单元一般分为高音、中音、低音三大类。基本上属于各司其职的工作范围。对于制作优良的小口径的低音单元来说(一般泛指低音单元的扬声器口径小于6.5英寸),它们一般可以兼顾中音扬声器的作用;而一只设计优秀、具有足够承受功率的高音单元来说,也可以兼顾一部分中音扬声器的作用。因此,在小型书架式或落地式音箱中,只采用一高二低两只扬声器单元的实例是十分普遍的。下面就具体地谈谈选择扬声单元的问题。
1.怎样选择高音单元
高音单元顾名思义是为了重播高频声音的扬声器单元。高音单元的结构形式主要有号角式、锥盆式、球顶式和铝带式几大类。
号角式高音单元由于指向性强,在号角正面能听到强大的高音,多用于大功率的扩声、会议音箱和一少部分的监听音箱。
锥盆式高音单元由于振膜面积过大、过重,高频特性不如其它类型的高音单元,故而多见于老式音箱之上而近年已逐步被淘汰。
球顶式高音单元是目前在家用音箱和小型监听音箱中最常用的高音单元。
球顶式高音单元从球顶结构上分,可分为正球顶单元和反球项单元。
球顶式高音单元从球顶材料上分,又分为硬球顶和软球顶两大类。
硬球顶高音的振膜材料有铝合金、钛合金、钛合金复合膜、玻璃膜、钻石膜等数种。硬球顶高音单元所重播的高音,音色明亮,具有金属感。适合播放流行音乐、电影音乐及效果音乐。加工制作优秀的铝合金膜、钛合金复合膜球顶高音,也能较好地表现古典音乐及人声。
软球顶高音的振膜材料有绢膜、蚕丝膜、橡胶膜和防弹布膜等数种。软球顶高音单元重播音乐时的高音灵巧、松弛,具有很好的自然表现力。在表现古典音乐、人声等具有标准听音概念的音乐时,尤为得心应手,是制造中、高档的家用音箱及小型监听音箱的理想选择。尤其是近年来的绢膜、丝膜球顶高音其重播的上限频率已可达到40000Hz。从理论上讲,高音单元的上限频率至少要达到20000Hz,越高越好。但高频上限优秀的单元,其价格也要贵一些。
正球顶高音单元在播放音乐时。其水平扩散角度要大一些;反球顶高音单元在播放音乐时,水平辐射角较小,但音色较纯,承受功率也较大。
铝带式高音单元是一种问世很早、历史悠久的高音单元。只是由于它的结构因素,真正把它的高频上限频率做得足够高、功率做得足够大并不是一件容易的事,所以普及起来并不容易。铝带式高音单元的上品,其上限频率也有30000Hz以上的,承受功率目前也有超过150W的。
如果你是一位古典音乐爱好者,又对重播时的音色要求很严格,你不妨选择绢膜等软球顶高音单元。如果你的音箱在使用中还要兼顾卡拉OK和播放电影,选择硬球顶单元会好一些。当然这并不是绝对的,因为音箱的重播音色,除与所选用的单元有关外,还与分频器的设计,箱体的制作等诸多因素有关。
2.中音单元的结构形式
中音单元一般只有锥盆和球顶两种。只不过它的尺寸和承受功率都比高音单元大而更适合于播放中音频而已。中音单元的振膜以纸盆和绢膜等软性物质为主,偶尔也有少量的合金球顶振膜。
3.怎样选择低音单元
低音单元的结构形式多为锥盆式,也有少量的为平板式。
低音单元的振膜种类繁多,有铝合金振膜、铝镁合金振膜、陶瓷振膜、碳纤维振膜、防弹布振膜、玻璃纤维振膜、丙烯振膜、纸振膜等等。
纸振膜又被称为扬声器纸盆。纸振膜又分为纸盆、紧压纸盆、纸基羊毛盆、强化纸盆等很多种。采用铝合金、铝镁合金振膜的低音单元一般口径比较小,承受功率比较大,而采用强化纸盆、玻璃纤维振膜的低音单元重播音乐时的音色比较准确,整体平密度不错。
在选择扬声器单元时,高音单元的承受功率一般不低于低音单元的十分之一;如果是采用二分频、二单元制作的音箱,高音扬声器的承受功率还要再高一些。
在制作三分频的音箱时,中音单元的承受功率只要能达到低音扬声器的三分之一就足够了。
在选择扬声器单元时,最好是选择同一阻抗的。常见的低阻抗扬声器单元一般分为4Ω和8Ω两种。
在选择扬声器单元时,还要注意选择同一灵敏度档次的,一般以86dBW·m为中等灵敏度。低于84dB的叫低灵敏度扬声器,高于90dB的叫高灵敏度扬声器。
如果在选择扬声器单元时,阻抗和灵敏度相差太大,在制作音箱时,就会遇到分频器不好设计和各频段声压不平衡的问题。
当然,在制作二分频音箱时,高音单元的下限频率低于2kHz、低音单元的上限频率高于4kHz,将为调整音箱时带来不少的方便。
二、分频器的选择与制作
当你选定了扬声器单元之后,随之而来的就是要选择和制作分频器。分频器分为普通式的分频器和电子分频器两大类。
电子分频器是将信号源传送过来的微小音频信号直接进入电子分频器。由电子分频将全频带(从低音到高音)的信号分成为高音和低音信号,分别传送到相对应的功放进行放大,然后再推动相对应的扬声器单元发出声音见图1。电子分频是一个相对比较复杂,但重播效果良好的音乐重播系统。电子二分频系统除分频器外,还需要4个声道的音频功率放大器。电子三分频系统,需要6声道的功放,而电子四分频则需要8个独立声道的功放。电子分频的优点是重播音色好,各频带间的平衡调整简便易行,但制作成本较高。

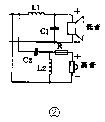
对于自制音箱来说,采用传统的功率分频器比较简单,见图2。从图中可以看出,传统的功率分频器只有L1、C1、L2、C2以及高音衰减电阻R等5个元器件就可以组成。L1、C1组成低通滤波器,通过它的作用,只保留音频信号中的低频部分去驱动低音扬声器单元。L2、C2组成高通滤波器,只保留音频信号中的高频部分去驱动高音单元。普通的二分频器还可以采用一只电感、一只电容的分频方式和比图2复杂的分频方式。这些不同的分频方式各有优缺点。但本文的出发点还是以最常见的图2为基础。

我们在附表中列出了在不同扬声器阻抗、不同的分频频率下的电感与电容的数值。

为什么要列出这么大的一堆数值?这自有它的道理。只要你的扬声器单元足够好,音箱的设计与加工合理,调试准确,不论分频频率采用2000Hz、3000Hz还是4000Hz,都可以得出一条平坦地、合格的测试曲线;但在主观听音时,不同分频点音箱的重播音色与音乐表现则大不相同。分频频率偏高的音箱,高频比较亮丽,但整体音色偏薄;分频频率较低的音箱,重播音色比较厚道、自然。当然这一切都是在一定的范围内进行的。如果分频点偏移过大,将会由于扬声器单元自身频宽的限制,造成高、低音的衔接不良。
有这样一条规律,这就是分频点选得越低,分频器所使用的电感和电容数值就越大,制作成本也就越高。所以有些不太负责任的厂家,将产品的分频点选得很高,这就保证不了音箱重播时的声音表现。
普通分频器虽然结构简单,但在制作方面,也有它的特性。
1.怎样选择电感线圈
分频器所使用的电感线圈分为空芯线圈和铁芯线圈两类;而铁芯线圈又分为真铁芯和铁氧体芯两类。
在分频器中,空芯线圈的效果是最好的,但相对也是体积最大、制作成本最高的。空芯线圈的优点在于失其低、受扬声器磁场的影响小。在选择空芯电感线圈时,主要应注意电感线圈线径的选择。所选用的漆包线,一定要能够承载相应的功率电流。如果所用的线径偏细,在大功率下工作时,电感线圈容易过热烧毁。所选用的线径,通过计算,只要够用或有些余量就可以了。盲目加大线径,一来成本太高,二来加工起来难度也较大。
铁芯线圈和磁芯线圈(铁氧铁线圈)可以缩小线圈的体积,降低制作成本。但由于导磁体的介入,会引入由于磁饱和而造成的失真。同时也会由于扬声器单元磁场的影响。造成分频点的偏移。
在选择铁芯线圈时,铁芯自身的功率是一个关键。通过大量地实验证实,铁芯线圈功率只有达到或超过低音单元最大功率的50%以上时,才能以较低的失真正常工作。
铁芯线圈由于铁芯材料磁滞的影响,使得重播音色甜化,但瞬态特性也有所降低。
近年来的功率分频器,稍好一点的,基本上都采用空芯线圈。
空芯线圈以圆型漆包线绕制的成本最低。使用绞合线、六角线、带状线的成本会贵很多。目前已有不少品种的无氧铜漆包线,使用之后,重播音色会有所提高。
2.怎样选择分频电容
在分频器中,电容的可选择种类很多。从最普通的电解电容、无感电容、音频专用通心电容、涤纶、聚苯、聚丙电容应有尽有。但这些电容的价格也一种比一种高,有些个别名牌的电容,卖成了天价。
使用名牌的电容,固然有容值准确、性能稳定、重播音色好等优点。但对于中档左右的自制音箱来说,选择百元一只的电容,就有些成本偏高。
在选择分频电容时,低频通道可以选用精度高、质量好的电解电容反向串接,或在其两端并一只小型聚苯、聚丙电容见图3。这样做效果不错,价格又很经济。至于高频电容,由于容量小,价格相对比较低,适当选择好一些无妨。

对于高频衰减电阻的选择,主要是注意电阻本身的功率。用在大功率的音箱中,衰减电阻的功率相对也要大些;用在小功率的音箱中,电阻的功率也可以减小。否则就会造成大头小身子或小头大身子的不匹配现象。
总之,在选择分频器的元器件时,要目的明确,量体裁衣,才是最经济、最合理的。
三、箱体加工
在音箱的制作过程中,音箱箱体的加工是至关重要的一环。
在箱体加工中,最重要的只有两点,一是箱体加工尺寸精度要高;二是箱体材料选择准确。
在制作音箱箱体的材料中,有高级原木;有高强度的多层板;有合成材料;也有有机玻璃和石材等。所谓的高级原木,不单单指木材本身的高档、名贵,最重要的是木材本身要经过多年的干燥和老化处理。只有这样,才能保证制作的箱体不开裂,不变形。
经过前人多年的实践,制作音箱箱体的材料,以足够厚度的多层板和高级原木的音色最好,但价格也最贵。有机玻璃箱体的整体感也不错;中密度板,是制作音箱箱体最实惠的材料。
在音箱箱体的加工中,有如下的几种方法:
1.折弯法见图4。此方法是在计算好的、贴有PVC面料的长条中密度板上开V形槽,然后弯折、胶合而成的音箱箱体。大批量的音箱生产多采用此法。

2.镶条加固法见图5。在自制音箱中,根据图纸将板料切好,然后在板料的接口处,加上涂胶的木条进行加固结合。这种方法适合手工制作音箱。

3.拼装法见图6。这是一种音箱制作的新工艺。在音箱板的四周,用精密加工机械开有45°+90°的斜面和缺口。在手工制作的音箱箱体时,可以通过音箱板材90°缺口的自定位作用和45°的长斜面,只要在接口处涂上足够的胶粘剂,拼装后用绳子扎牢,待胶干后,即可得到加工精度高、坚固美观的音箱箱体。

待音箱箱体完成后,只要对箱体表面进行喷漆,贴木皮等装饰处理,就大功告成了。
四、自制音箱的装配调试
在自制音箱的总装调试时,有以下的几个问题需要注意:
一是分频器与扬声器单元的连线+、-极千万不可接错。如果接错了,音箱的声音怎么也调不好。
二是在安装扬声器单元时,每只固定螺钉的松紧度要一致。否则音箱在工作时,容易产生意外的谐振。
三是倒相管的长度与箱内吸音材料的多少都要合适,否则对重播的音乐表现有影响。尤其是倒相管的长度,对音箱的测试频响的低端会产生直接的影响。
上述的几部分都要多次地、细心地调整才行。
自己动手制作音箱,是一个实践、长知识的过程。通过自己的辛勤劳动,即收获了音箱,又增长音箱制作方面的才干,还可以省下一部分购买成品音箱的钱改为它用,所以是一件多项收益的大好事。(耿纯)