在上一期我们介绍了与门、或门、非门电路的基本功能和简单应用,本期介绍与非门和或非门。
与非门是执行与非功能的逻辑部件。与非门电路实际上是在与门后面串接一个非门。图1a为二输入端与非门的逻辑图(与非门电路还有三输入端或四输入端等)。当输入端A、B都处于高电平时,输出瑞呈现低电平;只要有一个输入端处于低电平,输出端就会输出高电平。它的口诀为“有0就出1,全1才出0”。图1b是与非门的逻辑真值表。

或非门是执行或非功能的逻辑部件。或非门电路实际上是在或门后面串接一个非门。图2a为二输入端或非门的逻辑图(或非门电路还有三输入端或四输入端等),在A和B两个输入端都为低电平时,输出端才为高电平,只要有一个输入端是高电平,输出端就输出低电平。它的口诀为“有1就出0,全0才出1”。图2b是或非门的逻辑真值表。

下面介绍与非门和或非门的几个简单应用。
应用一:简易多路声光报警器
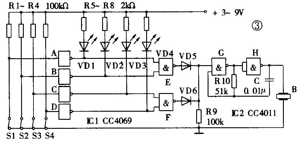
用CMOS集成电路CC4069和CC4011,可以制成简易报警电路,如果有小偷入室进行盗窃,碰开暗藏开关,就会发出报警信号。
电路如图3所示,A~D是非门集成块,E~H是二输入端与非门集成块。平时,A~D的各个输入端均处于低电平状态,其输出端均为高电平,发光二极管VD1~VD4不亮。E、F为二个选择门,输出为低电平,G、H组成的音频振荡器停振。当断开S1~S4中任何一端时,对应的A~D中的其中一个非门输出低电平,VD1~VD4中对应的一个发光二极管点燃,同时,选择门输出为高电平,音频振荡器振荡,发出报警信号。

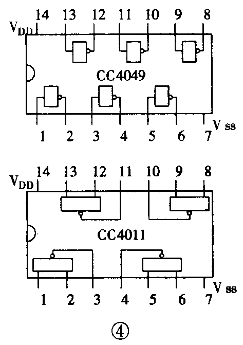
CMOS集成电路CC4011四2输入端与非门和六反相器CC4069的引脚排列见图4。整机安装在图5所示的印制电路板上。调试时先将S1~S4端用导线短接,这时,VD1~VD4应不发光,B不发声,当断开其中任何一根导线时,对应的发光二极管点亮,B发声。若S1~S4全部断开,VD1~VD4应全亮,B响,调试完毕。


应用二:简易家电保护器
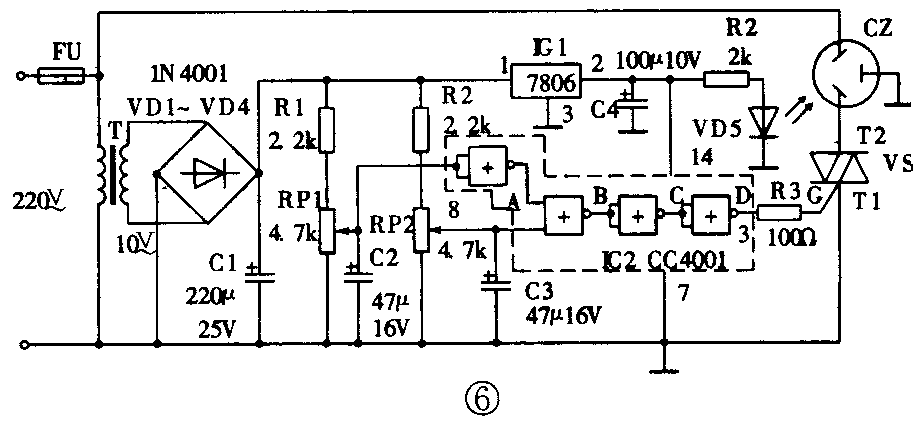
随着家用电器的日益普及,家电保护器越来越受到人们的关注。用CMOS CC4001四2输入端或非门集成电路制作的简易家电保护器,在电源电压大于240V或小于170V时,能自动断开电源起到过压和欠压保护作用。
整机电路分为电源取样电路和控制电路两部分。如图6所示,输入220V交流电经变压器T变压成低压后,由二极管VD1~VD4进行桥式整流。R1、RP1组成欠压取样电路,当电压低于170V时,或非门A输入端为低电平,输出端为高电平,或非门B输出为低电平,输出端3脚也为低电平,晶闸管VS截止,如同开关断开。R2、RP2组成过压取样电路,当电压高于240V时,或非门B的8脚输入为高电平,输出即为低电平,输出端3脚也为低电平,晶闸管截止,相当于断开电源。只有在电源电压大于170V且小于240V时,或非门集成块的输出端3脚才为高电平,晶闸管导通,电源接通。

CMOS集成电路CC4001为四2输入端或非门集成块,引脚排列如图7所示。变压器T次级电压为10V,稳压器IC1采用三端集成稳压块7806,晶闸管VS选用1A~2A/400V的,其余元件无特殊要求。

本机可按图8所示印制电路板制作。调试时,输入端采用调压器调压,在输出端C2处接只灯泡,观察欠压、过压时变化情况,将调压器旋转在170V的地方,调整RP1、使灯泡正好熄灭,当电压调在大于170V、小于240V时,灯泡应亮;当电压调在240V时,调整RP2使电灯泡正好熄灭,反复调节几次,只要小于170V电灯灭,大于170V小于240V电灯亮,大于240V电灯灭,就算调试完毕。

安装调试时应该特别注意安全,变压器初级端和电源插座CZ处都有交流电。调试完毕后应该在该处装上防护装置,以确保安全使用。(程国阳)