许许多多的家用电器,如彩电、空调、录像机、音响等都使用遥控器,平时人们常常会因忘记把遥控器放在了哪里而影响使用。本文向大家介绍一个非常简单的电路,当人们将遥控器的位置遗忘时,吹一声口哨就会得到应答。
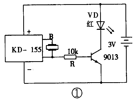
图1是加装线路,总共只有5只元件。图中KD-155为口哨声IC,它利用压电蜂鸣片B作为接收兼发声器件。当接收到特定音频的口哨声时,(频率1.8kHz左右),KD-155即刻会发出一阵清脆的雀叫声,然后停止(该IC原用于声控钥匙圈里,读者可向浙江晶龙电子有限公司邮购)。

为方便确定遥控器位置,还增加了发光显示功能。在B发出雀叫声的同时,信号经电阻R,再经三极管放大后使红色发光二极管发出闪烁显示。根据实测,发光二极管发光时工作电流为10~15mA,且为断续发光工作状态。故不必再加限流电阻。
印制板图见图2,将元件直接用电烙铁焊在印板面上(注意电烙铁要接地以免损坏IC芯片)。焊好后将电源与原遥控器上的电池相并联,注意电源极性不要搞错。

随后将KD-155加装在印制板反面光洁的一面用强力胶与原遥控器印制板有元件的一面空隙位置处粘牢。最后,再在原遥控器后盖对着B处用电钻钻上一些孔,以利口哨声接收敏感及雀叫声响亮。
压电蜂鸣片B选谐振频率在1.8kHz左右的效果最佳(如FT-10-20AT),也可以选用其它型号,注意B必须加上助声腔效果才好。发光二极管VD可选Ф3mm红色高亮度的,并将遥控器正面适当部位钻上一孔,用强力胶将VD装上即可。
装好后,遥控器就具有应答功能,但不会影响其正常使用功能。寻找时,一般只要吹一下口哨,遥控器就会响应而发出一阵雀叫声,然后自动关机,所以平时不耗电。据实测,一般响应接收距离可达3~5m。但遥控器若放在隐蔽处接收效果差,响应距离就会缩短,这是正常现象。(戴树鸿)