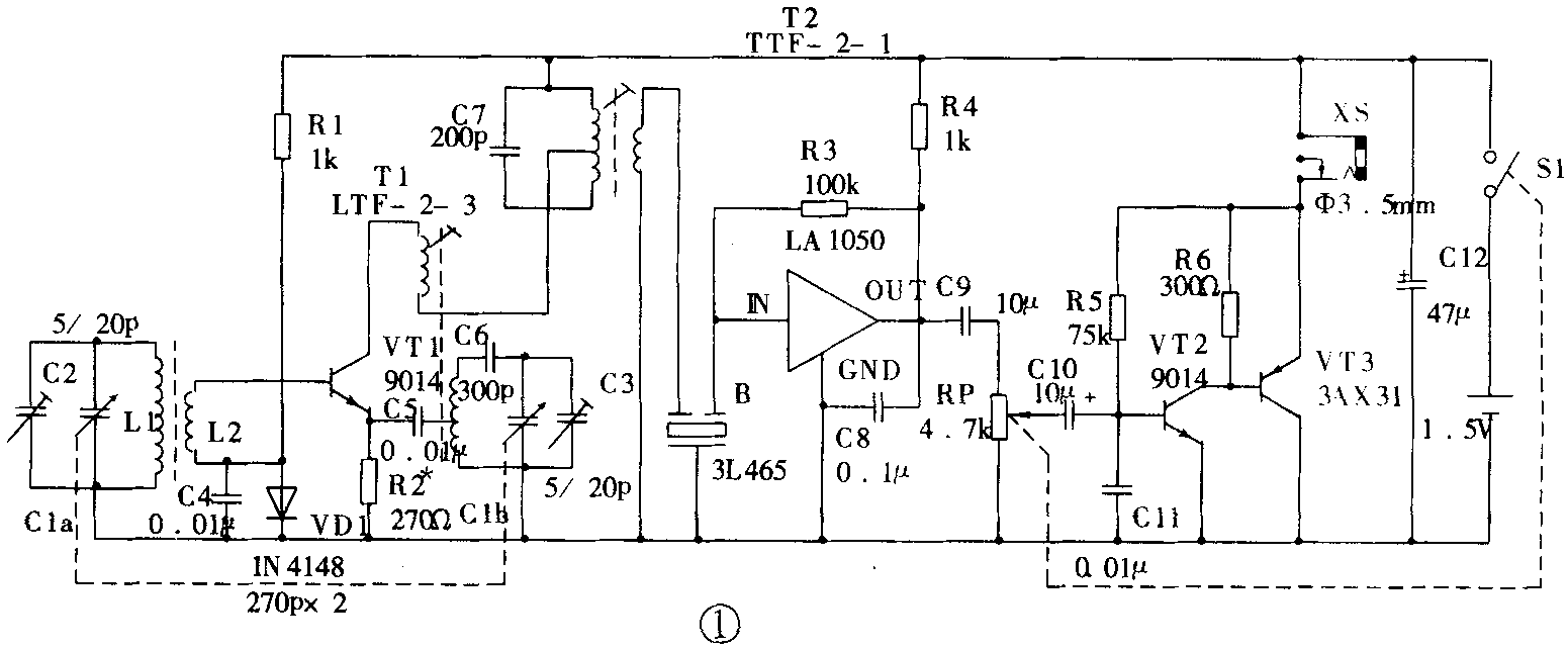
电路见图1。L1、C1a、C2组成输入调谐回路,用以选择电台信号,并经L2耦合至VT1的基极。VT1与Clb、C3、C6、T1等组成互感反馈型本机振荡器,本振信号经C5加到VT1的发射极。由于VT1的be结具有非线性特性,因此混频后差拍出465kHz的中频信号,经T2、C7并联调谐回路谐振后,再经三端陶瓷滤波器B选频,然后加至LA1050的输入端。由于VT1起着本振与混频的双重作用,因此称它为变频管,其过程称为变频。

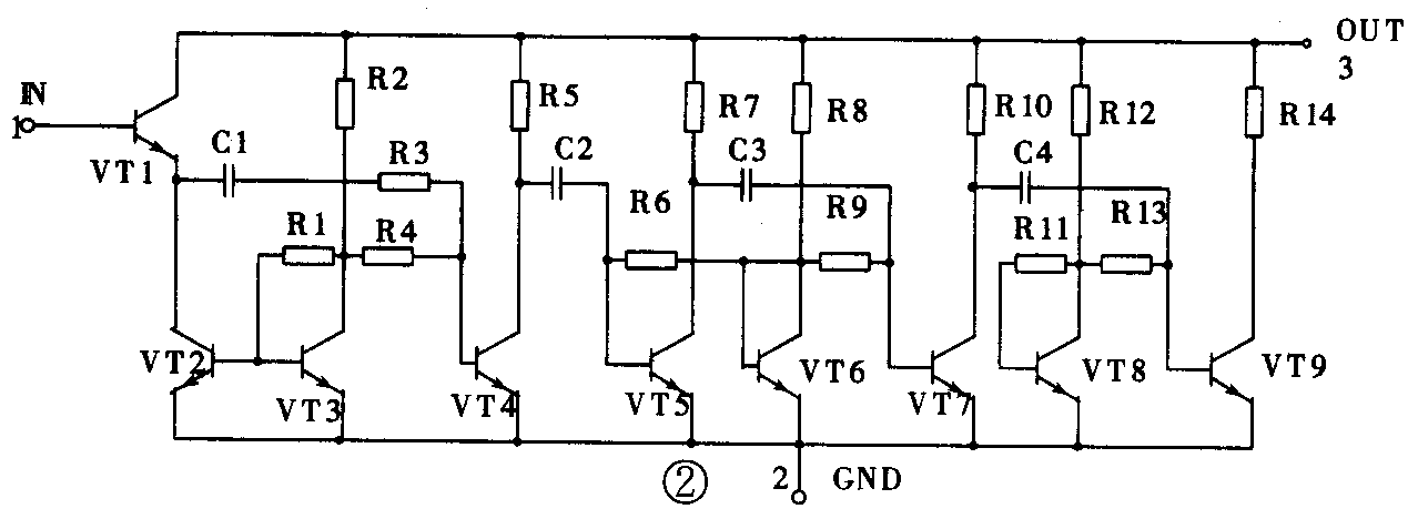
LA1050为高放式收音机专用集成电路,图2是它的内部结构等效电路。VT1~VT3组成高阻抗输入级,输入阻抗可达4MΩ;VT4、VT5、VT7、VT9组成四级高频放大器;VT6、VT8为简单的稳压偏置电路。LA1050的增益约为70dB,AGC范围达20dB,图3为LA1050的外形封装,它与一只90l4三极管的大小相同。因此用LA1050取代常规收音机中的中放电路,不仅体积小,成本低,而且还简化了繁琐的中频调整。


图1中,LA1050与R3、R4、C8等组成465kHz中放,检波电路,增益高达70dB。检波输出的音频经C9耦合至音量电位器RP。由RP分压后取出音频信号,然后通过C10加到VT2、VT3组成的简单低频放大器中,由它放大并驱动低阻抗耳机发声。耳机阻抗为8Ω。R1、VD1组成VT1的稳压偏置电路,使VT1的基极电压稳定在0.7V,以防止电池电压下降时VT1工作不稳定。C4为高频旁路电路。C8为LA1050的高频退耦电容,防止中放电路产生自激。C11为音频放大器的高频旁路电容,用以滤除过多的高频噪声,以改善音质。C12为电源退耦电容,防止电池用旧时电路中产生的低频自激振荡。
制作时,C1采用7/270p的小型密封双联可变电容器。RP选用4.7kΩ带开关的小型音量电位器。L1、L2用55mm长的中波扁磁棒,L1用φ0.07×7多股纱包线绕80圈,L2绕8圈。VT1选用放大倍数较高的三极管90l4,以利于低电压下起振。所有电阻均使用1/8W碳膜电阻,电解电容器的耐压应大于6V,其它无极性电容均可使用小型瓷片电容。LA1050也可用YS414、MK484等代替,但需注意引脚排列不同,YS414的2脚为输入端(IN),1脚为接地端(GND),3脚为输出端(OUT)。电源部分使用一节5\(^{#}\)电池。
本机的调试极为简单,首先将VT1的集电极电路切断,串入一毫安表,调节R2使VT1的静态电流为0.5mA即可。根据本人的经验,直接焊入270~300Ω的电阻完全可以满足要求。随后,转动C1寻找某一电台信号,细调T2的磁芯使声音最响最纯为止。然后,调节C1寻找一低端电台(在上海可调至中央台一套540kHz),如调不到,可调节振荡线圈T1的磁芯,直到该电台出现。再调节C1寻找一高端电台(上海地区可调为1422kHz),细调C3使该台出现,达到声音清晰。移动L2与L1的距离,使低端电台的声音最响;调节C2使高端电台的声音最响。这样反复几次后,即可将统调与中频调好。
本机的灵敏度极高,在上海地区,夜间可以收到江苏、山东、浙江等电台的播音。(周兴华)