家庭卡拉OK演唱已经非常普遍。在众多朋友聚会时,大家很想共同演唱一首歌,以使气氛热烈。但目前的卡拉OK机一般只有两只话筒输入插孔,不能满足这一需求。
本文向读者介绍一种简单易制的卡拉OK多路话筒混合器,该装置全部采用普通元件成本极低,安装调试也非常简单。

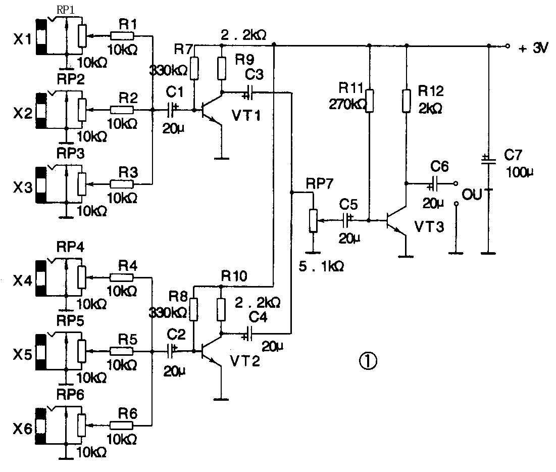
图1为本装置的电原理图。X1~X6为话筒插孔,RP1~RP6为每路输入信号的音量控制电位器,R1~R6为隔离电阻用以减小调节信号音量时各路之间的相互干扰。本装置每三路信号用一只晶体管进行放大,放大后的信号分别由VT1和VT2的集电极输出后进行混合,混合后的信号通过VT3进行放大后再输出。调节RP7可以控制输出信号的强弱以满足不同品牌的OK机或扩音机。

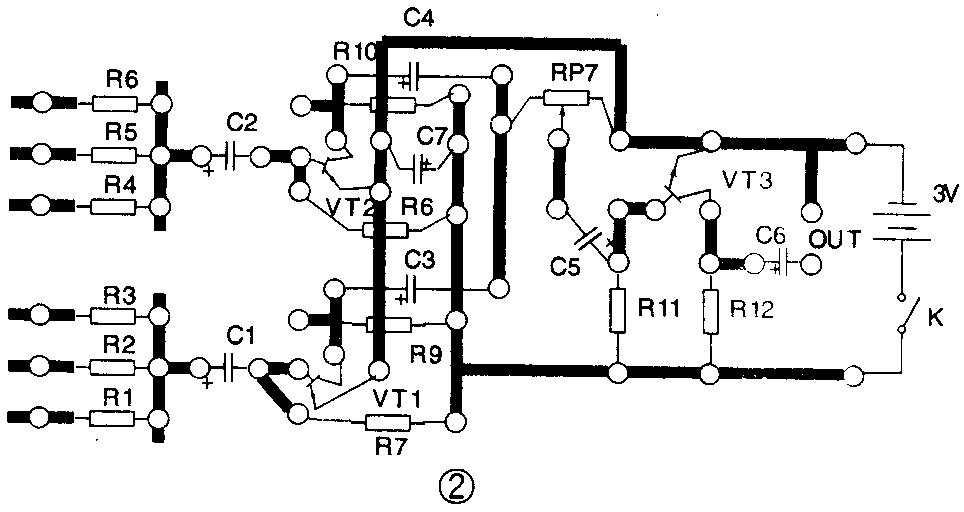
图2为该装置的印制板图。全部元器件可装在如图3所示的用金属材料制的机壳内,以防止外界干扰。晶体管可用NPN型硅管,β值为80~100。

全部安装完毕可进行讲话实验,实验之前应将RP7放在中间位置,话筒电位器应由小到大逐渐调整。OK机上的音量电位器也应由小到大逐渐调整。一般可将OK机上的音量电位器开到最大时适当调整RP7的位置使声音最大又不失真即可。(刘京城)