“会眨眼的蜘蛛”是一种适合于初学者自己动手制作的小型电子玩具。整个电路装置在一个塑料压制的异形蜘蛛外壳内,见图1。它的眼睛是两只交替闪光的发光二极管,造型新颖别致,会给青少年朋友增添情趣。

电路的工作原理
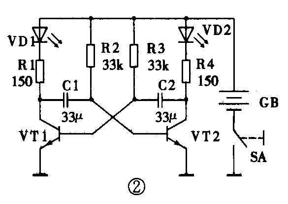
“会眨眼的蜘蛛”实际上是一个典型的自激多谐振荡电路,如图2所示。由图可见,晶体管VT1、VT2是两个完全对称的单管放大电路,它们之间采用阻容耦合,VT1的集电极输出端通过电容器C1接在VT2基极输入端,而VT2的集电极输出端又通过电容器C2接在VT1的基极输入端,构成了闭合环路。这个电路没有外来的输入信号,只要接通电源,就会产生自激振荡,在两管的集电极分别输出矩形波电压。

少年朋友们在阅读电路图2时,一定会认为,合上电源开关SA后,电源GB就会通过两管的基极电阻R3和R2分别向VT1、VT2注入基极电流,使两管同时导通,发光二极管VD1、VD2同时燃亮。假如真是这样,电路也就不会产生自激振荡了。那么,自激振荡是怎样产生的呢?下面就来分析发生在电路中的物理过程。
虽然VT1、VT2组成的两个单管放大电路元器件参数完全相同,但是对称是相对的,不对称是绝对的。在接通电源瞬间,两管确实都趋向于导通,但总会有一个管子导电稍强。比如,VT1管导电稍强些,则VT1的集电极电流Ic1增加得较快,使集电极电位Uc1下降得较快,Uc1的下降通过电容器C1耦合,使VT2的基极电位Ub2随之下降,集电极电位Uc2随之上升,通过电容器C2的耦合,使VT1的基极电位Ub1进一步上升,Ic1进一步增大……,这种一边倒的倾向称为“正反馈”,可用下面的流程表示:Ic1↑→Uc1↓→Ub2↓→Ic2↓→Uc2↑→Ub1↑→Ic1↑↑正反馈的连锁反应进行得极为迅速,几乎在瞬间,使VT1充分导通(饱和),VT2完全截止。
值得注意的是,电路不会稳定在VT1导通、VT2截止的状态。这是因为电路中的电容器C1、C2在电路状态转换时会随之进行充电和放电。VT1饱和导通时,相当于一个接通的开关,此时,电源GB通过电阻R2向电容器C1充电,充电回路见图3。随着充电过程的进行,Ub2逐渐升高,当Ub2上升到的0.6V时,VT2开始导通,电路中又出现了如下的连锁反应:Ub2↑→Ic2↑→Uc2↓→Ub1↓→Ic1↓→Uc1↑→Ub2↑↑几乎在瞬间,电路转换为VT1截止,VT2饱和导通。以后的过程周而复始,VT1、VT2交替导通,电路进行着周期性的振荡,发光二极管VD1、VD2轮流闪亮。

元器件选择与组装
电路所用元器件的参数已标在图2上。河北省降国实业公司已经生产了外壳、印制电路板、拨叉开关、扣式电池夹,并经测试选配了所需的全部元器件,作为专用器材套件批量供应。印制电路板电路连接图如图4所示。晶体管管脚排列及开关安装示意图绘于图5中。


组装时,应将电池夹从敷铜的一面按入,将开关带孔的固定端齐根剪掉,按图5(b)焊好。发光二极管从敷铜面插入,保留引线22mm,向前弯成90°焊好,调整角度使其插入蜘蛛眼内。其它元件从无铜一面插入焊好。调整电池夹,保证扣式电池接触良好。然后将发光二极管弯向前,插入蜘蛛的前端小孔,将印制板二孔插入蜘蛛体内,开关在蜘蛛尾部,扣上后盖即可。
这个电路只要组装正确,不需进行调试,接通电源后即可正常工作。(贾文)