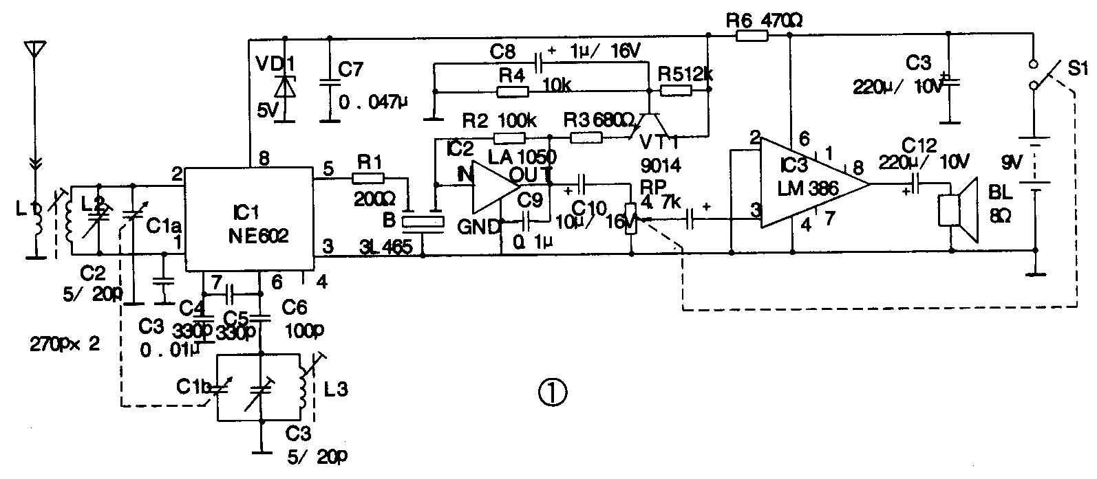
收音机整机电路见图1。图中IC1为通用振荡/混频器单片集成电路NE602,采用8脚双列直插式塑料封装,内含双平衡混频器及振荡器,振荡器的振荡频率最高达200MHz,双平衡混频器的最高工作频率可达500MHz。图2为NE602的内部等效电路,差分对管VT1、VT2、与VT3、VT4组成交叉连接的双平衡差分放大器,VT5为VT1、VT2的电流源,VT6为VT3、VT4的电流源。本机振荡信号通过VT1、VT3基极注入到两个差分单元。由于双平衡混频电路能有效地抑制奇次谐波成份,故输出信号的主要成份是高频输入信号与本振信号的和频与差频分量。其余分量(如输入信号、本振信号以及二者谐波的和、差分量)均受到不同程度的抑制。因此NE602的输出信号比一般单端混频器更加纯净,这正是它能够提高收音机性能的关键所在。NE602的输出从两个差分对管的集电极取出,构成推挽输出形式。


天线接收的高频信号由L1耦合给L2、C1a、C2调谐回路,因IC1的l、2脚输入阻抗很高,故L1、L2采用升压式耦合,以实现阻抗匹配。L3、C1b、C3及C4~C6与NE602组成电容分压式考毕兹振荡器,其中C6为隔直电容,避免NE602的6脚内部振荡管基极被电感L3短路入地。天线输入的高频信号及本振信号经NE602混频后,从5脚输出465kHz中频信号,经三端陶瓷滤波器B选频后,加至IC2(LA1050)组成的中放电路进行中频放大。
LA1050为高放式收音机专用集成电路,包含高阻抗输入级、三级放大器、检波及AGC电路等,其内部电路及性能特点已在《用LA 1050制作超外差式耳塞机》一文中有详细介绍,此处不再赘述。
IC2检波输出的音频信号经C10耦合给音量电位器RP,由RP分压衰减后,再通过C11加至IC3音频放大器进行放大。
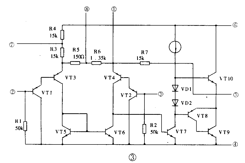
IC3为廉价的通用小功率音频放大器LM386,采用8脚双列直插式塑料封装,主要性能特点如下:1.工作电压范围较宽,为4~12V。2.静态耗电小,典型值4mA。3.低失真,典型值0.2%。4.增益范围可在20~200之间变化。5.最大输出功率达600mW。6.输入阻抗为50kΩ。7.输入偏流为250nA。8.频带宽度达300kHz。图3为LM386的内部等效电路,VT1~VT6构成PNP型达林顿管输入级,其中VT5、VT6为电流镜有源负载。VT7为电压放大级,其集电极负载为一恒流源。VT8~VT10组成输出级,其中VD1、VD2提供VT10、VT8的静态偏置电压,以减小交越失真。R5~R7构成负反馈环路,其固定增益为20倍。当1、8脚间接入一个可变电阻和一个数十微法电容的串联网络时,其增益由可变电阻控制,最大达200。

LM386将音频信号放大后通过输出电容C12驱动8Ω扬声器发声,最大输出功率大于500mW。
R6、VD1、C7组成5V稳压电路,提供IC1工作电压,确保IC1的本振频率稳定,这点对于短波收音机尤为重要。VT1、R4、R5、C8又组成1.7V降压电路,由VT1的发射极输出稳定的1.7V电压供VT2工作,使中放增益也稳定不变。C13为电源滤波电容,防止电路产生低频自激。
制作时C1采用7/270p的小型密封双联可变电容器。RP使用4.7kΩ带开关的音量电位器。L1、L2及L3可用两个市售的短波振荡线圈骨架自己绕制,L1用φ0.08mm漆包线绕3圈,L2用同号线绕22圈。L3用φ0.08mm漆包线绕24圈。IC1选用进口NE602,IC3选用LM386。IC2除用LA1050外,也可使用YS414、MK484等,只需注意它们的引脚排列有所不同。扬声器使用3~4英寸8Ω阻抗的动圈式扬声器。天线使用一段1m长的软电线,也可用0.8m长的拉杆天线。所有电阻均使用1/8W碳膜电阻。无极性电容器选用小型瓷片电容。其它元件均已在图中注明。电源部分使用六节2号电池,也可由稳压电源供电。
本机的频率接收范围为3~12MHz,灵敏度高达0.8μV,可方便地接收全球的短波电台广播。
频率覆盖范围低端调L3磁芯,高端调C3。统调低端调L1、L2的磁芯,高端调C2。这样反复几次后,即可将整机调整好。(周兴华)