编者按:为全面实施素质教育,一些地区相继开设了“九年义务教育活动课程”。开设活动课程是全面贯彻教育方针的需要,活动课的内容多种多样,电子制作是一项深受青少年喜爱的传统活动项目。这项活动注重实践,让学生手脑并用,综合运用所学的各科知识,在活动中发挥主动性和创造性。这有助于对学生能力和创造性思维的培养。由于这是一项新的课程,各地教师感到缺少必要的资料,为此,我们开设了“活动课菜谱”这个新栏目,供有关教师参考,欢迎大家提意见。
一、活动简介
这个有声验电器是一种检验220V交流电火线的小仪器。传统的试电笔内装有氖泡和电阻器,利用氖泡的发光来显示电器上是否有电。但是由于氖泡的发光很弱,白天在室外的一般光照下很难看清氖泡是否发光。为此可以做一下这个有声验电器,它是利用声音的提示来告诉我们线路是否带电。
二、活动目的
1.使学生了解三极管的放大作用。
2.使学生会使用三极管。
3.使学生会使用蜂鸣器。
4.启发学生设想蜂鸣器的应用
三、活动准备
1.实验套件:插接电路面包板,2.7MΩ(色环为红、紫、绿、金)、1kΩ(色环为棕、黑、红、金)、100kΩ(色环为棕、黑、黄、金)1/8W电阻器各一只,1000pF瓷介电容器一只,NPN型三极管两只(型号为3DG201或9014等),蜂鸣器一个,短导线3根,带绝缘皮的长导线一根。
2.工具仪表:万用表,尖嘴钳。
3.两节5号电池及电池夹。
四、活动过程
1.介绍有声验电器特点
2.检查和使用蜂鸣器
(1)按图1所示将蜂鸣器的正、负极接3V电源的正、负极,蜂鸣器应正常发声。

(2)将蜂鸣器串接一1kΩ电阻器后再接到3V电源上,如图2所示。听听蝉鸣器是否发声?(由于1kΩ电阻器的限流和降压作用,使蜂鸣器得不到应有的工作条件,所以蜂鸣器不响)

3.识别三极管的3个电极并学会使用三极管
(1)首先要会识别三极管的各个管脚,最常见的塑封管管脚向下有字的平面面向自己,管脚从左到右依次为发射极e、基极b、集电极c。
(2)使用三极管来带动蜂鸣器,如图3所示,注意三极管的3个电极不能接错。电阻器R先用1kΩ的阻值(虽然1kΩ电阻器有限流和降压作用,但是经过三极管的放大,仍然可以驱动蜂鸣器工作。);然后再将电阻器换为100kΩ试一试。

4.制作有声验电器
(1)按照图5所示,将3根短导线(图中J1、J2、J3)和一根长导线按图插到电路插接面包板上。

(2)把2.7MΩ电阻器R插到电路板上。
(3)把1000pF电容器C插到电路板上。
(4)把蝉鸣器插到电路板上,注意正极在上,负极在下。
(5)把两只三极管插到电路板上,注意三极管的方向。
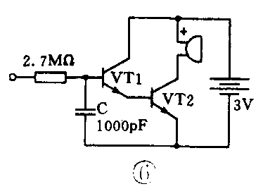
(6)对照电原理图图6检查一下电路是否连接正确。接通电池的正负极连线,注意正极在上,负极在下。

(7)用一只100kΩ电阻器接到电源正极与三极管VT1基极上试一试,蜂鸣器应该工作。如果正常,可把这只100kΩ电阻器去掉。
(8)把带绝缘皮的长导线一头插到电路板上,另一头触到交流电源插座中的火线上(要绝对注意安全),手摸电池的正极或负极,蜂鸣器应发出鸣叫。、
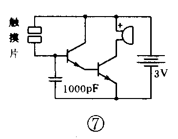
5.启发学生思考,利用这个电路还可以做什么?图7是一个触摸门铃的示意电路,利用人体的自身电阻来触发电路。

6.指导学生评价及活动小结
(1)检查学生通过活动是否会识别器材中三极管的3个电极。
(2)通过制作会认识电路图中的符号,能把电路元件和电路符号对应起来。
(3)会使用蜂鸣器。
(4)能利用附表的结果分析说明三极管的放大作用。
五、活动指导
1.蜂鸣器:这里使用的蜂鸣器实质是一个内装集成电路的小扬声器。它的体积小,使用方便。使用时必须注意它的极性,它的正极接电源的正极。
2.三极管的知识:三极管是电子电路中应用最多的一种器件,它的种类很多。三极管可以组成各种放大电路。三极管的放大作用实质上是以小控大,以弱控强。从前边的实验中就可以看到,只要在三极管的基极中注入很小的电流,就可以控制三极管集电极较大的电流。
3.有声验电器的工作原理:图6是有声验电器的电原理图,电阻器R是一个限流保护电阻器,避免测试人员受到伤害。由于电阻器的阻值很大,三极管VT1的基极电流极小,一只三极管不能带动蜂鸣器,所以用了两只三极管。这样当电阻器的左端接触到220V交流电时,交流信号通过电阻器注入三极管基极,又经人体回到大地。两只三极管对信号进行了放大,带动蜂鸣器工作。电容器是为了消除各种干扰而设置的。蜂鸣器不工作时,电路不耗电。
六、注意事项
1.因为验电器检验的是220V交流电,所以必须十分注意安全。
2.验电器中的2.7MΩ电阻器的阻值不能过小,否则也不安全。
3.不可带电进行检查和操作。
七、有关知识
1.三极管的种类很多,从三极管的符号上来看,可以把它们分为两大类,即NPN型三极管和PNP型三极管。这两类三极管是不能从外观上区分它们的,使用万用表也可以区分这两类三极管。NPN型三极管和PNP型三极管是不能互相替换使用的。如果知道三极管的型号可以查阅手册了解它的性能。三极管的外形和管脚排列也是各种各样的,使用前一定要搞清楚。
2.蜂鸣器的种类也很多,这里使用的是一种小型连续声蜂鸣器,它的工作电压为3V,工作电流约为20mA。还有一种蜂鸣器的发声是断续的,声音好听,但价格稍贵。蜂鸣器的工作电压也有几种,如3V、6V、9V等。这些小型蜂鸣器的发声部分与耳机的原理相同,内部装有集成电路。使用时必须注意蜂鸣器引线的极性,不能接错。此外市场上也可看到由压电陶瓷片和三极管等构成的蜂鸣器,它们的体积稍大。电磁式蜂鸣器目前已经很少见到,在早期的洗衣机中有应用。
3.插接电路面包板是试验一些小电路经常用到的工具,是初学者学习电子技术的得力助手。使用它可以省去了焊接,并能反复使用。使用插接电路面包板要搞清它内部的连接方式,图5中使用的插接电路面包板是较小的一种,它的每5个插孔连在一起为一单元,插接电路面包板上共有4个部分,上部4个单元是连在一起的;下部4个单元也是连在一起的;中间的两大部分各有23个独立的单元,每个单元是纵向安置的。如果不清楚的话,可以用万用电表的欧姆挡来测量一下。
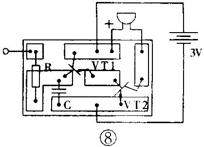
4.图8给出了有声验电器的电路板安装图,供实际制作时参考。(周海)


