本文介绍的两用调光器,可对目前使用的各类灯具配套、改造使用。整个电路简单可靠,适合广大无线电爱好者制作。
工作原理
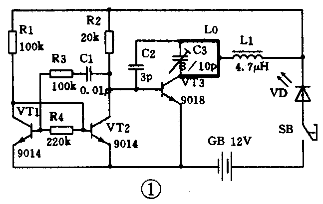
这套调光器由两部分组成:发射机和接收机。图1是发射机电路原理图。VT1、VT2等组成多谐振荡电路,成为发射机的调制电路,调制信号控制由VT3及外部元件组成的射频电路的工作。VT3、C3及L0等组成射频振荡电路,振荡频率约为300MHz。发射机有效作用距离为8~10m,可满足家庭需要。

图2是接收机电路原理图,由VT1、C1及L0等组成高频信号接收电路,收到的信号经R5、C6送入VT2进行放大,放大后的信号经C9耦合至由VD2、VD3等组成的倍压电路进行整流,经C10滤波,控制VT3导通,在“P”点产生触发信号,控制IC(BA2103)工作,IC第8脚输出控制信号,此信号是一串锯齿形触发脉冲信号,控制VS1双向晶闸管导通,HL灯光由亮渐渐变暗,直至发射机停止发射为止。发射电路再发射一次信号,接收电路控制VS1停止工作。

本电路实行无级控制,如果发射机再工作时,电灯又将重新工作,其循环方式为:亮—暗1—暗2—暗3—灭。
如果你不想使用遥控器,可以直接使用触摸方式,触摸板为“S”,工作方式及循环方式同上。
元器件选用:BA2103为触发、计数电路,VS1选择耐压值大于400V、电流大于2A的。触摸板S选用黄铜皮,面积约10mm×10mm。照明灯泡HL功率应小于100W。
调试与使用
发射机调试:取一台示波器,把测试头分别夹到VT2的集电极与地之间,按压SB,使示波器显示振荡波形即可。再取一台调频收音机,靠近发射机电路旁边,这时应能听到发射机发出的振荡音响,说明电路已经起振。这时发射机工作频率约为300MHz。
接收机调试:接通电源,用手触摸S,IC第8脚输出一组触发脉冲,照明灯应亮,每触摸一次S,灯泡应改变一次亮度;如果有问题,应检查电路,直到问题解决,然后测试接收电路。
取一台示波器,测试夹头分别夹在C8电容两端,同时使发射机工作,这时示波器应能清楚地显示出发射机调制波形,如果波形不对,可调谐发射机或接收机中的微调电容,使两机的谐振频率相符,两机有效距离大于10m即可。(李建华)