一些建筑物顶部的大型塔钟,并无复杂的机械结构,主要是靠电子电路驱动步进电机带动分针和时针,正确地指示时间。下面介绍一种每隔30秒钟产生一个驱动脉冲,用以驱动步距180°的步进电机,使分针每半分钟跳过一格,再利用简单的齿轮带动时针,正确指示时间的塔钟电路。
基准秒脉冲发生器
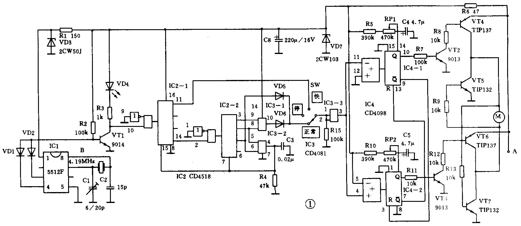
本电路的基准秒脉冲由高频精密走时电路5512F产生。该电路安装于精确走时的石英钟内,工作电压为1.5V,功耗极微,所采用的石英晶体谐振频率为4.194304MHz经电路内部23级分频变为0.5Hz的方波,并在3、4两脚交替输出宽度为7.8ms、时间间隔为1s的正负脉冲,以此驱动石英钟机心的步进电机。由于IC1工作电压低,输出的秒脉冲电压振幅与功率都很小,不能直接驱动CMOS电路,故利用其吸入电流的特性,接上VD1、VD2,不论IC1的3、4脚输出信号如何,其中一只引脚必然吸入电流,同时,VT1截止,发光二极管VD4短时熄灭,以确定秒脉冲信号产生正常。VT1的集电极输出的脉冲信号送入下一级进行分频。
分频器和驱动级

为使电路能输出驱动大功率步进电机的正负脉冲,采用了一块双BCD加法计数器CD4518,在其时钟输入端1、9脚接地后,2、10脚输入的脉冲信号是由脉冲的下降沿触发计数的,当IC2-1的10脚输入10个秒脉冲时,由14脚送到IC2-2的2脚第一个脉冲,当30个秒脉冲到来时,IC2-2的3、4脚皆为高电平,由双输入与门IC3-1的10脚发出一脉冲上升沿,使IC3-3的3脚为高电平;当40个秒脉冲到来时,IC2-2的3、4脚为低电平,但5脚为高电平,以维持IC3-3的3脚为高电平;当50个秒脉冲到来时,IC2-2的3、5脚为高电平,而IC3-3的3脚高电平不变,但第60个秒脉冲到来时,IC2-2的4、5脚为高电平,使IC3-2的5、6脚为高电平,致使输出端4脚电平升高,这样IC2-1和IC2-2收到高电平复位信号而复位,回到初始状态,计数重新开始。由此可见,IC3-3的3脚将出现一个周期为1分钟的方波信号:30s高电平,30s低电平。为了将此信号转变成能驱动步距为180°的步进电机的窄脉冲信号,本电路利用了一块双单稳态触发器IC4 CD4098或CD4528,IC4的芯片集成有各自独立的单稳态触发器,4、12脚是上升沿触发输入端;5、11脚是下降沿触发输入端,根据该触发器功能真值表,当IC4-2的4脚为上升沿触发端时,其5脚必须接高电平;IC4-1的11脚作为下降沿触发端时,其12脚必须接低电平,复位端R低电平有效。单稳态触发器由D触发器、控制门和三态驱动极组成,单稳输出脉宽依赖于外接电阻和电容的数值,本电路中输出脉冲宽度近似等于2脚和14脚外接电阻与电容乘积的一半。
每当IC3-3的3脚由低电平上升为高电平时,IC4-2的4脚触发,6脚输出一定宽度的正脉冲驱动信号,使VT3、VT6、VT5导通,步进电机线圈M将有一定方向的电流流过。当IC3-3的3脚由高电平下降为低电平时,IC4—1的11脚触发,使10脚输出一定宽度的正脉冲信号,VT2、VT4和VT7同时导通,这时步进电机线圈中有一与上述方向相反的脉冲电流通过。在上述正反方向脉冲电流的作用下,步进电机将正常走动。
每当一个单稳态触发器工作时,输出正脉冲驱动电路,输出负脉冲经7脚和9脚使另一触发器复位,保证电路可靠工作。
校时装置
校时装置是由开关SW控制,平时开关处于正常位置。当开关放在中间一挡时,时钟停走;当开关放在快挡时,IC3-3的输入端接IC2-1的11脚,每秒钟分针就跳过一格,为平时正常走时速度的30倍,作为快速校时之用。
电源装置

本机平时用交流供电,市电经整流滤波,由三端稳压器7808提供整机用电,并为蓄电池浮充,以备市电停电时,由蓄电池供电。由于本机主要耗电器件是驱动级VT4~VT7四只达林顿功率管,而每隔半分钟才有一个脉冲电流通过线圈,所以平均功率消耗很小,1个千安时的蓄电池足够半天用电。(姜立中)