一、用途
如今,电话机并线使用还是相当普遍的。即在一对电话线上并接了两至三部电话机。这种方法的缺点,就是当外线电话打入时,如果甲话机一方摘机答话,而被找的人都在乙话机一方,往往要发话人再重拨一次,不仅延误时间,也增加了对方的话费负担。
本文介绍的电话呼叫器电路很简单,却能解决上述问题。在并联的每部电话机处安装一个电话呼叫器,当甲方需要呼叫乙方人员接电话时,只要按下甲话机呼叫器上的按钮SB,乙话机上的呼叫器即可鸣响。乙方听到呼叫后就可摘机通话。
二、电路简介
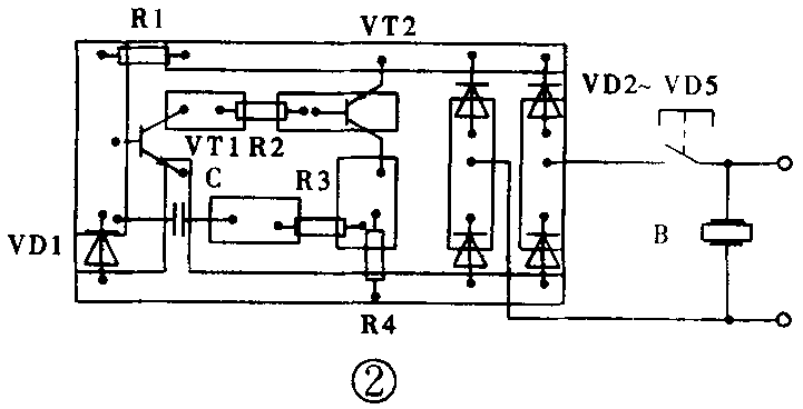
这个电路是一个互补型多谐振荡器,由于电路没有单设电源,借用电话线上的48V直流电,为保证加到电话呼叫器上的电压极性正确,增加了由二极管VD2~VD5组成的导向电路,如果使用者能够辨别电话线上的电压极性,可将这四只二极管去掉不用。
由于电话呼叫器的电源电压较高,电路中接入了二极管VD1用来保护三极管VT1;电阻R2对两只三极管都有保护作用。
当电话呼叫器的按钮开关SB没有按下时,电路不工作,只有压电蜂鸣片B接在电路线上。当按下开关SB时,振荡器工作,它的工作电流是和振荡脉冲成正比的,这个信号通过电话线传到对方电话呼叫器中的压电蜂鸣器上而发声。因此并联的电话机之间不必再增加连线。
三、元件及制作
如果三极管没有同型号的,可以选用其它型号的管子,只要求它们的V\(_{ceo}\)大于60V,β值不必太大。
只要电路联接正确,不必调试即可工作。压电蜂鸣片一定要装上共鸣腔,否则声音较小。
四、注意事项
在使用本装置时,应将话机挂上,然后呼叫对方。如果双方有约定的信号,可以通过呼叫的长短或次数指定找某人。
由于电话呼叫器中的压电蜂鸣片是直接接在电话线路上的,所以在压电蜂鸣片上能听到一点通话声。有兴趣的读者可以自己设法改进。(周海)

