三星DV-500影碟机是韩国较早期的产品,在我国拥有量比较大,在东欧也有一定的市场。目前,该类机型已进入维修期,根据工作实践体会,整理其检修三例,供同行参考。
例 1 重放视盘,图像正常,伴音失真
检修:根据故障现象分析,可能是音频电路有问题,分析该机的模拟音频电路:通过带通滤波器XBP1和XBP2的信号分别进入集成电路XIC1(HA12127ANT)①脚(R-CH)和(56)脚(L-CH),在XIC1内部通过限压放大和鉴频,然后输出到集成电路ZIC1(11)脚和XIC1(16)脚。在集成电路内经BF输出的信号输入到ZIC1(12)脚和XIC1(45)脚,经IC内的AMP,输入到方式开关电路。
方式开关靠由DSP(数字信号处理)集成电路XIC1(39)脚得到的CTL信号工作。
通过方式开关的信号,经BF输出到XIC1(38)脚,此信号输入到ZIC1(20)脚和XIC1(38)脚,经集成电路内部的AMP、CX降噪电路以及BF,最终输出到(28)脚(RCH)和(29)脚(L-CH)。然后,输入到切换电路DIC11⑤脚。DIC2⑤脚,从集成电路DIC13②EFCB和集成电路DIC14⑧脚输出模拟音频信号。
参看图1,测量晶体管XQ1和XQ2的各极电压,发现XQ2的集电极与发射极音频电压不正常,检查电源电路无异常,焊下XQ2检查,发现XQ2集电极与发射极间击穿。更换XQ2后,开机试放视盘,图像和伴音均正常。

例 2 重放CD、LD碟片时图像均不清楚,伴音基本正常。
检修:打开机盖,测量电源各组输出电压基本正常,但检查激光头组件时,发现±14V电压不正常。
接通电源,在待机状态,测量集成电路WIC7①脚、②脚电压都为1.8V,而正常电压为0V,测量WIC7的⑧脚和④脚电压也偏高。测量接插件JW371、JW372处无±14V电压,检查晶体管WQ13、WQ14、WQ15和WQ16,发现WQ14击穿,而WQ15开路。更换WQ14、WQ15,开机试放,影碟机工作正常。
例 3 重放CD碟片或LD碟片时,图像均有不稳定的条状干扰,但伴音基本良好。
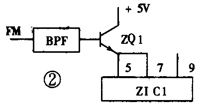
检修:由故障现象分析,可能视频电路工作不良。参看图2,视频信号在射频运放部分通过FM相位补偿电路接入到8Mz带通滤波器(BPF)。经8MHz带通滤波器的信号驱动FM信号,此信号经晶体管ZQ1放大后,输入到集成电路ZIC1的⑤脚和⑦脚。

输入到ZIC1⑤脚的信号,经集成电路内部的FM自动增益控制电路和FM限压电路,输入到FM解调电路。
FM解调信号从ZIC1⑨脚输出,此输出信号包含载波成分,经5.6MHz低通滤波器,去除载波成分。
测量晶体管ZQ1的静态工作电压不正常,焊下ZQ1检查,发现ZQ1集电极与发射极间击穿。更换ZQ1,故障排除。(竹夫)