开关型音乐报知器
音乐报知器的核心部件是一片喜乐集成电路(简称音乐IC),它的内部存储了一首或数首乐曲。这种音乐集成电路的工作电压低(直流1.5~3V),消耗功率小(静态电流仅5μA),外围控制电路简单(常用音乐IC有一个输入端,也叫触发端,两个输出端及正、负电源端),可用它组成多种多样、形形色色的声光电子电路。
图1是最简单的开关型音乐报知器的电路。将3V直流电源GB接在音乐IC的正、负电源引出端(图中V+与 V-端子),IC的两个输出端(OUT与OUT-)接上压电陶瓷蜂鸣器(选用带助音腔的),电源正端通过开关SA接在IC输入端(IN)。此时,接通开关SA,蜂鸣器立即放送出优美动听的乐曲,一曲终了又会从头开始演奏,周而复始。若需停止演奏,可断开开关SA。这种控制方式常称为基准保持触发模式。

另外一种控制方式叫单击触发模式,它的典型电路如图2所示。将按钮开关SB接在电源GB正极与IC输入端IN之间的连线上。此时,当按钮开关被按压一次后立即放开,音乐即开始放送,一曲终了会自动停止。若还需要重新演奏一次,则必须再度按压一下按钮开关。这种电路可直接用作音乐电子门铃。

光控型音乐报知器
将上述开关型音乐报知器电路中的按钮开关SB,换成一只硫化镉光敏电阻R,就成为最简单的光控型音乐报知器(见图3)。电路装好后,试用手电筒在R的受光孔上照射一下,立即关掉手电筒,则音乐IC就会演奏一首曲子然后自动停止。显然,它属于单击触发演奏模式。市售之音乐马克杯、音乐腊烛、光感音乐盒等等,其内部主机心就是与此相似的电路。

宝宝尿湿音乐报知器
婴儿尿湿尿布片时,若能通过轻柔的乐曲声及时提醒妈妈或阿姨,更换干燥的尿布,会给家庭和托儿所带来很多方便。图4就是一个简单实用的宝宝尿湿音乐报知器的电路。电路中的传感元件可采用钮扣大小的单面印制电路板,沿直径方位割下一窄条铜箔,形成一个绝缘间隙,如图所示。将自制的传感元件串联在电源线上,一旦宝宝尿湿,尿液浸在传感元件的间隙中,就变成了导体,有电流触发音乐IC,立即播送音乐,直到传感元件被擦拭干净,音乐才会停止。

磁控型音乐报知器
将一块磁铁及一个磁簧开关(又叫干簧管或干簧继电器)组合后,可以作为磁控传感器件。图5所示的磁控型音乐报知器电路中,磁簧开关接在电源GB正极与音乐IC输入端之间,当磁铁靠近磁簧开关时,磁簧开关接点吸合,发出触发信号,音乐IC立即演奏一首乐曲,完成单击触发模式。磁铁离开磁簧开关,则一曲终了自动停止。倘若磁铁靠近磁簧开关后停在原处不动,磁簧开关的接点也持续保持闭合状态,形成基准保持触发演奏模式,音乐IC会周而复始地不停演奏。

对上述基本磁控型音乐报知电路稍加改进,还可以构成一个实用的来客报知兼防盗电路,如图6所示。一般的门户经常是关闭着的,分别装在门框和屋门边彼此靠近的磁铁和磁簧开关,会导致门户关闭时音乐响个不停,必须将门户打开音乐方能停止。

为了实现门户闭合时音乐停止,门户打开后音乐响个不停,在电路中接入了三极管VT,磁簧开关接在三极管基极与发射极之间。当磁铁靠近磁簧开关时,接点导通,将VT的输入端短路,VT截止,其集电极与发射极之间如同一个断开的开关,音乐IC不工作;当磁铁离开磁簧开关时,则接点跳开,三极管VT导通,触发音乐IC,连续播放清脆悦耳的旋律。
图6的电路属于基准保持触发模式,当门户开启后,乐声响个不停,有些场合却希望大门敞开后只播放一首迎客曲,IC即停止演奏,这就需要使电路成为单击触发演奏模式,具体电路如图7所示。电路工作原理读者可参照前几例电路自行分析。

触控型音乐报知器
触摸开关已被广泛使用在各类电子产品中取代机械式开关。诸如音响设备、电视机、录像机乃至电梯,到处都可以见到触摸开关的身影。图8是触控型音乐报知器的实验电路。电路中的触摸板与前述“宝宝尿湿音乐报知器”中的自制传感元件一样。当用手指轻触一下这两片极板瞬间,就有微弱的电流注入VT的基极,VT瞬时导通,触发音乐IC。由于IC接成单击触发演奏模式,所以演奏一曲终了便自动停止。这个电路也可作为下雨报知器或浴盆水满报知器使用,此时,最好把图8的电路改接成基准保持触发模式,读者可试为之。

音乐IC作为延时灯控制器
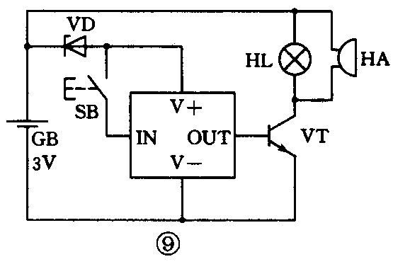
在办公楼和住宅的过道,常采用延时开关控制照明灯,上楼前按一下延时开关,灯即时点燃,经过15~20s又自动熄灭,大大地节约了电能。一般的延时电路多利用电容器的充放电达到延时的效果,本文介绍的实验电路(见图9),则是应用音乐IC,将其接成单击触发模式,借着音乐演奏时输出端(OUT)呈高电位的时间去控制三极管使之导通,在三极管集电极所接的负载——小灯泡随之燃亮,与灯泡并联的蜂鸣器也同时放送乐曲。灯泡点亮的时间正好是一首乐曲演奏的长度(约15s)。

这种延时电路的优点是触发后,每次延时的长度非常稳定,还能同时播出欢快的乐曲,给人们以美的享受。
声控型音乐报知器
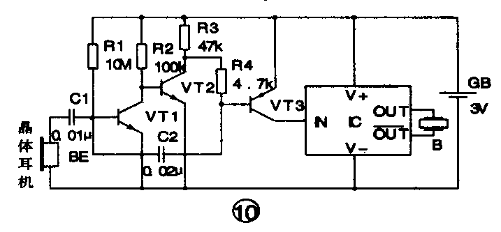
近年来,利用声音控制开关动作的例子已是屡见不鲜。例如,现代住宅楼道灯的自动点燃已广泛采用了声控方式;在一些危险场所的安全界限处装上声控装置,当有人走近时,脚步声响会触发报警电路及时提出警示,等等。本文介绍的声控型音乐报知器(如图10所示)可以使读者初步了解声控原理,并从中受到有益的启发。

电路中采用晶体耳机作为声控传感器件,在实验时拍拍手或吹声口哨,晶体耳机就把声音转换成微弱的电信号,经过VT1、VT2两级直接耦合放大电路,驱动用来作开关元件的三极管VT3导通,触发音乐IC,演奏一首乐曲。
音乐IC声音放大电路
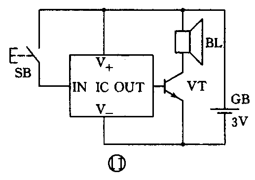
前面介绍的几个音乐IC实验电路,采用蜂鸣器放音时往往嫌声音太小,有些场合需要用场声器播放,这时只需在IC的输出端接上一个三极管,并在它的集电极接入扬声器作负载(见图11),即可收到满意的效果。

电路采用单击触发演奏模式,读者有兴趣也可以改成基准保持触发模式。
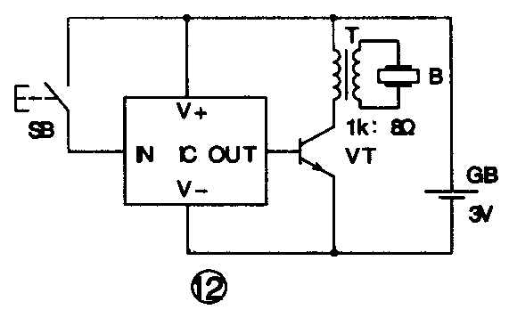
扬声器虽然放音宏亮,但在某些小型便携装置(如随身皮箱防盗报警器)上,则又显得笨重,这时,也可以把音乐IC的输出信号经三极管放大后通过输出变压器接入带助音腔的压电陶瓷蜂鸣器(见图12),它能发出略带有黑管乐器的音色,声音清脆又悦耳。(本刊)
