本开关解密游戏机是笔者专为学校第二课堂“动手做”设计的制作素材。电路由密码设置、解密开关、解密定时、成功锁定、灯光显示等部分组成。电路工作稳定可靠,题材设计新颖有趣,深受同学的喜爱。
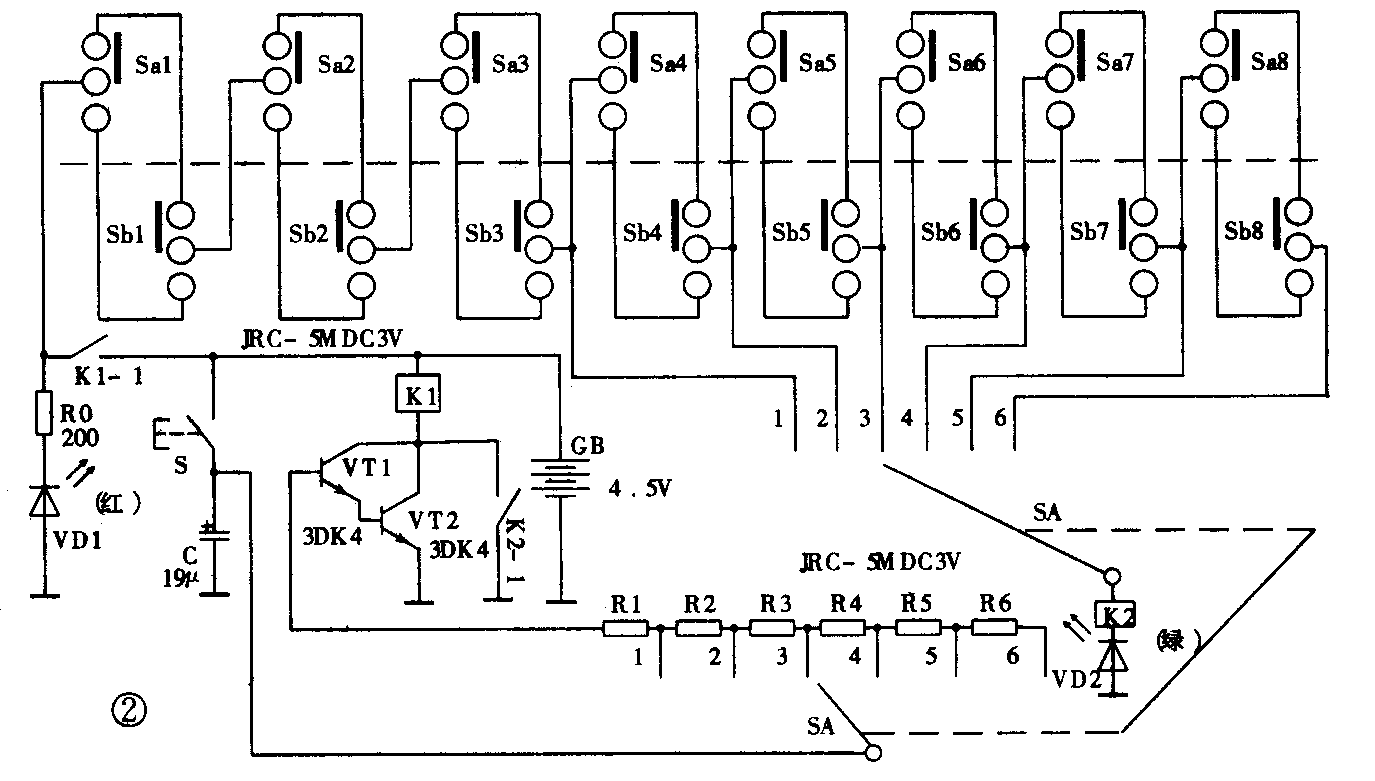
为方便读者对电路工作原理的了解,笔者首先给上图1所示的3位设密、解密开关电路。图中Sa1、Sa2、Sa3为三只密码设置开关。Sb1、Sb2、Sb3为三位密码解密开关。电容C、VT1、VT2和继电器K1组成解密定时电路。S为定时启动按钮。K1-1是K1自身的触点。VD1为定时指示灯。VD2为解密成功显示灯。K2为解密成功锁定继电器。K2-1是其触点。

单刀双掷拨动开关有两种组合状态,我们规定:开关拨在上方用二进制数的“1”表示;开关拨在下方用“0”表示。用于设置密码的 Sa1、Sa2、Sa3三只开关的排列情况将如附表所给出的8种组合方式。这些组合给密码设置者提供了设密选择的基本元素。
假定密码设置者将Sa1、ha2、Sa3分别拨在下、上、上(011)的位置。密码设置确认后,由设置者按一下 S按钮,VD1发光,解密方即可进行解密。解密人通过拨动Sb1、Sb2、Sb3的位置寻找与密码设置相同的状态。如在规定的时间里,解密人将Sb1、Sh2、Sb3开关正好拨在下、上、上 (011)的状态,则跟Sa1、Sa2、Sa3设置的密码状态一一对应完全吻合,电源正极经密码设置开关和解密开关的接点使K2继电器得电,串联在K2回路中的VD2发光,表明在规定的时间内解密获得了成功。如在设定的时间内,解密人未能找到与设置的密码相同的状态,则K2和VD2无法获得工作电源也就不会启动工作了。这样,当解密定时时间到了,K1继电器将自动失电释放,K1-1触点断开,VD1熄灭,以示一次解密时间结束,继续解密无效。
图 2为开关解密游戏机的实际电路。SA为双刀多位同步切换开关,用于选择密码设置的开关数和解密定时时间的长短。切换SA能使定时时间跟密码设置开关数成正比运转。我们将 SA切换在1挡和2挡(设置密码的开关数为3只和4只)定为初级解密;切换在3挡和4挡(设置密码的开关数为5只和6只)为中级解密;切换在5挡和6挡(设置密码的开关数为7只和8只)为高级解密。用于设置密码的开关数越多,解密难度越大。所以,初级、中级和高级解密是依密码设置开关数而确定的。

组装时,设置密码用的开关和解密开关分别装到面板的两侧,且在面板中间位置竖直安装高为25cm的隔离板,确保解密者无法看到对方设密开关的状态。
使用时通过拨动SA确定进行初级还是中级、高级解密游戏。假定SA拨在初级2挡上,则只有Sa1、Sa2、Sa3、Sa4为有效的密码设置开关,Sb1、Sb2、Sb3、Sb4为有效的密码解密开关,如 SA拨在高级 5挡上,则Sa1~Sa7为有效的密码设置开关、Sb1~Sb7为有效的密码解密开关。SA位于其它挡依此类推。密码设置状态确定后由设密者按一下S按钮,使VD1发光,解密人即可解密。解密过程中当发现VD1由发光转为熄灭,则解密时间到,回路中的电源自动断开,告知该次解密失败继续解密无效。若解密过程中发现VD2发光,说明此次解密成功。接着可进行下一轮的设密、解密游戏。(金有锁)