本文介绍的数字式土壤含盐量测试仪,电路简单,操作简便,测定土壤含盐溶液的相对浓度直观准确,适合农业上进行土壤分析和配方施肥使用。
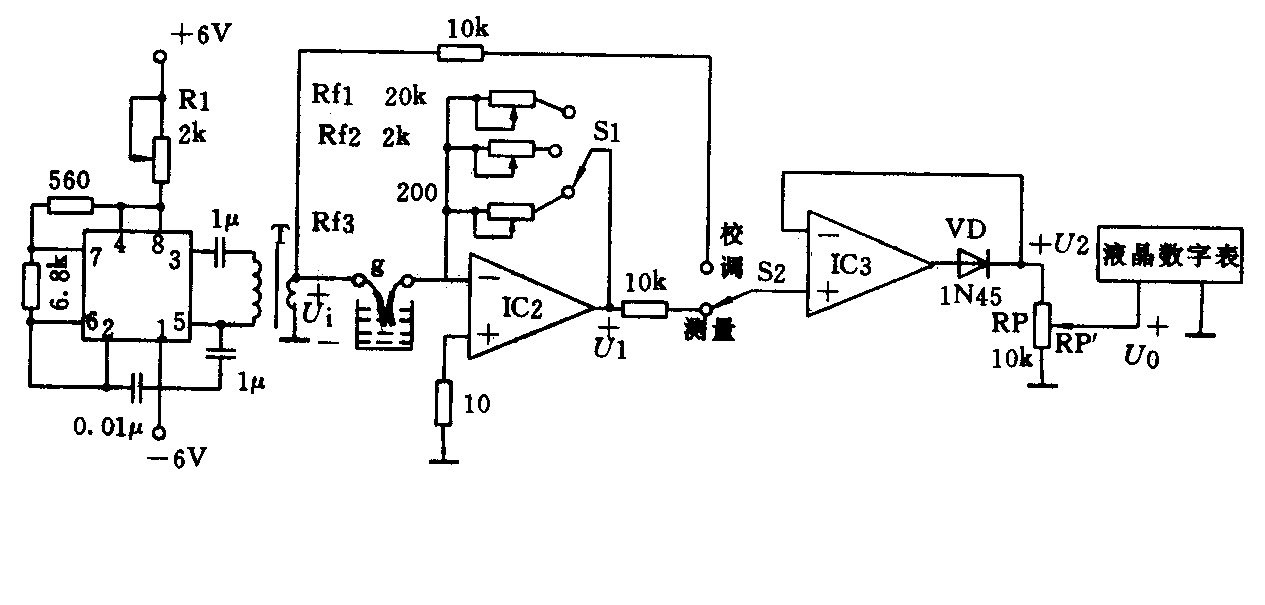
仪器的电路结构见附图,IC1是由555时基电路组成的多谐振荡器,工作频率选在1000Hz左右,它所产生的随时间作周期变化的信号电压通过变压器T送到集成运放IC2的反相输入电路,同时在该电路中还串接了一只浸在含盐溶液中的电导电极。设T输出的信号电压为Ui,电极拾取到的溶液电导率为γ,根据反相运算原理从IC2输出的电压为
U1= R\(_{f}\)γUi

式中的R\(_{f}\)是IC2的反馈电阻。
电路中的运放IC3与小功率二极管VD组成精密整流电路。测试时,IC3与IC2连通,U1经过整流成为直流电压U2然后经电位器RP衰减一部分后送到液晶数字表头显示出测试结果。在理想情况下,输入至表头的电压为:
U0=( RP′/RP) UiR\(_{f}\)γ
根据理论分析,一般含盐溶液的电导率γ都是随其浓度成线性变化的,显然在上式中只要能保持Ui不变,U0就能准确反映溶液的浓度了。但是实际上,变压器的输出电压总受到负载变化的影响,尤其在浓度大负载重时,输出大幅度下降,影响十分明显。为此一方面在制作变压器T时尽量加大它的匝数比,减少受负载变化的影响;另一方面调节精密多圈电位器RP,从改变衰减上来补偿,始终使(RP′/RP)Ui保持为常数,这样在一定测试范围内,无论浓度大小,表头都能准确地显示出它的数据。这个常数称为校调电压或校调值。
确定出校调值并保持其不变是整个测试过程中的重要步骤,本文以测量氯化钾(KCl)溶液的浓度为例来说明其方法。在测量前,首先应在现场配制一杯(或数杯)已知浓度的KCl标准液,将电导电极插入该标准液中。同时根据标准液浓度将测试范围开关S1置于适当测量档(R\(_{f}\)大的测小浓度,反之测太浓度)。然后拨动开关S2到测量档,IC2与IC3连通,调节电位器RP直到表头显示出标准液的浓度值后,保持不动,再拨动S2到校调挡,IC2脱开电路,IC3与变压器的输出端直接连通对U1单独进行整流,此时表头上显示的数值即为我们要确定的校调值。有了校调值,就可对待测溶液进行测量了,其作法与上述步骤相反,将冲洗擦净的电导电极插入待测溶液中,先将开关S2拨到校调挡,调节电位器RP直到表头读数达到已确定的校调值为止并保持不动,然后将S2拨到测量挡,这时仪表便显示出待测溶液的浓度值。
测量后如所得结果与标准液浓度相差过大(甚至表头过载),为了准确起见,应拨动S1重新选择范围档次或另配适当已知浓度的标准液再做测量,但是不论采用哪种方法都要重新确定校调值,这是要注意的。另外,对于大浓度的待测液,还可按比例将其稀释后再测量,其最终结果应是仪表读数与稀释倍数的乘积。
电路中的IC2与IC3可共用一只高输入阻抗的双运放集成电路LF442。变压器T用有骨架的ф20铁氧体磁缸绕制,初次级分别为1200匝及60匝。表头用市场上出售的200mV液晶数字表。电极采用DJS-1型铂黑电导电极。R1为半可调电阻,负载重时,可用来调节电压Ui。(张乾忠)