编者按:全国青少年无线电测向暨电子模拟探雷锦标赛将于8月份在杭州举行,届时还要进行PJ—80型测向机制作评比,为此本刊特邀请有关专家撰文,介绍在业余条件下制作该机的方法,供读者参考。
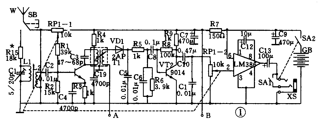
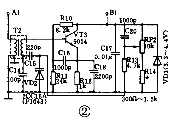
PJ-80型机是一种80m波段直放式普及型测向机,它的电路简单,结构比较完善,读者只需用正确的方法按一定的步骤进行制作与调整,就会得到满意的效果。图1与图2是它的电原理图。天线回路接收到的3.5~3.6MHz等幅电信号,经VT1进行高频放大。放大后的信号与可调差拍振荡器产生的1.75~1.8MHz振荡信号的二次谐波一起耦合至VD1,利用其非线性进行差频检波,得到约1kHz的电码信号,再经低 放和功放两级放大送入耳机。图1为信号通道电路部分(以下简称通道电路),图2为可调差拍振荡器电路部分(以下简称振荡电路)。实际电路中A、B分别与A1、B1相连,在此分开只是方便制图而已。


一、分拣、识别、测量元件
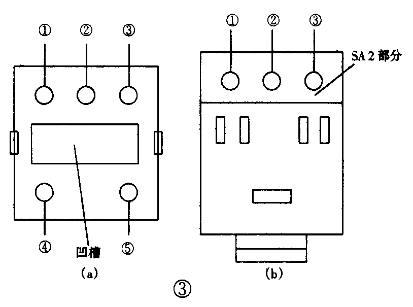
制作前要按类清点、分拣元件,可按电原理图标明的参数一一识别、核对。读色环电阻的值时,要注意区分红和橙、 黄和橙等相近的颜色,必要时可用万用表复测一下,防止搞错。套件说明书中已对电容器用数字表示电容量的方法作了说明,但在电原理图中对某些电容器数值的表示方法有些不同.如1n表示1000pF,2n2表示2200pF等。高频变压器T1、振荡线圈兼耦合变压器T2以及耳机插座XS(附电源开关SA2),须先测试确定质量良好再焊上去。测量方法参看图3。图中(a)是T1、T2的底面示意图,(b)是XS的底面示意图。用万用表电阻挡测得T1的①脚、②脚、③脚中任意两脚都通,④脚和⑤脚之间也通,但凹槽两边都不通,就是好的;T2的②脚是空脚,①脚和③脚之间应通,其余同T1。测量开关SA2前,首先要看插头插进是否顺畅,否则要整复或更换。测量时,插头插进①脚和②脚应通,②脚与③脚不通,插头拔出后 则恰好相反。

二、焊接与装配
焊接过程中要注意:(1)对照套件说明书中的印制板图, 保证焊接无误,尤其是三极管的e、b、c极不可接错。为了便于查对,可先焊三极管。(2)T1、T2、XS的引出线均出于塑料基座,焊接时间不宜太长,以防内部导线脱焊或本身松动。(3)每个元件焊前先要镀锡,防止虚焊、假焊。(4)有的焊点之间距离太小,焊接时应适量用锡,防止短路。(5)焊接前将印制板上刷一层“松香水”(松香沫和医用酒精按体积比1:2泡制),会使焊接更加容易。笔者几年来辅导制作该机的经验表明成功与否的关键是焊接,尤其是初学者,切不可只图快,忽略了焊接的质量。
装配过程中要注意:(1)元件的引线留得不能太长,防止与机壳屏蔽层相碰,造成短路。(2)拉杆天线与引入线端的“Y”字形接线片拧紧时不要碰触机壳屏蔽层。(3)采用积层电池时,在室内调整的前3步先不装机壳,若采用5号电池,因电池相连,印制板可先装机壳,但不要固定。
三、室内调整
室内调整,是指在制作现场,以架设在室内或室外(但距离很近,不超过50m)的若干部PX-80型测向信号源(简称电台)发出的信号作为调试信号(频率分别为3.50、3.515、3.53、3.55、3.57、3.60MHz),对整机的电气性能进行调整。根据国家体委1997年审定的“短距离无线电测向竞赛规则”, PX-80型电台设置将从6个增加到10个(参见表1)。

表2是室内调整流程图。图中左侧主流程表示在元件良好、焊接无误的情况下依次进行的7步操作。若在某步骤调不出应有的效果,则在相应的右侧副流程中分析故障可能存在的部位或指出纠正的方法,因表2内篇幅有限,对其中某些内容补充说明如下:(1)测总电阻。元件焊接完毕,不要急于装电池,要通过这一步测知有无断路、短路、错焊。方法是耳机插头插入,使SA2接通,万用表拨至R×1k挡,表笔分别接触GB的正、负极片或电池扣的两极,瞬间读数为零,后慢慢增大,最后稳定在2~5k之间的某一数值(这是因为电容量很大的C7和C9充电的缘故)。表笔对调,电阻值略有不同;调RPI读数微变。断路故障多因插头插得不合适,SA2未接通。短路故障多因印制板底面焊点短路。(2)听噪声。在未接收外来信号时,噪声的情况能基本反映VT1、VT2及LM386的直流工作状态是否正常。检查时,应从末级向前级逐一测量它们的工作电压(PJ-80套件说明书中已列出各点电压的正常值),如测量值与正常值相差太大,说明该级不正常,再在较小范围内观察有无错焊,用轻微晃动的方法检查有无虚焊。这一步主要是检查直流通路,应重点查看三极管与电阻。噪声小的故障涉及整个测向机电路,要检查的元件多,读者应耐心细致。(3)整机粗调。开启PX-80型电台,使测向机接收3.5~3.6MHz的等幅电码信号,进行交流通路的调整。如果振荡电路正常,用无感改锥(若用铁改锥,则调到最佳点后再向内拧少许)调T2的磁帽几圈就会收到一个或几个电台清脆、悦耳的电码声,它的频率大约是1kHz。人耳的闻域为20~20kHz,但只有在1kHz左右感觉最悦耳。当调T2改变差拍振荡器的频率,其二倍频与某台频率之差在闻域范围内而不是1kHz(例如9kHz)时,也能听到该电台信号,但不是清脆悦耳的,而是“咚咚”或“渣渣”的音调。这种现象在近距离内多部信号源同时开启时经常遇到。调T2无反应,可能是振荡电路停振,也可能是T2次级或T1次级开路,振荡信号的二次谐波未能耦合到VD1。这时可将T2初级①脚和③脚短路,测R12两端电压值有无变化,有变化说明振荡电路起振。根据差频检波的原理,外来的电台信号和差拍振荡信号缺少任何一路都产生不了音频电码信号,所以遇这种故障除按上述方法检查振荡电路外,还要检查天线回路和高放电路。若高频信号断路,要重点检查电容C2、C4、C19及高频变压器T1等元件,调不出1kHz的电码声,说明振荡电路虽然工作,但其频率调不到1.75~1.8MHz的范围,常见的原因是T2磁帽裂开或VD2结电容变化范围不合要求,需更换。(4)装盒前3步完成,表明整机电路基本正常,可进行细调。为隔离人体感应,将印制析放进带屏蔽层的机壳内,但不要固定。(5)调整频率覆盖。顺时针拧RP2,微调T2,能依次收到1号台至0号台信号,而且两端各有一点儿余量,就达到了接收频率3.5~3.6MHz的要求。两端余量太大,所有电台都“挤”在一起,称为频带过宽;调出1号台而0号台消失或调出0号台而1号台消失,称为频带过窄。因为RP2旋转角度变化—→RP2在电路中分压比变化—→VD2结电容变化—→振荡频率变化都是非线性关系,所以:(a)中心频率3.55MHz(5号台)并不在RP2旋转角的中心位置;(b)在频率刻度上,有些台的位置“密”一些,另一些则“疏”一些。这两条,读者在调机和使用时都要清楚。(6)调天线回路谐振曲线。调C1(最多拧180°,否则其电容量重复原来的变化),使L1C1谐振于3.53MHz。(7)调高放回路曲线。调T1(方法同调T2),使T1(初级)C3谐振于3 57MHz。第(6)步和第(7)步的调整,用参差调谐法,使合成高频放大曲线在3.50~3.60MHz的接收频率范围内均较为平缓,即高级增益较均匀,参见图4。为保持曲线的稳定,应用石蜡将天线线圈封固且在室外调整时不能再调C1和T1。
四、室外调整
室外调整应在地势平坦、无高大建筑、无强电磁干扰、直 视范围够500m的场地进行。在不同方向分别架设1号、5号、0号3个明台。天线尽量垂直地面,高度2.5m以上。调机前要求信号源和测向机的电池电压符合要求,调机者站位距3个电台均300m左右。(1)双向的调整。天线线圈封定在磁棒中心位置的测向机哑点线明显、准确且两边对称;否则磁棒的一端指向电台时哑点线准,另一端不准,读者只能根据自己测向机的特性加以利用,而不要移动天线线圈。还有些双向不明显的测向机,是因机壳屏蔽层完全闭合造成的,可在机壳顶部接缝处将锡箔纸各去掉1mm左右,形成一条缝隙。(2)单向的调整。拉杆天线拉出的K度应随与电台的距离而变,远则长,近则短。大音面不明显应调整调相电阻R15的数值。为了方便,时焊上一个实芯电位器(20k左右)代替,调出最佳值后再换上固定电阻。若一按SB,信号消失,则是接拉杆天线的焊片与屏蔽层短路了。(3)灵敏度的检测。高放曲线调好后,灵敏度即确定了。检测灵敏度的目的是使调机者实地感受接收距离。可分别距5号台50m、100m、200m、300m、400m、500m处收测该台信号,判断一下灵敏度的高低。有的测向机在室内调整时声音很大,但在室外拉不开距离,几十米外的电台信号都收不到,这是因为机壳屏蔽层完全闭合所致,用前述方法改正。(4)频率覆盖的复检。在RP2旋钮上刻一白线,收测1号、5号、0号电信号,并将白线对准的位置做标记,若两端的余量不均等,可微调T2。(5)运动性能的调整。紧固所有螺丝后轻拍测向机,听信号声有无断续(接触不良)。使用积层电池的,要用纸或海绵将其裹住后再卡在电池槽内。(陈家庄)

