本刊1997年第10期曾介绍过沟型光电开关,它的检测是在沟内或槽内进行的。有一种接近开关也有类似结构,它就是沟型电感式接近开关。由于它的这种特殊结机,在电梯、起重运输机械和各种自动化机械中得到了广泛的应用。
工作原理
沟型电感式接近开关的工作原理和一般的电感式接近开关相同,也是由振荡、放大、检波、输出和电源等部分组成。在槽的两旁装有电感线圈,通电后以几十千赫的频率振荡,经放大后输出高电平或低电平信号。当槽内有金属板插入时,高频电磁波在金属板内产生涡流,涡流产生反磁场,使电感线圈的电感量减小、电阻增大,振荡电路停振。此时,输出电路就从原来的高电平转换成低电平,或从原来的低电平转换成高电平,相应地输出一个开关信号,完成一次控制动作。
由于沟型接近开关的检测被限定在槽内,所以不易受外界的干扰,工作更稳定可靠。
产品性能和使用要点
1.产品性能
台湾和可公司生产的沟型电感式接近开关型号有TL-D3NE1。TL-D5NE1、TL-D15NE1、TL-D30AR1、TL-D30NE3等多种。它们的槽宽分别是3mm、5mm、15mm、30mm,外形见图1。使用直流电源时,电压是12~24V或10~30V;使用交流电源时,电压为24V、50/60Hz。输出接线有3线、4线和5线。输出负载电流,直流电源为100mA、200mA(均为NPN型电路);交流为3A、250V(继电器接点输出)。响应频率,直流电源的是每秒1000次;交流电源的是每秒25次。

产品内部电路全部为集成电路和贴片元器件。外壳用PBT塑料、内部抽真空后充填强化树脂固化。绝缘性和密封性好,耐磨损,耐腐蚀,防水防尘,抗油污,不受强光干扰。使用直流电源的产品内有负载短路保护、抗浪涌电流保护和反极性保护电路。所有产品均达到防护等级IP67,并取得CE国际认证。工作稳定可靠,使用方便,寿命长。
2.沟型接近开关的检测距离
普通电感式接近开关的额定检测距离Sn,是指被测物靠近开关使开关动作时,被测物与开关检测端面之间的距离。
沟型电感式接近开关因为结构特殊,被测物是从沟的侧面进入的,所以它的额定检测距离Sn定义为开关动作时,金属板进入的边沿到开关边沿之间的距离(见图2)。这种检测必须在以下条件进行:①使用规定大小面积和厚度的铁板;②铁板一侧距沟底的距离不小于规定值。

用户在用沟型接近开头作定位控制、需要精确测定检测距离Sn时,如被测物符合以上条件,就可以按给出的额定检测距离Sn进行设计计算。
如果被测物的厚度比规定的标准检测物的厚度大,会使板内涡流增大,反磁场增强,开关停振的时间将提前,相应地实际检测距离S'n要减小。具体数值可从使用说明书中给出的检测距离与厚度的关系曲线上查到。
如果被测物的面积小于标准检测物,或不是铁质而是其它金属材料,则因涡流效应减弱,使开关停振时间后移,也就是使实际检测距离S'n增大。具体数值应由试验确定。
至于其它使用方面的要求和注意事项可参阅有关文章和使用说明书。
应用举例
1.电梯平层定位和层次控制
目前使用的电梯多数是用干簧管感应器(也称舌簧开关或磁簧开关)产生平层定位信号和层次识别信号的。它也是沟型的,一侧是干簧管,另一侧是永久磁铁。当槽内插入隔磁板(铁板)时,隔磁板截断磁路,使干簧管的接点释放或接通,输出一个开关控制信号。这种舌簧开关是六七十年代生产的电梯中使用的基本器件。它的缺点是触点负载电流小,反应不够灵敏,可靠性差。
沟型电感式接近开关中有3种产品是专为取代舌簧开关而设计生产的。它们的外形和舌簧开关相似,槽宽为30mm。因为隔磁板是铁的,所以可以直接取代原有的舌簧开关而不需变动电路,使电梯工作更加可靠。
第一种是使用交直流两用电源:交流为24V、50/60Hz,直流为21~40V。型号为TL-D30AR1。输出接线图见图3。它的输出电流大,可达3A、250V(AC)。而且是一组继电器转换接点,常开或常闭可由用户自选,非常方便。

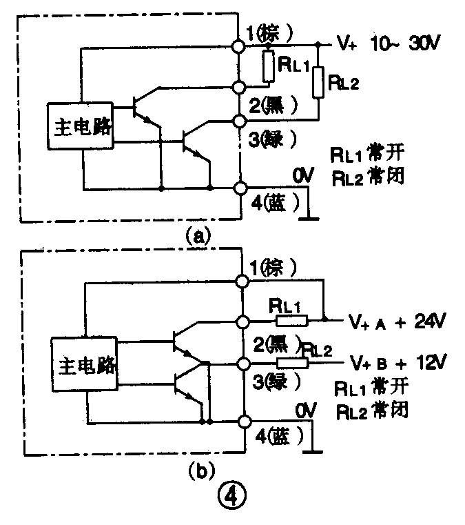
第二种是采用直流电源,工作电压为10~30V。型号为TL-D30NE3。输出为4线式,集电极开路输出,负载电流200mA。有常开、常闭两种接法供用户自选。接线图见图4(a)。

第三种是在前一种基础上开发的、可供两路电源两个负载同时接通的新产品。型号为TL-D30NE3-D。接线图见图4(b)。两路负载与两路相互独立的电源串联后接到2(黑)、3(绿)端,两个电源的地端都接在4(蓝)端。开关的工作电源1(棕)端可接到任一电源的正极上。如图中,V\(_{接24V,V}\)接12V,(1)端接V\(_{的正极。这样,当开关动作时,两个负载就可同时接通。这个电路因为是集电极开路输出,所以接线时,2、3端不能直接与电源正极相连,必须串联负载后再接到电源正极。否则将烧毁输出级晶体管。使用时必须注意这一点。}\)
这几种沟型接近开关同样可用于行车等各类起重运输机械,以取代老式的限位开关。因为它没有机械触点,是非接触式检测,所以工作更可靠,寿命更长。
2.冲剪床的定位裁切
本刊1997年第10期上介绍过沟型光电开关在冲剪床上的应用。如果冲剪床加工的是金属板材或卷材,就可以用沟型接近开关取代沟型光电开关。它有不怕油污,不受强光、阳光干扰等优点。
3.自动机械的速度检测和控制
小型的沟型接近开关,如TL-D3NE1和TL-D5NE1最适合用于自动机械的速度检测和控制。它们的负载电流为100mA。在使用符合标准要求的齿轮的条件下,响应频率可达每秒1500次。
图5是用沟型接近开关检测和控制自动机械速度的示意图。自动机械的传动轴上安装金属片状齿轮,用沟型接近开关检测齿轮的齿。齿轮转动时,接近开关输出连续的开关脉冲。将输出的开关脉冲经积分电路转换成积分电压。在确定上限电平和下限电平后,将积分电压送入比较器进行比较。如转动速度太快,积分电压值超过上限电平,比较电路就输出减速指令,使电机减速。如转速太慢,积分电压值低于下限电平,比较电路就输出加速指令,使电机增速。这样就可使机械自动保持恒速运转。

详细情况可与南京华威公司联系,电话(传真):O25-2207469。(于鹤飞)