蜂音门铃
附图是一种用继电器作蜂鸣器,由扬声器发音的电子门铃,电路非常简单,声音既清爽又悦耳。

为什么继电器能成为发出声音的蜂鸣器呢?注意电路图中继电器的两个触点,当继电器K的线圈L没有电流通过时,可动的接点片受弹簧的拉力与触点1接通(触点1称为常闭触点),按下按钮开关SB,继电器线圈经常闭触点1接通电源,电流通过线圈L产生磁力,吸动可动接点片使之与触点2接通,此时线圈L断电,继电器接点片受弹簧拉力又与触点1接通,线圈L再度通电,接点片为线圈L所吸。继电器的接点片反复作用而发生振动,此振动音就成为蜂鸣声,但声音低弱,不能作讯响器。
本电路是把继电器所产生的断续电流经过电解电容器C送到扬声器的振动线圈,使扬声器发出比较响亮的蜂鸣声。把按钮开关SB装在大门外,就可以作为方便的蜂音门铃。
感光鸣响之蜂鸣器
光控报警电路有着广泛的用途。把报警电路的光电传感器件——光敏电阻安装在存放贵重物品或重要文件的柜子内,一旦盗贼打开柜门,光敏电阻受到光照,报警器就会不停地鸣响,及时告知值班人员采取防卫行动。
本文介绍的感光鸣响之蜂鸣器是把光控继电器和声频振荡器组合起来构成的光控报警电路,如附图所示。当光敏电阻R1受到光照时,它的阻值明显变小,电源通过电位器RP、光敏电阻R1向三极管VT1注入足够大的基极电流,使VT1导通,集电极电流流过继电器K的电磁线圈,使继电器吸合,触点2接通。与此同时,电源通过闭合的触点2向由VT2组成的声频振荡器供电,振荡器开始自激振荡。振荡信号经输出变压器T推动扬声器发出响亮的报警声。电路中的电位器RP用来调节感光灵敏度。

当硫化镉(C\(_{d}\)S)光敏电阻没受到光线照射时,其阻值很大,VT1得不到足够的基极电流而截止,继电器不能吸合,声频振荡器也不能得电工作,所以扬声器不会发声。
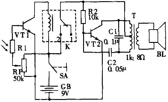
夜间闪光警示灯
夜间,地下管道施工,在道路的危险之处常能见到红色闪光警示灯,它一会儿点亮,一会儿熄灭,引起过路车辆和行人的注意。在高塔上也常装有一闪一闪的红色灯。
附图1是一种简单的闪光警示灯实验电路。电源GB1通过电位器RP、电阻R1向电容器C充电,电容器两端电压逐渐上升。此时,继电器的常闭触点1闭合,发光二极管VD点燃发光。当电容器两端的电压升高到使三极管VT导通时,继电器吸合,触点2闭合,触点1断开,发光二极管VD断电熄灭。随之,电容器经电阻R3迅速放电,三极管VT迅速截止,继电器释放,触点1复位闭合,发光二极管重新燃亮。于是,电容器C又进入充电过程,……。依靠电容器C周期性地充电和放电,使发光二极管周期性地点燃和熄灭,形成风光警示灯。发光二极管点灭间隔的调整可以通过电位器RP的调节来实现。

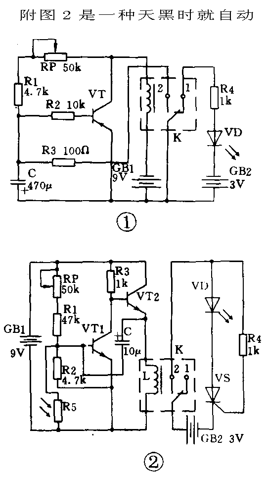
附图2是一种天黑时就自动投入工作的闪光警示灯电路。这里采用了硫化镉光敏电阻R5作为光电传感器件。白天有光照射在R5上,它的阻值很小,它两端的电压降也很小,不足以使三极管VT1导通,所以整个电路不工作。夜幕降临时,R5的阻值变得很大,可近似看作开路,电阻分压器R2两端的电压足以使VT1导通,VT1与VT2组成互补管多谐振荡器,周期性的振荡电流流过继电器线圈L,使继电器不停地交替吸合与释放,这一脉冲信号送到晶间管VS的控制极(门极),使晶间管导通,点然发光二极管VD。注意,当继电器断电释放时,其触点2断开,同时切断了晶闸管VS的主电路,使VS关断,发光二极管随之熄灭。调节电位器RP可以改变电路的感光灵敏度。
附闪亮警示灯的巡逻车号笛
一种模拟警车号笛声并附有闪光警示灯的实验电路如附图所示。整个电路由两部分组合而成,图中左侧是以VT1为核心的、由电容器C1充放电控制的继电器开关电路;右侧是以VT2为核心的声频振荡器。接通电源开关SA后,电源通过电阻R1和二极管VD1向电容器C1充电,使VT1的基极电位上升,当基极电位升高到使VT1导通时,继电器吸合,触点2接通,二极管VD1截止。与此同时,C1通过VT1的输入回路放电,放电电流维持着VT1的导通,直到放电结束,VT1截止,继电器释放,电容器C1重新开始充电,……。电容器C1周期性地充电和放电,控制着继电器交替地吸合与释放。需注意,随着继电器的吸合与释放,触点交替地闭合与切断,使声频振荡器的振荡频率相应地发生着改变,扬声器就响起警车的号笛声。在触点1闭合时,发光二极管VD2点燃;触点1切断时,VD2熄灭。这就模拟出闪亮警示灯的灯光效果。

利用达林顿电路的定时器
常用的电子定时电路大多是利用电阻电容充放电电路(称为RC电路)控制三极管的导通和截止,完成定时开关的动作。电阻的阻值和电容器的容量越大,定时时间越长;改变电阻值或电容量就可以改变定时时间的长短。一般RC充放电电路都是接在三极管的基极回路中,利用三极管导通时的集电极电流驱动执行机构(如继电器)完成预定的工作。
附图是一种利用达林顿电路的定时器。图中三极管VT1、VT2的组合(如图中虚线框所示),等效为一个三极管,称为复合管,又叫达林顿电路。它的特点是等效三极管的电流放大系数β值近似等于VT1、VT2两管β值的乘积,即β≈β1β2,这样,只需在VT的基极注入很小的基极电流,就可以使VT2输出很大的集电极电流,用以驱动较大电流的负载。由图可见,按动一下按钮开关SB,电源GB1直接给电容器C充电,三极管W1、VT2立即导通,继电器随之吸合,触点2闭合,接通了蜂鸣器HA的供电回路,蜂鸣器开始鸣响。值得注意的是,虽然按钮开关SB已经断开,但电容器C通过RP、R和复合管的输入回路缓慢放电,放电电流维持着电路的正常工作,这就是电路的定时阶段。定时时间的长短取决于R值和C值的大小,直到放电电流减小到不足以维持三极管导通时,电路停止工作。图中的蜂鸣器也可以换成3V的小灯泡,成为照明定时开关。

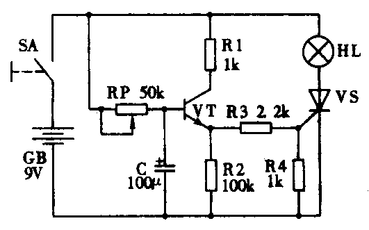
利用晶闸管作负载开关的定时器
附图所示的定时器在电源开关闭合后并不立即动作,而是经过一定的延迟时间后才动作。

当闭合电源开关SA时,电源经可变电阻RP向电容器C充电,使三极管VT的基极电位UB逐渐升高,经过预定的时间(由电阻和电容值决定),三极管VT导通,发射极电流流过电阻R2产生电压降UE,UE经R3、R4分压后,作为触发信号加在晶闸管VS的控制极G(门极)上,使晶闸管VS导通,灯泡HL随之点燃发光。晶闸管在这里起着负载开关的作用,只需给它的控制极输入一个很小的触发电压即可使它导通,导通后可以通过很大的负载电流。若需关断晶闸管,必须断开电源开关SA,切断它的阳极电流。(本刊)