本文所介绍的双音电子门铃的特点是:当持续按压门铃按钮超过2s时,发出带有余音效果的“叮咚”声,如果连续点压门铃按钮超过3次,又会发出悦耳的鸟叫声。住宅的主人可以从听到的门铃声判断来人是家里的人还是来访的客人,因家庭成员可以事先约定用连续点压方式按动门铃按钮。
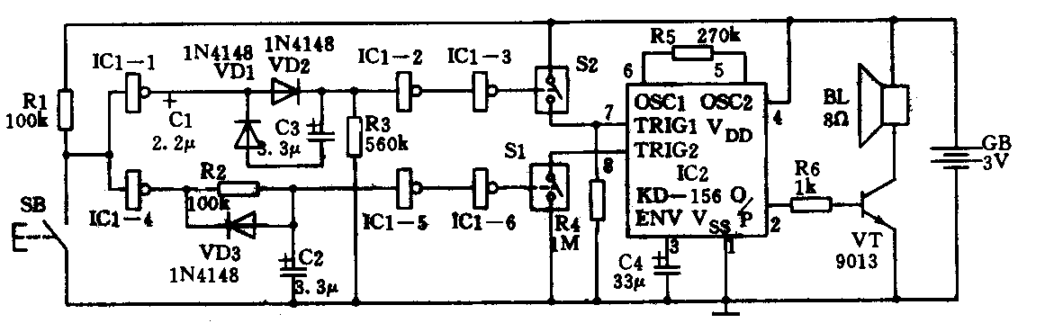
电路原理如附图所示。核心部分是IC2(KD-156),它是一种能发出有余音效果的“叮咚”声和悦耳的鸟叫声的音乐IC,其正触发端TRIG1和负触发端TRIG2分别受模拟开关S2和S1控制。平时门IC1-2输入端通过电阻R3接地,故门IC1-3输出端为低电平,所以S2处于截止状态。门IC1-4输入端经过电阻R1接电源正极,故门IC1-6输出端为低电平,所以S1也处于截止状态。

当持续按压门铃按钮SB时,IC1-4输出端变高电位,经电阻R2给电容C2充电,当C2上电压超过CMOS门转换电压(一般为\(\frac{1}{2}\)V\(_{DD}\),其中VDD为电源电压)时,门IC1-5输出端变成低电平,因而门IC1-6输出端变成高电平,S1导通,IC2的TRIG2端受零电平触发,扬声器BL发出带余音效果的“叮咚”声。当然,持续按压SB时,门IC1-1输出端也变成高电平,并给电容C1和电容C3充电,但IC1-1输出的一次正跳变不足以使C3上的充电电压超过CMOS门的转换电平,故门IC1-2输出端仍为高电平,所以门IC1-3输出端为低电平,使S2仍处于截止状态。
当连续点压SB时,IC1-1输出端电位连续高低变化,经C1和二极管VD2不断地给C3充电,使C3上电压迅速地达到CMOS门转换电压,于是IC1-2输出端变成低电平,IC1-3输出端变成高电平,使S2导通,IC2至TRIG1脚受高电平触发,BL发出悦耳的鸟叫声。这里,需特别指出:VD1、VD2、C1、C3构成的电路,从结构上看,和一般的倍压整流电路完全一样,但它不是倍压整流电路。倍压整流电路是将送来的交流信号倍压整流成直流,这里送来的是脉冲信号,脉冲到来时,给C1和C3充电,脉冲过去后,C1上的电荷通过VD1迅速放掉,为下一个脉冲经过C1给C3充电作好准备,于是脉冲串就能不断地给C3充电。C1还有一个作用,即当持续按压SB时,IC1-1输出端为持续高电平,C1将这种直流性的电平隔离,只“放过”它的前沿正跳变给C3充电,仅这一个跳变不会使C3上电压超过CMOS门转换电平,这就保证了持续按压SB时,只能触发TRIG2脚而不触发TRIG1脚。应当指出:连续点压SB时,虽然也有信号送到IC1-4的输入端,但不会造成IC2之TRIG2脚被触发,因为在连续点压SB时引起的IC1-4输出端电位的连续高低变化,虽然在输出高电平时给C2充电,但在输出低电平时,C2又迅速地通过二极管VD3放电,故C2上的电平总是达不到CMOS门的转换电平,所以IC1-6输出端一直保持为低电平,使S1保持截止状态,即IC2的TRIG2脚不被触发。(任中民)