青少年朋友步入电子殿堂的大门,往往是从制作收音机入门的。本文向大家介绍一组有特色的收音机电路,不仅适合刚入门的青少年制作,也适合有一定基础的爱好者制作试验,从中可了解各种电路新颖的收音机的特点与性能。
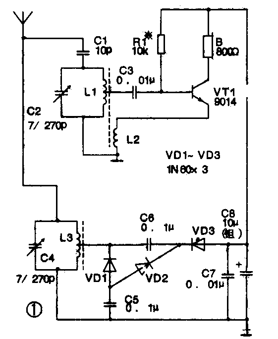
图1为单管再生式无电源收音机电路图。L3、C4组成电磁能调谐回路,谐振于一个强信号的中波电台上,从L3抽头中得到的电磁能信号经VD1~VD3、C5~C8三倍压检波并滤波后,得到一直流电压,供VT1工作。L1、C2为收音机输入调谐回路,由C2选择所需收听的电台频率,经C3送入三极管VT1进行检波、放大,得到的音频信号由集电极输出,推动高阻抗耳机B发声。L2为再生线圈,VT1发射极输出的高频信号流经L2时,产生电磁感应,耦合至L1,使输入VT1的高频信号强度增大,提高了收音机的灵敏度。

制作时,VT1应选用β值大于150的三极管(如9014等)。C8需采用漏电极小的钽电解电容,否则制作调试极易失败。VD1~VD3最好选用进口锗二极管1N60,因它的反向漏电流很小。如一时购不到,也可用国产锗金键二极管2AP9。C2、C4采用7/270p的小型密封双联可变电容器。其它电容均采用小型瓷片电容。L1、L2使用55mm长的扁型中波磁棒,L1用φ0.07×7多股纱包线绕80圈,在70圈处抽头。L2用同号线绕3圈。L3也使用55mm长的扁型中波磁棒,用φ0.07×7多股纱包线绕80圈,40圈处抽头。耳机B使用800Ω的高阻抗耳机。
调试时,首先在空地上架设一段5~10m的水平架空线,注意两端必须安装绝缘子(即水平架空线的金属部分不能接触房屋、大树、大地等)。然后在水平架空线的任意一点将塑料皮割开,焊上另一根电线作为引入线,将引入线连至收音机中。水平架空线越高,接收效果越好,有条件时可将它架设于房顶上。收音机的接地线焊于一块10×10cm\(^{2}\)的铜皮上,再将此铜皮埋于潮湿的地下约0.5m处。用万用表的电压挡测C8两端的电压,转动C4,使电压读数值最高。焊下C4,用DT-890数字万用表的电容挡测其容量,然后用一等值的固定电容换上,如一时找不到合适的电容,可用几个电容并联起来使用,如120p可用100p与20p并联。如手边无测试电容量的仪表,则将C4用热熔胶封固,就不用更换固定电容。随后,调节R1使VT1的集电极电流为0.4mA,将R1也换成固定电阻。这时戴上耳机,转动C2,即可收听到清晰而悦耳的广播声。试将L2的二根线头对换一下,如声音减小,则原来的连接是正确的;如声音增大,则以此为正确。如发现耳机中有啸叫,可将L2与L1的距离拉开一些或减少L2的圈数,一般即可消除。
图1的电路简单易做,但安装那么长的天、地线实在太麻烦,因此再向大家介绍一个免去长天、地线的来复再生式单管无电源收音机,图2是该机电路图,L4、C6组成电磁能调谐回路,由VD3~VD5、C7~C10三倍压检波并滤波后,输出一直流电压,供VT1工作。L1、C2为收音调谐回路,由它选择的电台信号耦合至L2,然后加至VT1的基极进行高频放大,放大后的信号从VT1的集电极输出,经C5后由VD1、VD2倍压检波,检波所得的音频信号再经L2加至VT1的基极进行低频放大。由于VT1先作高频放大,然后又进行低频放大,这一过程是“来复”式的,故称为来复放大。VT1放大后的音频信号从集电极输出,经高扼圈RFC(GZL)驱动高阻抗耳机B发声。电路中,C3为高频旁路电容。C5为高频耦合电容。高扼圈的作用是只允许音频信号流通,防止高频信号短路。L3为再生线圈,VT1输出的高频信号的一部分经C4反馈至L3,由L3将此高频信号再耦合至L2叠加,因此输入至VT1的高频信号得到了加强,提高了收音机的灵敏度。

制作时,VT1选用漏电小的锗高频三极管(如3AG1等),C4选用5~20p的小型瓷介微调电容。RFC选购市售成品,电感量2.5~3.5mH,也可在φ6×15磁芯上用φ0.08mm漆包线密绕250圈,用热熔胶封固。L1~L3使用55mm长的扁型中波磁棒,L1用φ0.07×7多股纱包线绕80圈,L2用同号线绕8圈,L3用同号线绕3圈。L4也使用55mm长的扁型中波磁棒,L4用φ0.07×7多股纱包线绕80圈,40圈处抽头。其它元件的选择与图1电路相同。
调试过程与图1电路基本相同。不同之处是用一段2m长的软电线作天线,并将此天线在台灯电源线上绕上5圈。在收到电台信号后,如产生啸叫,可调C4消除,如无法消除,可减少L3的圈数。整机正常工作后,VT1的集电极电流为2~3mA。由于采用了来复再生式电路,因此无论是灵敏度还是音量均有较大提高。(周兴华)