笔者制作的家电维修用电源(见附图),全部使用集成稳压器,具有高稳压精度、高温度稳定性、高纹波抑制等性能;并且有体积小、重量轻、外接元件少等特点。

电路工作原理
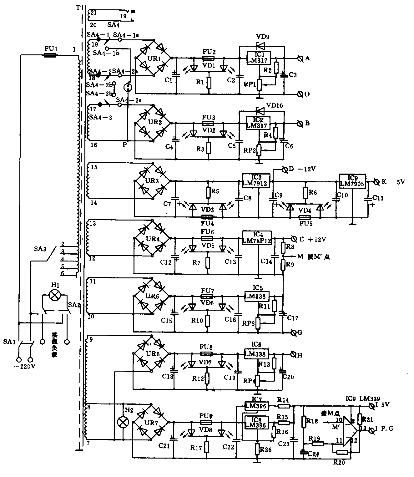
(1)变压器T的20、21两端输出交流1.5V供维修彩色电视机或黑白电视机的场扫描电路。面板上通过三芯插孔输出。
(2)直流90~170V输出支路。使用600V/4A整流器将变压器18、19两端的交流130V整流为直流,经3A保险丝FU2和双色发光二极管送到由金属封装的LM317集成稳压器。通过调整所接电位器RP1在A端输出90~170V的直流电压。若电路正常,双色发光二极管VD1均发光,显示为橙色,此时作为该支路电源指示。当过流将保险丝熔断后,发光二极管中只有红色的发光二极管加正向电压呈单色,显示红色,作为保险丝熔断指示器。
(3)直流60~114V输出支路。使用600V/4A整流器将变压器16、17两端的85V交流电压整流为直流,通过调整电位器RP2,在B端子上获得60~114V直流电压。
另外,这两组交流电压使用10A、380V的三刀双掷开关,将变压器的17、18、19接点通过开关转换。开关钮在中间位置时为接点均断开,既无交流输出,又无直流输出。当开关向上拨动时,实际上是接通上述两个直流支路,便有90~170V、60~114V电压输出。此时是将变电器的16、17端的交流85V与18、19端的130V串联并接到面板上的交流220V输出插座上,输出交流220V电压。通过SA3可以调整输出交流220V数值。
(4)直流-12V与-5V输出支路。使用100V/4A的整流器,将变压器14、15两端的交流12V电压整流成直流,最后输出稳定的-12V、-5V。
(5)直流+12V输出支路。使用11V/15A的整流器将变压器12、13两端的交流12V电压整流成直流、在E端子上输出稳定的+12V电压。
(6)直流-48~-6V输出支 路。使用600V/4A的整流器将变压器 10、11两端的交流36V电压整流成直流。可在G端子上输出-48~-6V电压。
(7)直流6~48V输出支路。使用600V/4A的整流器将变压器7、9两端的36V电压整流成直流。可在H端子上输出6~48V直流可调电压。
(8)直流5V输出支路。使用25A/50V以上的整流器。将变压器7、8两端的交流5V电压整流成直流。经两只集成稳压器LM396并联。在I端子上输出5V直流电压。另外此5V电压经R18(56kΩ)和C24(10μF)构成RC延时电路。电容正端的电压通过R19加到LM339四电压比较器的11脚上。反相输入端10脚上的电压取自+12V输出支路R8和R9的分压(正常值约为1.5V),作为比较电压。当电源开启,11脚延时200ms后,电压超过1.5V,输出端13脚由低电平跳变为高电平5V,在端子J上输出P.G电压,作为计算机维修用电源。
(9)H1为220V、100W白炽灯,当SA2在“照明”位置时接入220V交流白炽灯,用于维修照明。当SA2在“假负载”位置时,100W白炽灯通过面板上的假负载插孔作为彩电维修时的假负载。
元器件的选用与制作
该电源变压器T选用舌宽为5cm、叠厚为8cm的壳式铁芯。初级用1.07mm外径漆包线绕制225匝。分别在220匝、215匝、210匝、205匝处抽头。次级7.8端用外径2.54mm左右的漆包线绕制5.5匝。然后8、9端用2mm左右漆包线绕35匝。10、11端用1.24mm漆包线绕41匝。12、13端用外径1.07mm漆包线统制2组13.2匝,然后把它们并联连接。14、15端用外径0.92mm漆包线绕2组13.2匝,然后并联连接。16、17端用0.92mm漆包线绕94匝。18、19端用外径0.92mm漆包线绕143匝。20、21端用外径0.92mm漆包线绕制2匝。其它所用元器件按附表选取。双色发光二极管使用发红、绿二色的2EF313型号的产品。

为了使整机工作时机内温度不致升高很快,还使用了两个仪表风扇。一个12V仪表风扇,装在机壳下部。另一个使用交流220V的轴流风扇,装在机箱背面。(翟春林)