近年来,在琳琅满目、五光十色的玩具世界里,涌现出许多形态逼真、声色俱全的新频电子玩具,深受广大小朋友喜爱。诸如模拟太空梦幻回响的宇宙飞船、太空机器人;惟妙惟肖的动感电子娃娃、会叫能动的电子鸟、电子蝉、电子青蛙;还有能发声发光的电子警车、电子救护车、玩具电话、玩具枪等等,品种繁多,令人耳目一新。
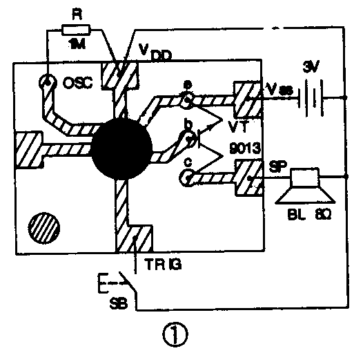
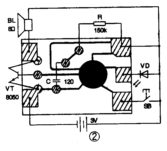
这些电子玩具(包括电子工艺品)所产生的各种声光效果,其核心部分是一片声光模拟集成电路。声光模拟集成电路是音乐集成电路的一个重要组成部分,按其输出功能可划分为声效型和声光型两种。前者只能发出各种模拟声响,如各种动物声、昆虫声、枪炮声、炸弹声、汽车、火车、飞机等声响及风声、流水声等自然界的各种声音;后者则是在发出模拟声响的同时,还能推动一个或多个发光管以某一固定频率闪光或随着声响的旋律同步闪亮。图1~图6是几种常见声光模拟集成电路的典型应用电路图。下面列举一个声光模拟控制电路的应用实例,供读者参考。






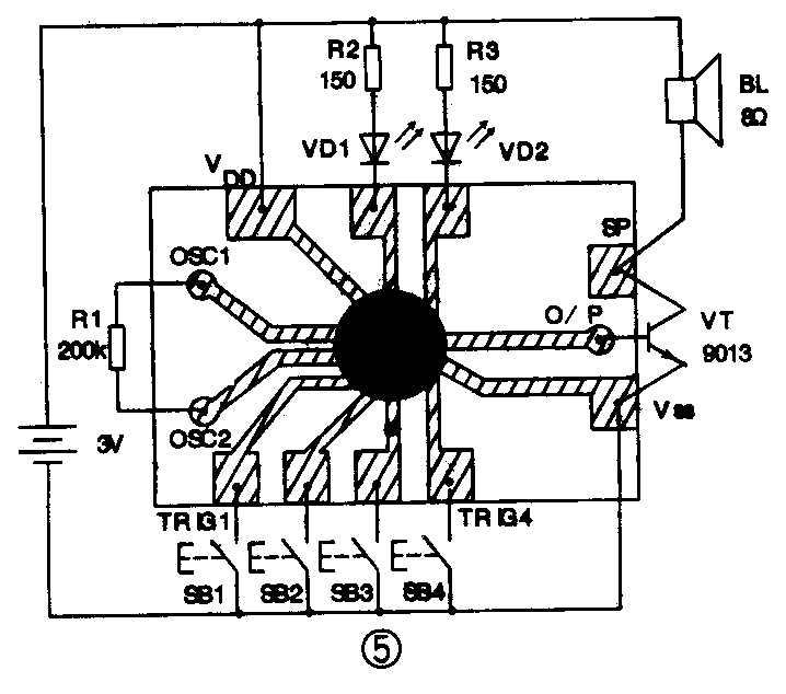
图7是典型应用电路原理图。它由方波发生器、扫描电压发生器、音响效果发生器及功率放大器几部分组成。音效发生器由IC1、IC2两片8键8音模拟集成电路构成。IC1、IC2各引脚功能简述如下:V\(_{DD}\)——正电源端;VSS——负电源端;OSC1——内部振荡器输入端;OSC2——内部振荡器输出端。OSC1、OSC2之间外接320kΩ电阻与内部电容产生时钟振荡基准频率,适当调整该电阻阻值大小,可改变音调;k1~k8——触发控制端,可控制产生8种不同的声音;OUT——音频信号输出端,外接8050或9013 NPN型三极管可直接推动扬声器工作。

读者可以采用以下几种方法:(1)扫描电压发生器周期性地改变IC1和IC2的电源电压;(2)将IC1的输出端去控制IC2的振荡器的输入端,或者IC1与IC2相互控制;(3)将两片或多片的模拟集成电路分别输出不同内容的声音(如飞机声、枪炮声、炸弹声等),然后混合输出;(4)用音乐IC的输出信号去调制IC1或IC2的振荡输入端。通过实验可获得近百种声响,如炮火齐鸣,枪声四起,警车呼啸的激战场面的音响效果,又如昆虫、青蛙合鸣,群狗狂叫等意想不到的特殊音响效果。(王南阳)