本文介绍的呼唤应答报警电路,子机和母机均有接收和发射功能,子机再遥控母机开机或关机,同时母机将所执行的开机或关机工作情况及时告知子机。该遥控电路工作距离为几百米,耗电省,制作、调试很方便。它可广泛应用于汽车、摩托车防盗报警及各类遥控、报警场合。
工作原理
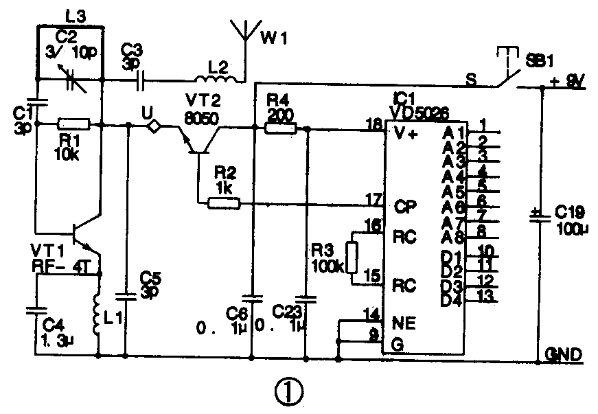
图1是发射电路原理图,由VT1、L3、C2等元件组成高频振荡电路,C2、L3为谐振基本单元,VT1为振荡管兼高放管,振荡频率约为300MHz。

调制电路由IC1及VT2等元件组成。IC1为编码器,VT2为调制管。该编码脉冲调制信号经U平衡器加入射频电路,并由天线将此载波信号一并发射出去。
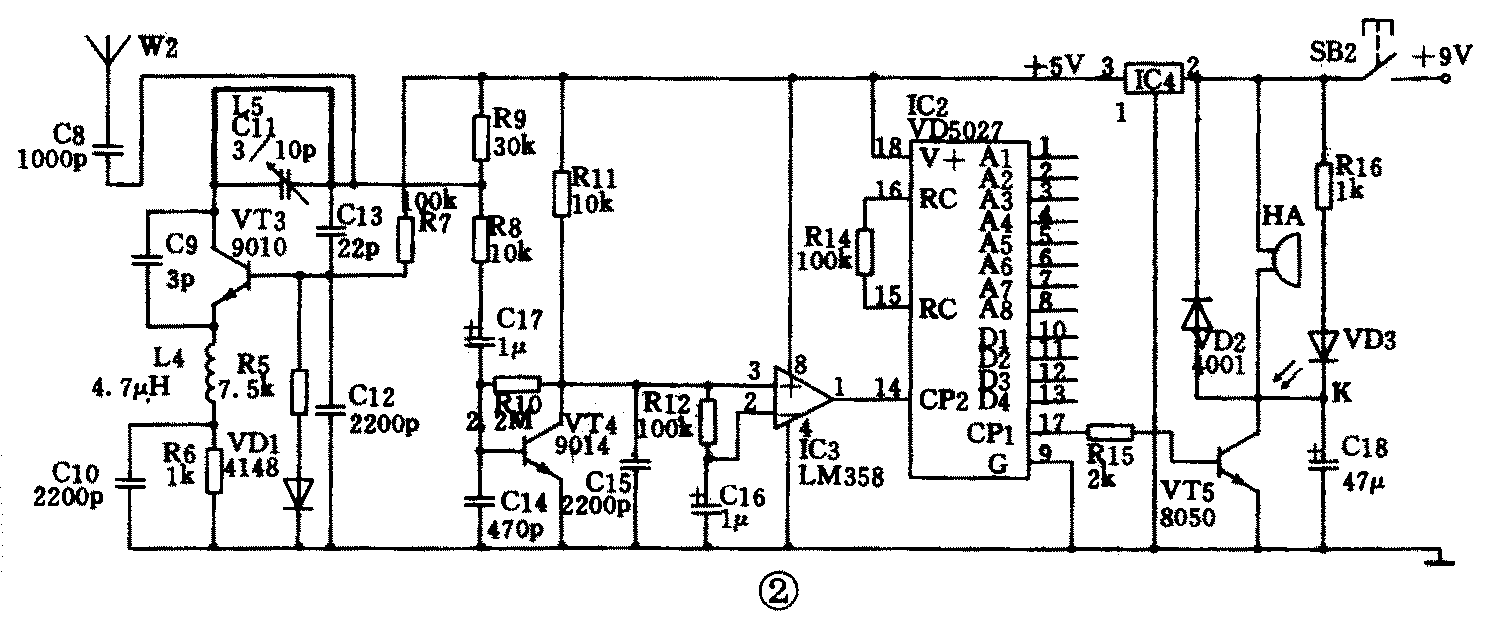
图2是接收电路原理图。由VT3、C11、L5等元件组成的接收放大电路,对发射机发射的高频信号进行接收及放大,由R8、C17送入VT4组成的放大电路,放大后的调制信号送入LM358放大器,它可将微弱的调制信号再放大、整形,向IC2解码器送入的规整的调制信号,经IC2解码后,在其第17脚输出高电平,VT5导通,带动蜂鸣器HA及VD3工作,说明发射机在发射信号,当发射机停止工作后,接收机中的蜂鸣器、发光二极管停止工作。

当接收电路与发射电路制作在同一块电路板上时,发射电路由SB1微动开关控制,正常工作时,整机仅有接收电路处于守候状态。
同一块电路中既有发射又有接收时,其编码、解码器的地址编码应错开,不要编制一样,即:子机的发射、接收电路分别与母机的接收、发射电路地址状态完全一样。否则,一是造成干扰,二是不能解码。
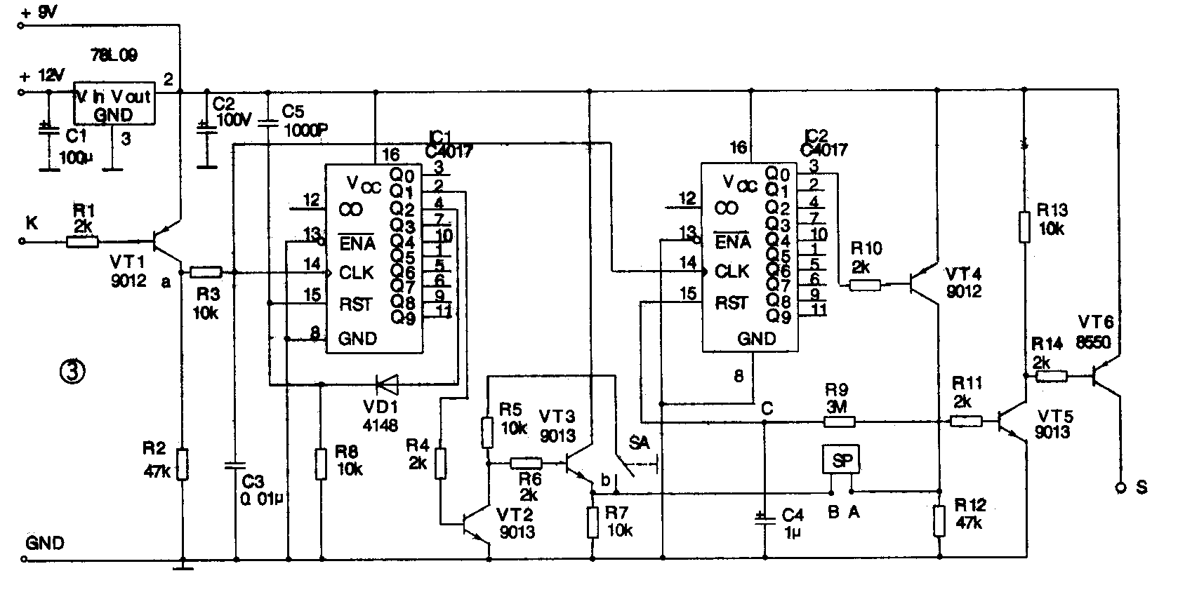
图3是母机附加的“呼唤应答”解发电路。当母机接收电路接收到子机发来的“询问”信号时(即发射电路按一下SB1遥控键),接收电路中VT5导通,其K点电位变低,图3中的VT1导通,a点变高电平,IC1计数器计数一位,即IC1的第2脚电平变高,VT2、VT3导通,b点变高电平,使SP处于守候状态。同时,当IC1计数时,IC2的第14脚同时也会得到一个上升沿触发脉冲,IC2计数一位,即IC2第3脚电位由高变低,VT4、VT5、VT6导通,S点变成高电位,使发射电路加电工作。电路中设置R9与C4延时电路。当C点电位达到一定电压值时,IC2第15脚复位端得电,使IC2强制消零复位,其第3脚又变高电平,VT5、VT6截止,S点变低,发射机停止工作,R9、C4延时时间为3~5s(任定),其作用是当子机发射机送来信号时,如果母机接收正常,会反送3~5s信号给子机,说明按指令行动,工作正常,即为“呼唤应答”。

如果有人触动水很开关SP时,SP导通,A点电位变高,VT5、VT6导通,发射电路会及时将报警信号发射出去,直到SP恢复正常为止。
如果子机控制母机关机时,只要再触发发射电路中的SB1一下即可,此时图3中IC1又计数一次、IC1第4脚电位由低变高,并由VD1促使IC1第15脚为高电平,IC1复位,第2、4脚立即恢复低电平。此时SP水银开关不起作用。图3中SA1开关是作为手控报警使用,SA1合上时,SP水银开关便进入守候状态。
元器件选择
图1与图2中IC1、IC2为VD5026、VD5027编解码专用电路,VT1为发射管,型号为RF4T。U为平衡吸收杂波元件,贴片式外形,型号为LQ-4R7(方形)。L1用φ0.71mm漆包线在φ3mm钻头齐绕6匝,并脱胎。C4用贴片式电容器(扁形)。L2用φ0.71mm漆包线在φ5mm钻头齐绕8匝脱胎。IC4为微功耗稳压器(静态电流3μA),稳压值5V,型号为H71050。HA为蜂鸣器(6V)。VT4为高放大倍数三极管(如C9014K或3DG239C等),也可用9013、9014等代用。发射与接收电路共用一根天线,采用10~30cm普通导线即可。图3电路中的IC1、IC2采用C4017计数器。SP为单向水银开关,SA为微型单刀开关。其余元件如图所示。
调试与使用
全部元件备齐后,应按顺序安装元件,以方便调试。顺序如下:
(1)先将发射电路VT2之前的元器件焊接,用示波器测VT2发射极(与地之间)波形,正常值为一串重复的短形波。
(2)再将发射电路剩余部分焊完,业余条件下,取FM收音机一台,放在离发射机约1m远处,能听到“嘟、嘟”声响(谐波)。
(3)安装接收电路高放部分,到a点止,用示波器测试a点波形。在无发射信号时,此处波形应为一噪声带;有发射信号时,应能看到幅值很小的矩形波(同发射机波形一样)。
(4)再安装其余元件,用示波器测b点波形,此波形应有放大后的矩形波,而且很完整(此步应配合统调各微调电容器进行),这时蜂鸣器HA应响,发光二极管亮。
以上过程如果有一步不对,应逐个检查焊点及元件,一般一次即可成功,此时发射机工作电流大于20mA,接收机守候电流小于2mA(一般为1.3~1.5mA)。
全部调试完毕后,装入配套的机壳内,便可投入使用。子机盒内装入一节9V叠层电池,母机盒内电池仓位置放入触发电路板,并将板中“S”、“K”点按入母机收发板中相应各点。母机中电源外接9V或12V即可。
使用时,操作子机触发按键。母机如果接收到信号,将发回一个受理信号,即母机发射电路工作几秒钟,使子机蜂鸣器响几声,说明母机已经工作,处于守候状态。如果子机再发射一次,母机可关闭。
当有人动车时,SP水银开关被接通,子机应报警。如不要遥控开关母机,可将触发板上的SA合上。(李建华)