彩色显像管是电视图像信号的终端显示器件,彩色电视信号最终要通过彩色显像管重现给用户,因此大屏幕彩色显像管的技术水平和质量水平,对大屏幕彩色电视机的图像清晰度、亮度、对比度、彩色鲜锐度、图像失真、使用寿命等至关重要,甚至是决定性的。高水平的彩色电视机,首先要配置高水平的彩色显像管。如果彩色电视机采用了许多电路新技术,生产工艺水平也很高,但是作为图像终端显示器件的彩色显像管水平很差,则再好的技术水平也无从发挥,也可以认为是前功尽弃。
彩管的发展
彩色显像管的发展简史是与彩色电视机的发展历史同步的,荫罩式彩色显像管最早出现在50年代,经过40多年的不断改进、完善,阴极射线式彩色显像管在图像清晰度、亮度、对比度、寿命、价格等方面已经达到极其完善的程度。但是彩色显像管的技术发展并没有停止,随着时代的进步和科学技术的发展,作为未来多媒体终端显示的彩色显像管,将会向高清晰度、高亮度、高对比度、长寿命方向发展,迎来它更加光辉、灿烂的明天。
如果按彩色显像管玻屏的设计、制造划分彩管的发展历史,它大致经过了球面圆角管、平面直角管(FS)和超平面管(SF)三个阶段。
球面圆角管的代表产品是早期的37cm(14英寸)、47cm(18英寸)、51cm(20英寸)、56cm(22英寸)彩管,其玻屏的曲率半径较小,也就是说,其玻屏弧度较大,玻屏中间部分比玻屏四周隆起高度较大,高差明显。
平面直角管(FS)的代表产品是目前普遍使用的54cm(21英寸)、64cm(25英寸)、以及部分74cm(29英寸)中、大屏幕彩色显像管。与球面圆角式彩色显像管相比,其玻屏曲率半径较大,平坦度增加,玻屏中间部分比玻屏四周隆起高度减小。
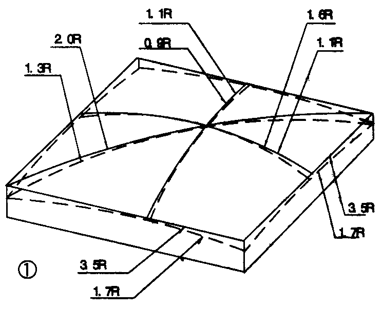
随着彩色显像管屏幕尺寸增大,如果曲率半径不增加,玻屏中间部分比玻屏四周隆起高度将增加,将会引起重显图像失真增大。因此在74cm以上大屏幕彩色显像管中必须采用玻屏曲率半径更大的超平面彩管(SF),它是目前国际上最流行、技术水平最高的彩色显像管,我国北京松下彩色显像管有限公司生产的画王彩管就属于这类彩管,南京华飞彩色显示系统有限公司、上海永新彩色显像管有限公司等企业明年即将投产的74cm彩色显像管均属于这类超平彩管,其玻屏的对角线曲率半径是偏转电子束曲率半径R的2倍以上(见图1),玻屏接近于平面。

新型超平面彩色显像管的优点
新型超平面彩色显像管以玻屏平坦、图像清晰、颜色纯正、长寿命等著称,代表着彩管工业的世界先进水平,使用超平面彩管的彩色电视机也反映了国际彩电发展的最高水平。以超平面为特色的大屏幕彩色显像管的主要特点有以下几个方面:
一、超平面彩色显像管重显图像失真较小。普通球面圆角彩色显像管由于玻屏中心隆起较高,显示的图像会产生一定的变形失真(见图2),平面直角管在图像失真方面有了一定改进,而超平面显像管产生的失真更小,画面更真实。

由于超平面彩色显像管显示的图像失真度较小,彩色电视可视图像区变大了,不但可以在电视机正面能欣赏到失真度较小的画面,即使在侧面较大范围内也可以观察到失真度较小的画面。
二、玻屏平面化带来的显著优点是减少了环境光在玻屏上的反射。早期的球面管在观看电视时,如果室内开灯或室外光线照射到荧光屏上时,很容易反射到人的眼中,产生刺眼的反射光。平面直角管(FS)在这方面改进了一大步,而超平面彩色显像管在平面直角管的基础上又有新改进(见图3)。由于玻屏平面化带来的这一优点,无论对收看彩色电视图像,还是保护视力都是很有益处的。

三、采用黑底技术,减小了环境光的影响,提高图像对比度。黑底技术包括三方面技术措施,其一是玻屏采用透光率较低的玻璃,使环境光经荧光粉到人的眼睛,要经过低透光率玻屏的两次衰减,而荧光粉发出的光到人的眼睛只需一次衰减,从而减小了环境光对图像对比度的影响;其二是在红、绿、蓝三基色荧光粉的间隙,涂敷不发光的石墨层,石墨层既不发光,也不反射外来的环境光,可以使环境光影响减小一半,图像对比度提高一倍;其三是采用着色荧光粉,在红荧光粉和蓝荧光粉表面涂敷一层与荧光粉发光颜色相同的颜料。着色颜料具有滤色效果,它对荧光粉本身的发光效率没有影响,但当外界环境光投射到屏幕上时,由于着色颜料吸收了环境光中与其本身颜色不同的光谱成份,同样也能减弱环境光的影响,提高图像对比度,使画面层次更分明,色彩更艳丽。
四、采用节距和温度系数较小的殷钢荫罩,提高了图像清晰度,减小了荫罩热拱变形,使重显图像清晰、色纯稳定。荫罩是彩色显像管的主要部件之一,它的主要作用是选色,限制红、绿、蓝电子束的着屏方向和着屏束径,保证红、绿、蓝三基色电子束能轰击荧光面上红、绿、蓝三基色荧光粉。荫罩节距减小,提高了电子束的精细化水平,重显图像清晰、细腻;殷钢荫罩的温度系数较小,减小了荫罩热拱变形造成的色纯下降,提高了重显彩色图像的热稳定性。
五、使用含漫长寿命阴极,提高了彩色显像管的工作寿命。彩色电视机中所使用的元件大部分属于永久性元器件,例如晶体管、集成电路、电阻器、电感器、电容器、机械固定件等,只有彩色显像管属于半永久性器件,它是有寿命的,而彩色显像管的寿命主要决定于阴极。阴极在灯丝加热下发射电子,一般认为阴极电流下降为初始值的70%时,则认为寿命终了。含浸阴极工作寿命在20000小时时,发射电流仅下降了10%,因此这种长寿命阴极制造的彩色显像管,可以大大提高彩色电视机的实际使用寿命。
六、采用新型多电位聚焦系统的电子枪和椭圆开孔的大口径电子枪,提高了电子束的精细化水平,改善了电子束的聚焦性能,使重显图像清晰、细腻。
以上只是简单介绍了平面直角管和超平面管的一些主要优点,它代表了90年代彩管设计、制造的最高水平。但是任何新生事物都不可能尽善尽美,平面直角管和超平面管也存在一些缺点,例如玻屏平面化使屏幕边缘部位的色纯、会聚性能变差,光栅的枕形失真增大等,因此对于电子枪、偏转线圈、荫罩、防爆技术都提出了更高的要求,从而使成本有所增加。以74cm超平面彩色显像管为例,它的价格比普通平面直角、碳钢荫罩管相差300~500元。(安永成)