触控继电器开关
下图是一个应用小型灵敏继电器组成的触控开关实验电路。继电器是一种靠电磁铁驱动的开关,它的内部有两组接点,当电磁铁线圈L不通电时,接点I(称为常闭接点)闭合,接点2(称为常开接点)断开;有电流流过电磁铁线圈L时,则接点的可动部分(衔铁)被吸拉过来,接通接点2,断开接点1。触控开关采用两块金属片作触控板。当用手指同时碰触金属片A和B时,电源经电阻R1和手指向三极管VT1提供基极电流,使VT1、VT2同时导通,接在VT2集电极的继电器线圈L得电将衔铁吸合,接点2闭合,使灯泡HL发光或使蜂鸣器HA鸣响。与此同时,与继电器线圈并联的发光二极管VD也一起发光,显示继电器处于吸合状态。

两管长延时定时器
为了获得延时较长的定时器,可以采用两只直接耦合的三极管驱动继电器开关,实验电路如下图所示。两只三极管直接耦合称为“复合管”,它可以等效为一只高β值的三极管,其等效电流放大系数β=β1·β2。因此,只需向VT1的基极注入微弱的输入电流,就能使V12的集电极向继电器提供足够的驱动电流。实验时,按下按钮开关,继电器即刻动作,接点2吸合,接通灯泡HL或蜂鸣器HA的电源。按下SB的同时,电容器C迅速充电,随后SB断开,利用电容器的放电电流维持复合管的导通,直到电容器的放电电流减小到不足以维持VT1导通时,继电器自行释放。由于在延时阶段VT1的基极所需的放电电流很小,所以放电回路的电阻(R1、R2、RP)和电容器C可选得较大,从而获得延时较长的定时器。图中发光二极管VD是继电器处于通电状态的指示灯。

高灵敏度断线测试器
在检修电气设备时,常常需要测试某些部件(如变压器线圈、扼流圈、继电器线圈等)是否有断线故障。附图是一种高灵敏度断线测试器的电路。接通电源开关SA,把两根测试棒(表笔)触碰时,扬声器有声音发出,就表示电路可以正常工作。在测试时,把两根测试棒分别搭接在被测导线或线圈两端,若扬声器发声,说明没有断线:若扬声器不发声,就表示有断线故障。这个测试器即使通过测试棒的电流微乎其微,仍会有声音发出。换句话说,被测电路的电阻即使为数千欧,只要不断线,扬声器就会发声。

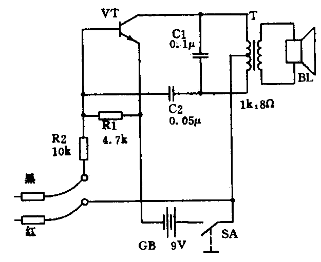
简易定时开关
在楼梯或过道常使用一种照明定时开关,上楼时按下开关按钮,电灯立即发光,经过一定时间的延迟,电灯会自动熄灭,做到“人走灯灭”,节约电能。附图是一个简易定时开关的电路,按一下接钮开关SB,电源通过电阻R1向三极管VT注入基极电流,VT导通,集电极电流流过继电器线圈L,吸动衔铁使接点2闭合,给灯泡HL接通电源,灯泡发光。与此同时,电源向电容器C迅速充电,使电容两端电压达到9V。虽然按钮开关复位断开,但电容器C经VT管的E-B结、R1的一条放电回路(另一条放电回路由R2及RP组成)放电,维持VT的导通,所以灯泡依然发光。当电容器放电电流减小到不足以维持VT导通时,灯泡自行熄灭。

水满报知器
往浴盆或半自动洗衣机中放水,达到预定的水位时,若能发出讯响,将会给人们带来很多方便。附图是一水满报知器电路。使用时,接通电源开关SA,向容器中注水,当水位上升到将两个金属电极连通时,三极管VT1的基极回路接通,VT1导通,其集电极电流流过继电器线圈L,将接点2吸合,这就接通了由VT2组成的低频振荡器的电源,振荡信号经输出变压器耦合,推动扬声器发出讯响,及时告知主人水已放满。

断线报警器
盗贼夜间入室盗窃大多是从门窗潜入的,如果把自制的“开启就切断”的开关装设在居室的各个门窗上,再用导线把它们串联起来接入报警器电路,这时不论哪一扇门窗被开启,均会使报警器电路工作,发出报警信号。图1就是利用防盗线断开报警的防盗报警器实验电路。人睡前,先合上电源开关SA,防盗报警器即进入戒备状态。万一有盗贼打开门或窗准备入室,警报线即被切断(注意图中的警报线连通时,会将三极管VT伪B-E极短路,使VT截止),电源GB通过R1给VT输入基极电流,使VT导通,继电器动作,接点2被吸合,接通红色报警灯和蜂鸣器的电源,发出报警。待盗情解除后,只需将被开启的门窗关好,报警即中止。

上述防盗报警器的缺点是,若家中无人,盗贼入室后随即关好门窗,报警声即刻停止,盗贼仍可在室内悄悄作案。图2给出了一种持续鸣响不停的报警器电路。它与图1不同的是,只要门窗打开,继电器就动作,将接点2吸合,接点1随之断开,接点1断开后警报线即被它切断,即使再把门窗关闭也无法接通警报线。此时,蜂鸣器是由另一组电源GB2供电的。若想解除报警,必须将电源开关SA断开。(本刊)