大部分家用摄像机在拍摄时,安装在电子寻像器上的一只红色发光二极管被点亮,它的作用在于提醒摄像机前面的人正在拍摄,这个装置通常称它为记录指示器。早期生产的NV-M7摄像机没有这种装置,本文向大家介绍在NV-M7摄像机上加装记录指示器电路的制作方法。
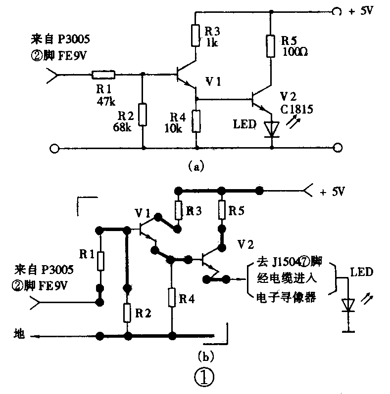
图1a是加装的记录指示器电路,图1b是自制小印制板。从图1a电路可见,该装置由射极跟随器V1与驱灯电路V2所组成的。为了安装方便,设计时将发光二极管LED串接在V2发射极电路中。由于记录指示器内发光二极管LED只在拍摄时才被点亮,因此选用FE9V电压作为跟随器V1驱动信号。当机器工作在录像机状态时,V1、V2均处于截止状态,V2发射极无电流通过,发光二极管LED熄灭。当机器处于摄像机状态时,按下开始/停止键,FE9V电压经电阻R1、R2分压后加到V1基极,其发射极输出高电平,驱灯管V2导通,发光二极管LED被点亮。拍摄完毕再按开始/停止键,机器处于停止拍摄状态,FE9V电压立即消失,V1、V2均回到截止状态,发光二极管LED熄灭。从而实现了记录指示器的功能作用。

安装与调试:安装时先拔下电子寻像器插头并将其从机架上卸下,拆开外壳,取出印制板及显像管,找一枚φ2.7毫米钻头按图2所示的位置钻一个圆孔后将寻像器印制板和显像管重新装好,将φ3毫米红色发光二极管装在钻孔内,再用502胶水固定。将发光二极管负极焊在寻像器印制板地线上,然后把靠近接插件P701一端7根胶质导线上的黑色胶带解开,抽出一根紫色导线(该导线线头包在胶带内闲置未用,它的另一端线头通过电缆插头插入摄像机上的J1514插座⑦脚上),剥开线头沾锡后焊到发光二极管正极上。装好电子寻像器外壳。卸下摄像机左右两边机壳,将安装在EVF连接器印制板VEK3521上的插座J1504⑦脚(该脚经印制线条接地)用刀片割断,然后将自制小印制板上标有去向的引脚用导线分别焊到相应的焊点上。焊好后检查无误就可以通电调试。由于本装置工作原理简单,电路元件少,只要元件选择正确,装好后一般不需调试就能正常工作。如果遇到接通电源开关时发光二极管立即被点亮,说明V2已处于导通状态,这种情况下可调整R3、R4阻值,增大R3或减少R4容易使V2截止,发光二极管熄灭,反之容易导通。如果机器在摄像机状态时按下开始/停止键,发光二极管不亮,这时可调整R1、R2分压比来解决。调整完毕将自制小印制板固定在电池盒附近的空闲位置上,最后装好摄像机外壳,机器就能正常工作。(黄福森)
