松下公司的影碟机在进入我国市场时,只附一份使用说明书,技术维修资料没有供给,而它的拥有量又很大,故障机种也比较多,因此给维修带来许多困难。笔者在检修松下影碟机的过程中总结不少经验,现以LX-K750EN型机为例,介绍一些检修实例,供大家参考。
例1.左声道无声
故障:播放碟片时,左声道无声,其余功能正常。
检修:根据故障现象分析,激光头组件、电源电路和机械系统均正常,可能左声道电路有故障。参看图1,用示波器观察集成电路IC102B的⑦脚无音频信号波形,检查集成电路IC101脚输出左声道波形正常,检查IC102B⑤脚无输入音频信号波形,说明IC101脚与IC102B⑤脚之间电路元器件有问题。检查相关元件,发现电容器C116短路,电阻R106的阻值变大,因而造成IC102B无输入信号。更换R106、C116后,影碟机工作正常。

例2.卡拉OK失效
故障:用卡拉OK演唱时,无歌手的声音。
检修:开机试验,除卡拉OK外,其余功能都正常,检查话筒良好。由原机电路分析,在一般情况下,集成电路IC201的脚输出的模拟音频左右声道信号,由②脚和脚进入IC701,它是一个集成电子开关,由和脚输出,模拟音频信号由④脚和⑩脚进入IC702,经A/D转换成数字信号,由IC702的输出到电子开关IC704,再进入IC101,在其内部经A/D转换,并由IC101的脚和脚输出左右声道音频信号到输出插孔。当插入话筒1或2时,话筒输出歌手唱歌的声音经过IC601放大(话筒前置放大),经过音量调节电位器进行音量调节,再经IC602放大,由IC602的①脚输出,分成两路:一路作为直达声,直接与影碟机输出的左右两个声道的音频信号叠加;另一路经IC7O3作A/D转换,再从IC703的输出到IC706作数字延迟处理,它由脚输入,3输出,产生回声效果。最后经IC101作音频放大,也是叠加在左右声道的音频输出。
检查相关电路,发现IC602内部损坏。更换IC602,故障排除。
例3.无图像
故障:播放碟片时,电视机出现蓝色而无图像。
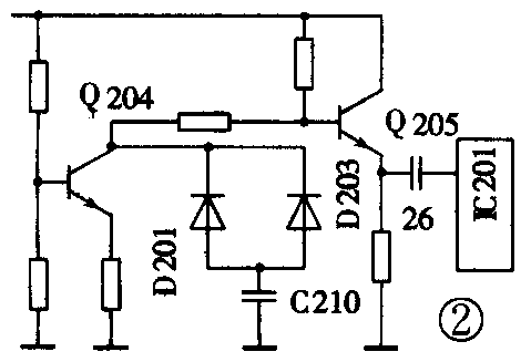
检修:开机检查激光头组件动作正常,测量电源各组输出电压基本正常,可能是图像信号处理电路有问题。在视频信号处理电路中,RF信号首先送到由晶体管Q201、Q203组成的调制信号传递(变换)函数电路(MTF),由它来补偿激光检拾头组件输出的RF信号。当播放CLV光盘和CAV光盘的内圆周时,系统控制微处理器IC201(MN1883210)的输出5V高电平,经接线板P23205的⑤脚和P23215的⑤脚使开关管Q201导通,电阻R206和电容C202接在Q201的发射极上进行高频补偿。补偿后的RF信号接着进入带通滤波器(BPF)。在RF信号中,FM图像信号占据的频带范围为3.5~15MHz,而带通滤波也设在此频带范围。BPF由电感L201和电容C203、C202组成,只让3.5~15MHz的FM图像信号通过,其它频率成分全部衰减掉。接着信号经2.3MHz和2.8MHz的陷波处理。由于左声道声音信号调制在2.3MHz上,右声道音频信号调制在2.8MHz上,2.3MHz陷波器由电感L202、L203、电容C205、C207组成;2.8MHz陷波器由电感L204、L205、电容C208、C209组成。利用这两个陷波器可以进一步抑制FM音频信号对FM图像的干扰。参看图2,经过陷波处理后的FM图像信号送到晶体管Q204放大,经二极管D201和D203限幅,三极管Q205缓冲放大,信号从集成电路IC201的输入IC201(AN2661NK)。检查晶体管Q204、Q205、D201、D203、C210等元器件,发现Q205开路,更换Q205,影碟机工作正常。(竹夫)
