目前社会上拥有量最多的交通工具当属自行车,但是,自行车因为质量轻、易移动,也就成为盗窃团伙的目标之一。本文介绍一种DY-201型自行车防盗器,可有效地降低自行车丢失。
工作原理
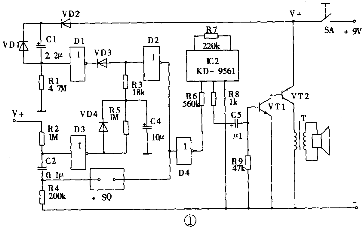
图1是DY-201型自行车防盗报警器电路原理图,D1~D4为反相器,SA闭合后,整个电路得电工作。电源经R1向C1充电,D1输入端为高电平,输出端呈低电平,VD3导通,D2输出高电平,D4输出低电平,IC2不工作。当C1充电完毕后,D1输出高电平,VD3截止,整个电路处于报警守候状态。同时,电源经R2向C2充电,并很快充满,使D3输出低电平。当触发传感器SQ受到震动时,经C2向D3输入一个负脉冲,D3输出一个正脉冲,此正脉冲通过VD4向C4迅速充电,由于C4的放电作用,使D2输入高电平,输出低电平,经D4反相后输出高电平,IC2得电工作。

IC2、VT1、VT2等组成报警电路,当IC2得电时,由IC2产生报警音源,经VT1、VT2、T及高音频扬声器发出约95dB的超高音响。当传感器SQ不再受到震动时,几秒钟后C4放电完毕,D4输出低电平,IC2停止工作,继而又转入报警守候状态。C4的放电时间即为报警延时时间。
其中C1、R1的充电时间即为主人开机确认识别时间,可防止主人开机误报警现象。
元器件选用
D1~D4采用CD4069六反相器中的四个反相器;IC2用四声报警专用电路,型号为KD-9561;VT1用8050,VT2选用B956或B744,耐压值大于60V,电流大于2.5A。T为E-16型升压变压器;SQ用微型震动传感器,型号为TK-51。SA为锁控开关。电源用一节9V层叠电池,可使用6个月以上。
安装说明
图2是DY-201型自行车防盗报警器整机外形图,外壳采用强度高、韧性好的塑料并一次注塑成型,设计独特,美观实用,具有较强的防破坏性。使用时,通过安装尾翼将报警器固定在自行车的适当位置即可。

当自行车停稳后,用钥匙闭合开关。当歹徒动手搬动自行车时,报警器立即发出约95dB的报警音响,可有效地防止自行车失盗。
在使用时发现报警声音量减小或灵敏度降低。应及时更换电池,以保证报警器的正常使用。
宏业电子元器件经销部供:DY-201型自行车防盗报警器,27元/只,邮费5元。地址:安徽省蚌埠市宏业三村18楼1单元3号,电话:0552-3927185,3923879(白天),3934106(晚)。 (李建华)