本文介绍的自动报警“防盗犬”具有灵敏度高,安全可靠,耗电省的特点,可作为家庭防盗、照顾儿童的得力助手。同学们通过这个有趣的制作,可以初步了解和掌握光控电子开关和语音电路的基本原理。
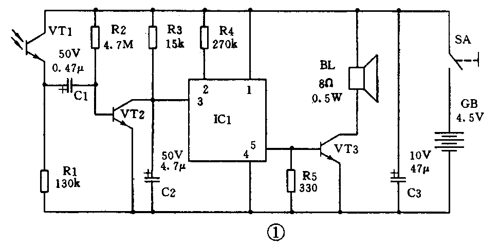
自动报警“防盗犬”的整个电路由光控电子开关和狗叫声语音集成电路两大部分组成。图1是电路原理图VT1、VT2及R1、R2、R3、C1、C2等构成光控开关电路,IC1及VT3、R4、R5等构成狗叫声电路。

图1中的VT1为光敏三极管,平时在周围环境光源照射下,它等效为低阻值电阻器。VT2的基极通过R2接正电位而导通,IC1语音集成电路得不到正触发脉冲不工作。当VT1被物体遮挡时,就产生一负脉冲电压,通过C1耦合到VT2的基极,导致VT2截止,IC2语音集成电路获得一正触发脉冲而工作,输出音频信号通过VT3放大后推动扬声器BL发出“汪、汪、汪”的狗叫声,起到威慑盗贼的作用,令其闻声逃遁。如果将电子“警犬”置于阳台或窗门等处,还能起到阻止儿童攀登,达到协助家长看护小孩的目的。
IC1选用MSS0287-29狗叫声语音集成电路;VT1用3DU5型光敏三极管;VT2、VT3均采用9013型等硅NPN三极管,β≥100;R1~R5为1/8W碳膜电阻器;C1~C3为小型铝质电解电容器,耐压值参见图1;BL选用YD57-1型8Ω、0.5W电动扬声器;SA为小型拨动开关。电源用3节5号电池。图2是印制电路板图,语音集成电路直接软封装在印制板上,故能使电路结构紧凑小巧。

选择好元器件,接下来就可动手制作。将元器件逐一焊接在图2印制板上,用两根导线引出光敏三极管,然后安装在狗模型的脖子上,电路板连同电池盒装在底部。最后安装电池,接通电源开关,用手遮住光敏感应开关,扬声器应发出狗叫声。至此,自动报警“防盗犬”的制作即告成功。 (王南阳)