山西 路遥:一台收录机中功放电路KD-28不慎烧坏,无法买到同型号电路,有无可以代换KD-28的常用功放?
功放KD-28的各引脚功能为①同相输入A、②反相输入A、③输出A、④电源Vcc、⑤输出B、⑥接地、⑦反相输入B、⑧同相输入B。KD-28目前市场上似乎见不到其踪影,但它可以用极易得到且价格低廉的功放TDA2822M按下表改动代换之。
KD-28 1 2 3 4 5 6 7 8
TDA2822M 7 8 1 2 3 4 5 6
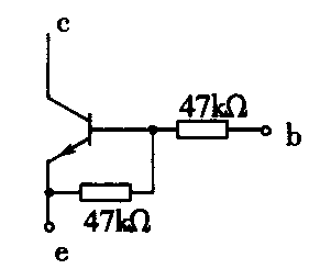
广州 未明:一台索尼VCP-4301D放像机带盘旋转检测信号放大管KN1204损坏,找不到同型号管,怎么办?
KN1204是录像机用的NPN型QR三极管,它可以用DTC144、UN1213、UN2213、2SC3399及RTIN4415等来直接代换。如果它们均无法找到,则可以取一只极易得的NPN管3DA87和两个47kΩ电阻,按左图组装成QR三极管来代换KN12O4。

辽宁 任相东:一台兰海LH-928W影碟机中的KA4558损坏,能否找到代用的集成电路?
KA4558是韩国三星(SAMSUNG)的双运算放大器,其①为放大A输出,②为放大A反相输入,③为放大A同相输入,④为接地端,⑤为放大B同相输入,⑥为放大B反相输入,⑦为放大B输出,⑧为电源Vcc,KA4558与IR4558、BA728、NJM4558、MC4558及μPC4558内部电路与引脚排列完全一样,故均可以直接互换之。
陕西 鲁彦群:一台电冰箱自动控制器中的双向可控硅TLC386A损坏,如何用其它可控硅来代换?
双向可控硅TLC386A是法国汤姆逊(THOMSON)公司的产品,其主要参数如下表。
最高反向电压(V) 700
最大稳定工作由流(A) 3.0
触发电流(mA) 5~1O
触发电压(V) 3.0
最大维持电流(mA) 8.0
最大关断电流(A) O.75
最大导通电流(A) 4.0
关断时间(μs/V) 4O
恢复时间(μs/V) 20
因此,TLC386A可以用极易得到的3A600V双向可控硅直接代换。
河北 张学龙:一台放音机中的集成电路KA22134损坏,无法买到同型号件,能否找到代用的集成电路?
KA22134是韩国三星(SAMUNG)公司的单片放音机专用集成电路,内含双通道前置放大、功放和电子音量控制电路等。其(1)脚为接地端、(2)脚为A通道前放输入端、(3)脚为A通道前放负反馈输入端、(4)脚为A通道放输出端、(5)脚为A通道音量控制输入端、(6)脚为电源滤波端、(7)脚为A通道功放输出端、(8)脚为接地端、(9)脚为电源Vcc、(10)脚为B通道功放输出端、(11)脚音量控制输入端、(12)脚为B通道音量控制输入端、(13)脚为B通道前放输出端、(14)脚为B通道前放负反馈输入端、(15)脚为B通道前放输入端、(16)脚为基准电压输出退耦端。
KA22134与易得的东芝公司的TA8119P的主要性能、引脚排列和应用电路等均相同,故它们可以互换。
内蒙古 刘得意:一台收录机中的动放电路μPC1181H3损坏,它可以用什么样的集成电路来代换之?
μPC1181H3是12W单声道功放,采用单列7脚封装,其①脚为输入端、②脚为旁路端、③脚为反馈端、④脚为地、⑤脚为输出端、⑥脚为自举端、⑦脚为电源Vcc端。μPC1181H3可以用μPC111182H3直接来代换。
黑龙江 王书文:一台NECFS-2179PDN彩电的行输出管BU2508击穿,买不到同型号三极管,如何代换之?
BU2508的主要参数同常用的行输出管差不多,且含阻尼二极管,因此可以用极容易得到的D1397、D1398、D1426、D1427等直接代换,即可使彩电正常工作。
新疆 郭文模:一台P-350型卫星接收机中开关电源部分的开关管K1507损坏,无法找到同样的管子,如何代换之?
K1507是一只大功率场效应管,其漏源短路时栅-源击穿电压V\(_{GSS}\)=800V,栅源短路时的漏极电流IDSS=3A,漏极最大耗散功率P\(_{CM}\)=75W,因此它可以用极易得到的2SK1611、2SK1198(日立VT-M757等录像机采用的电源开关管)直接代换K1507。
广东 严荫荣:一台立体声收录机的功放IC TDA7050T损坏,请介绍其引脚功能及其代换型号?
TDA7050T的①脚为同相输入Ⅰ端,②脚为反相输入Ⅰ端,⑦脚为输出Ⅰ,③脚为反相输入Ⅱ,④脚为同相输入Ⅱ,⑥脚为输出Ⅱ,⑤脚接地,⑧脚为电源Vcc。TDA705OT目前已无法买到,它可以用极易得的功放集成电路TDA2822M按下表改动代换。
TDA7050T 1 2 3 4 5 6 7 8
TDA2822M 7 8 1 2 3 4 5 6
改动代换后,(1)把TDA2822M的⑤脚、⑧脚与地之间分别串连一只47μF/16V电容,且其负极接地:(2)在①、③脚与地之间接一只0.1μF电容和4.7Ω电阻串联而成的相位校正网络,收录机即可正常工作。 (本期问题由汤志成同志解答)