在实际电路中,我们要用到各种信号发生器(这里的信号指的是具有一定频率的正弦交流信号),如广播、电视系统中,要用高频信号作为音频(低频)和视频信号的载波,将广播和电视信号发射出去,这就需要能产生高频信号的振荡电路。振荡电路就是通过自激方式把直流电能变换为交流电能的电路。
图1为振荡电路的原理框图,其中A为放大器,F为具有选频作用的正反馈网络。振荡电路一般包含以下四个部分:(1)放大电路;(2)正反馈电路;(3)选频电路(决定振荡信号的频率);(4)直流电源(为振荡电路提供能源)。从振荡电路的特性来看,电路必须有放大作用,即整个电路电压放大倍数大于1(AF5⒁胝蠢。ǚ糯蟮缏酚敕蠢〉缏废辔恢偷扔2nπ)电路,这就是振荡电路的自激振荡条件。

正弦波振荡电路按选频电路的构成元件来分,可分为RC振荡电路、LC振荡电路和晶体振荡电路。
1.LC振荡电路
图2是一个典型的LC正弦波振荡电路,它由放大电路、选频电路和反馈电路组成。其振荡过程是:电路电源接通的瞬间,在N1与C并联振荡的回路中激起一个弱小的电磁振荡,振荡电流流经N1时在磁芯中产生交变磁通,使N2产生感应电动势U\(_{i}\),Ui经电容器Cb耦合到三极管VT的基极,使放大器获得输入信号,经三极管的放大作用,加强了集电极LC振荡回路中的振荡信号。这样,经多次放大→反馈过程,振荡信号的幅值越来越大,最后受三极管非线性的限制,在某个数值上稳定下来,从而在电路中产生等幅振荡。

电路最初激起的微小电流变化是一个非正弦量,它包含一系列频率不同的正弦分量,其中总有一个与LC并联电路的谐振频率f\(_{0}\)相等或相近的分量,使LC并联电路与之发生谐振。对频率f0而言,在N1两端产生的电压降最大,经变压器耦合,在N2两端产生的该频率的感应电动势也最大,而其他频率成分的分量却很小,经多次放大→反馈的过程后频率f\(_{0}\)的分量不断增大,最后在某个幅值上稳定下来,使电路获得频率为f0的正弦波,而非f\(_{0}\)的其他分量则不断减小,直至消失。上述的振荡频率f0=1/2π\(\sqrt{LC}\),改变参数L和C,即可改变振荡电路输出信号的频率。
图3为电容三点式振荡电路,L与C1和C2组成振荡电路的谐振回路,反馈电压从电容C1两端取出,为满足起振条件,需将管子的β值选得大些(如几十),取C2/C1=0.01~0.05,在实用中也可取C1=C2,则频率f\(_{0}\)=1/2π\(\sqrt{LC1C2}\)/(C1+C2)。

为方便使用,将一可调电容并联到L的两端,这种振荡电路的频率范围可从几百千赫到100MHz,通常用于调幅或调频收音机,它利用同轴电容器来调节振荡频率。如果在图3中用L1、L2代替C1、C2,用C代替L,则构成电感三点式LC振荡电路。
2.RC振荡电路
振荡频率f\(_{0}\)小于1MHz的振荡电路多采用电阻和电容组成的RC选频电路。图4为RC桥式振荡电路,它由放大器AV和选频网络F\(_{V}\)组成,AV由集成运放组成电压串联负反馈放大器,取其输入阻抗高和输出阻抗低的特点。F\(_{V}\)由Z1、Z2组成,同时兼作正反馈网络。Z1、Z2和R1、R2正好组成一个四臂电桥,电桥的对角线顶点接到放大器的两个输入端。其工作原理是:RC串并联电路具有选频特性,当f=f0时,F\(_{V}\)=1/3,其AV>3时,A\(_{V}\)FV>1可保证自激振荡条件,在A\(_{V}\)略大于3时能产生单一频率的正弦波,其振荡频率为:f0=1/2πRC,频率范围从1Hz~1MHz。

在实际应用时,负反馈电路的电阻R2常采用负温度系数热敏电阻,以实现自动调节负反馈的强弱,以改善振荡波形和稳定输出电压的幅度。热敏电阻自动调节幅度的过程为:输出电压↑→热敏电阻R2的电流↑→使R2的温度↑→电阻值↓→负反馈作用↑→放大电路的幅度倍数↓→输出幅值↓。R2有时直接采用低稳定系数的电阻。RC桥式振荡电路的主要优点是:可以方便地得到较宽的自激振荡频率,且工作稳定,输出波形失真小。
3.石英晶体振荡电路
石英晶体振荡电路是LC振荡电路的一种特殊形式,其频率稳定度可高达10\(^{-}\)7~10-10。LC振荡电路,其相对频率稳定度大约为2×10\(^{-}\)2(Δf/f),若采取稳定措施,其Δf/f可达10-3。
许多应用场合,要求振荡电路有更高的频率稳定度,如广播发射机的频率稳定度要求高于10\(^{-}\)5;某些精密信号发生器和作频率标准的振荡电路,如频率计,稳定度要求达到10-6~10\(^{-}\)8,通常还需外加恒温装置。
石英晶体所以能用于振荡电路是基于它的压电效应(在晶体的两个极板间加电场,会使晶体产生机械变形,反之在极板间施加机械力,又会在相应的方向上产生电场)。当外加交变电压的频率与晶片的固有频率(取决于晶片的尺寸)相等时,机械振动的幅度将急剧增加,这就是压电谐振。
压电谐振的等效电路如图5所示,晶体谐振器是一个复谐振电路,它有两个谐振频率,一个是由LC串联支路形成的串联谐振频率f\(_{s}\)。另一个是由L、C、C0并联回路形成的并联谐振频率fp。f\(_{s}\)=1/2π\(\sqrt{LC}\),fp=f\(_{s}\)1+C/C0。

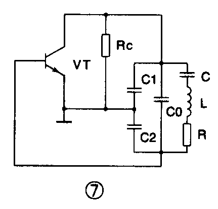
因为C《C0,故f\(_{s}\)与fp很相近。石英晶体谐振频率被限定在f\(_{s}\)至fp的狭窄范围内,对应于这两个谐振频率,石英晶体又可分为并联型和串联型石英晶体振荡电路。并联型用得更多些,如图6所示。使用时将石英晶体作为一个电感性元件,和电容C1和C2构成选频回路,频率f=f\(_{p}\)。石英晶体作为放大器的负载,对应于频率为fp的信号取得最大电压,正反馈电压从电容C1和C2分压后,直接送到晶体管的基极,形成电容三点式振荡电路,其等效电路见图7。由于C1和C2比C0大得多,而C0比C大得多,所以电路的振荡频率为f\(_{o}\)=1/2π\(\sqrt{LC}\)c≈1/2πLC,式中C\(_{C}\)=(1/C1+1/C2+1/C)\(^{-}\)1。


正弦波振荡电路主要有RC型和LC型两大类,一般从相位和幅度平衡条件来计算振荡频率和放大器所需的放大倍数。而石英晶体振荡电路是LC振荡电路的一种特殊形式。由于晶体等效谐振回路的Q值很高,因而振荡频率有很高的稳定性。(洪荣晶 张文锦)