大奖赛的目的:
1.培养广大音响爱好者对晶体管放大器的兴趣。设计和动手制作能力;
2.鼓励设计出具有东方文化特色的“中国声”晶体管放大器精品;
3.推动国内晶体管放大器电路的优化和发展。
参赛对象:
广大电子爱好者、音响摩机爱好者、音响产品设计工作者。
大奖赛评委会:
管善群 翁泰来 于建兵 刘晓骏
黄树祥 李 军 王维民 黄 彤
参赛方法:
1.参赛者必须以“凤之声”、“钟神”晶体管功放机电路(参见附录)为基础,对原电路做有效的改进和摩机,或有创新的功放电路设计。参赛者需将晶体管放大器的改进、设计、制作及心得体会撰写成文字资料,用稿纸卷写清楚,图纸请用A4纸绘制。如有条件,可附照片和测试数据,参赛者请寄原稿,复印件无效。
稿件寄至:北京崇文区夕照寺街14号,《无线电》大奖赛评委会,邮编100061
2.为方便大家参赛,特优惠供应“凤之声”和“钟神”晶体管功放的元器部件或套件。
3.竞赛时间:自即日起至1998年5月30日止(以当地邮戳为准)。
4.大赛分初赛及决赛两个阶段。
初赛:6月30日初评调样;评委会从参赛稿件中选出入围作品100名。
决赛:评委会从入围稿件中评审出设计科学合理、有独到之处、制作认真、文章及图表资料齐全者,评委会则调样品评比。在评比中,采取仪器进行客观测试及主观听音评价相结合的办法,评出一、二、三等奖,获奖名单在《无线电》、《高保真音响》刊出,并择优刊登一、二等奖作品。
奖励方法:
一等奖2名:香港五天游(全包等值6800元)
二等奖5名:广东台山市上川岛优美浪漫的飞沙滩游(全包等值3800元)
三等奖95名:凤之声牌KK210A精密步进音量电位器一个
以上内容之解释权在本大奖赛组委会,并且组委会保留根据客观需要进行调查的权利,未尽事宜由组委会酌定。
资料附录-
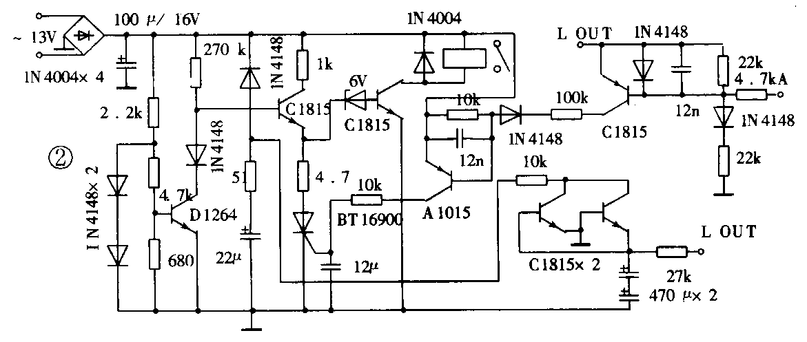
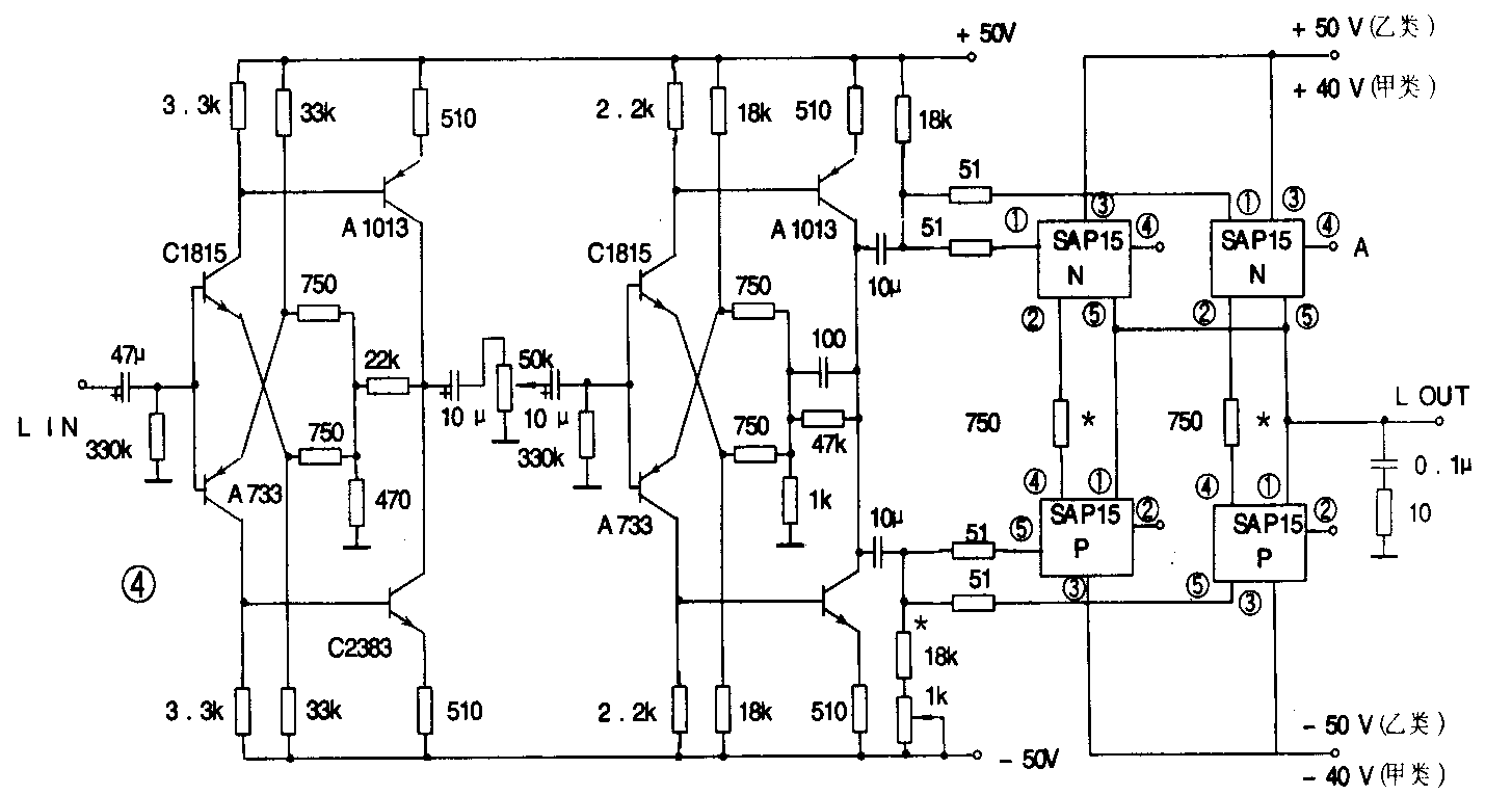
因为这次大奖赛是以“凤之声”、“钟神”晶体管功放机电路为基础,进行改进、摩机和创新设计的。因此,这里将该功放的整机电路刊登出来,附图分别示出该机采用的并联稳压电源(图1)。过压过流及过热保护电路(图2)、SAP15对管的外形及电路和参数(图3)、功率放大器电路(图4)。参赛者可根据电路的结构形式、元器件参数等,对电路进行消化理解,以进一步提高该机的性能。




器件说明:SAP15对管是三肯株式会社最新推出的大功率管。该管采用最新发明的TRAITR(高速热反应型半导体),其内部装有可以稳定功率三极管工作的温度测试、修正电路。细小的音量时也很少失真,而且增加了声音的渗透力。以前稳定大功率管的做法是将补偿管接在功率管旁边,这样补偿管在受温均衡度和速度上都要有一定的时间,故而必须等到温度充足之后,才能均匀放大输出音乐信号。SAP15就完全没有这种弊端。