编者按:台湾省《无线电界》杂志在台湾有着广泛的影响。通过交流合作,他们愿将台湾青少年喜欢的电子小制作资料提供给我们。我们从中选编了一部分简单、实用、富有启发意义的电子小制作,自本期起陆续刊载,供广大电子爱好者学习制作。在此,谨向台湾省《无线电界》杂志社的黄华容社长及其同仁致以诚挚的谢意!
磁场检测器

磁簧开关(又称干簧管磁控开关)具有受磁力线感应而使接点闭合的作用。利用磁簧开关作传感器,可以制作一个简单的磁场检测装置,电路如附图所示。当磁簧开关受到外磁场磁力线作用而闭合时,小型晶闸管(可控硅)VS的控制极得到触发信号,晶闸管导通,电流流过发光二极管VD使其发光。需要注意的是,当磁控开关离开磁场而断开时,晶闸管依然导通,VD会持续发光,只有切断电源才能使VS关断。进行实验时,可将永久磁铁靠近磁簧开关,发光二极管如即刻点亮,说明电路接线正确。
自动调光器

硫化镉光敏电阻(R3)是种随光线强弱而改变阻值的敏感元件,利用它作为光传感器,可以制作简单的调光器,如附图所示。当开关A闭合时,白炽灯泡HL点亮。若室内的光线或灯光变暗时,光敏电阻阻值变大,注入三极管的基极电流I\(_{B}\)增大,经三极管的电流放大,使流过HL的集电极电流IC随之增加,灯光自动变亮:如果室内光线过亮,光敏电阻的阻值减小,灯光会自动变暗。
门窗防盗报警器

附图是一种使用晶闸管与磁簧开关的门窗防盗报警电路。将开关SA闭合,磁铁E靠近磁簧开关,则磁簧开关接通,三极管VT的基-射极间短路,处于截止状态。此时,射极电阻R1上的电压降为零,晶闸管VS因控制极无触发电压而不能导通,蜂鸣器HA不发声。使用时,将磁铁和磁簧开关分别装在门框和大门边沿,使它们相互靠近。平时将门紧闭使磁簧开关接通,一旦大门被意外打开,使磁铁与磁簧开关远离,则开关接点断开,三极管VT有基极电流注入而导通,发射极电流在R1上的电压降将触发VS,VS的阳极电流通过蜂鸣器HA使之鸣响报警。即使将门关上,蜂鸣器仍会响个不停,只有断开开关SA,才能令它停鸣。
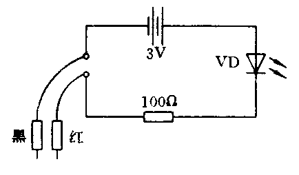
简易导通试验器

利用发光二极管,可以制作一个简易导通试验器。按附图将发光二极管VD与电池和电阻连接好,只要将测试棒的前端搭触,VD就会发光。在检查线路的绝缘导线的线芯是否断线时,只需将测试棒贴靠在想要加以检查的导线两端,若VD不亮,表示该导线断线。由于发光二极管只要通以微小的电流即可发光,所以用这个电路检测白炽灯泡或日光灯的灯丝是否断开也是十分有效的。
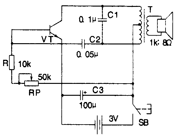
电子猫

利用晶体管低频振荡器可以制作一个能发出猫的叫声的电路,加附图所示。按图搭接好电路,按下按钮开关SB,就会有声音从扬声器发出。接着放开按钮开关;虽然切断了电源,但大容量电解电容器C3将向电路放电,声音并不立即消失,而是逐渐减小。转动电位器RP的旋钮,声音的高低和音色都会随着改变。如果边调节RP,同时按下又放开按钮开关,将会有各式各样有趣的声音发出来。这样边操作边调整,可以获得猫叫的模拟声,几乎能够以假乱真呢。电路中的变压器可选用半导体收音机的输出变压器,扬声器阻抗为8Ω。
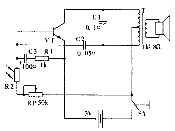
电子小鸟

将上述“电子猫”电路稍加变动,就成为一个能发出鸟叫声的电路。会上电源开关SA,扬声器就会有声音发出,调节电位器RP到某一点时,就可以听到“哔哟、哔哟、哔哟”的雏鸟啼叫声。改变RP的阻值,啼叫声的快慢将会改变。电路的工作原理是:开关SA闭合后,电池通过RP与R1、R2向电容器C3充电,电容器两端的电压逐渐上升,升高到一定数值时,三极管VT导通,低频振荡器开始工作,发出鸟叫声,电容器通过三极管的b-e结放电,放电完毕后,振荡器停止工作。于是电容器C3再次充电……,如此周而复始地进行下去。若把C3由图中的100μF换成更大容量,可做出不同啼叫声的电子小鸟。
夜间不啼叫的电子小鸟

把“电子小鸟”电路中的电阻R2,换成一只硫化镉光敏电阻R2,就成为一种夜间不再啼叫的电子小鸟。当开关SA闭合后,鸟叫声就可发出来。在明亮的地方,叫声显得活泼而有生气,发出的是响亮急促的啼叫。当周围环境暗下来的时候,叫声变得缓慢而低弱。一片漆黑,声音即完全消失。
电子节拍器

电子节拍器是由晶体管间歇振荡器组成的,如附图所示。合上开关SA,扬声器将会发出有节奏的“噗、噗”的断续声。调节电位器RP,使声音的节奏符合曲子的拍子,就成为电子节拍器。声音的快慢,取决于电路中的电容器G2的容量和R与RP的总阻值。因此,通过调节RP,可以改变声音的快慢。(本刊)