当收音机发生“啸叫”或杂音等故障时,可以用电容器分别将某三极管的基极和集电极与地短路来查找故障点。若在短路后故障消失,就表明故障点在该级之前;若短路集电极时故障依旧存在,就表明故障是在该级之后;若短路基极时故障依然存在,而短路集电极时故障消失,则表明故障在本级。
这种用导线或其它元件人为地将电路中共一点与地短路,根据故障现象是否消失(即观察图像、声音、电压等变化情况)来查找故障所在部位的方法称之为短路判别法,又叫短路试验法。
短路判别法由于使用材料不同,又可分为两种:一种是前面所说的用电容器等元件短接电路,叫做交流短路法;另一种是用导线或其它金属短接电路,叫做直接短路法。在实际检修时可以根据电路特点选择其中的一种。
这种判别法适用于判断各种电气设备的振荡电路是否起振、音响电路的噪声和哼声来源,彩电中色解码器的亮度通道、ACC和消色电路,查找示波器亮点偏离等电器故障。例如当一台电子管(或晶体管)扩音机在既无话筒信号又无电唱、收音信号的情况下,发生啸叫现象时,可以从前置放大器开始,逐级向后将电子管的栅极(或晶体管的基极)对地短路,当短路到某一级时啸叫消失,说明故障在该级附近,非常方便、有效。
在实际应用中需要注意:①短路法一般只适用于低电压、小电流电路,在高电压、大电流的电路中必须慎用;③由于电路中的晶体管、集成电路的各引脚非常靠近,短路时应避免碰到相邻引脚,以免造成新的故障;③用此法检修无电源变压器或开关式电源的电器时,应在电器与市电之间串入隔离变压器后才能进行检修工作,以免损坏器件或造成人身触电。
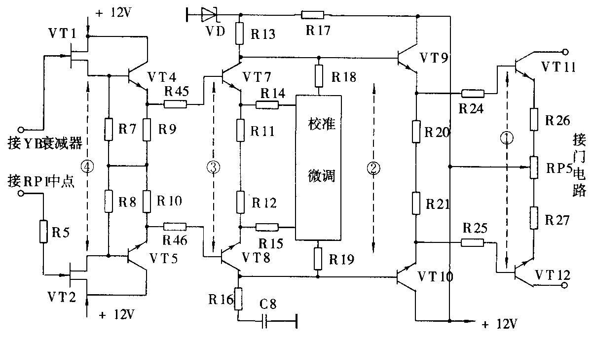
下面再介绍一个应用短路判别法的实例。
【机型与故障现象】SR-8型双踪示波器,Y\(_{a}\)通道无光点或波形显示,Yb通道正常。
【分析与检修】Y\(_{b}\)通道工作正常,说明高频高压单元、Y轴电子开关、后置放大电路以及X轴电路都工作正常,问题很可能是由于Ya前置放大电路不平衡造成的。因为Y\(_{a}\)与Yb两通道电路对称,遂用Y\(_{b}\)前置板替换Ya前置板,屏显恢复正常,由此表明Y\(_{a}\)板的确有问题。再插回有故障的Ya前置板,用导线短路VT11和VT12两只管子的基极,此时屏显有光点,说明故障在该级之前。一直用短路法查到VT4和VT5的基极如附图中虚线所示(虚线上的数码表示短路的先后顺序),仍然有显示,故怀疑VT1和VT2损坏,当用新3DJ7E管换下这两只管后,机器恢复正常。 (刘春江)
